欢迎来到知嘟嘟! 联系电话:13336804447 卖家免费入驻,海量在线求购! 卖家免费入驻,海量在线求购!
知嘟嘟
我要发布
联系电话:13336804447
知嘟嘟经纪人
收藏
专利号: 2020205445873
申请人: 潘波波
专利类型:实用新型
专利状态:已下证
专利领域: 水利工程;基础;疏浚
更新日期:2024-02-23
缴费截止日期: 暂无
价格&联系人
年费信息
委托购买

摘要:

权利要求书:

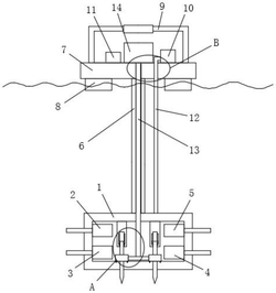
1.一种浅海区域沉浮式水工建筑物地基监测装置,包括监测盒(1),其特征在于,所述监测盒(1)内固定连接有孔隙水压力设备(2)、倾斜角监测设备(3)、竖向位移监测设备(4)和数据采集设备(5),监测盒(1)的顶部固定安装有固定柱(6),固定柱(6)的顶部固定安装有顶板(7),顶板(7)的底部固定安装有多个浮块(8),所述顶板(7)的顶部固定安装有提杆(9),顶板(7)的顶部固定安装有数据输送连接头(10),数据输送连接头(10)上固定连接有连接线(12),连接线(12)的一端固定连接在数据采集设备(5)上,所述监测盒(1)的底部内壁上开设有两个滑孔,两个滑孔内均滑动安装有丝杆(17),两个丝杆(17)的底端均固定安装有插杆,两个丝杆(17)上均螺纹安装有第二齿轮(18),两个第二齿轮(18)均转动安装在监测盒(1)的底部内壁上,所述监测盒(1)内转动安装有转动杆(13),转动杆(13)的底端固定安装有第一齿轮(15),两个第二齿轮(18)均与第一齿轮(15)啮合,转动杆(13)的顶端固定安装有调节座(14),调节座(14)转动安装在顶板(7)的顶部。

2.根据权利要求1所述的一种浅海区域沉浮式水工建筑物地基监测装置,其特征在于,所述固定柱(6)的顶端开设有转动孔,转动杆(13)转动安装在转动孔内。

3.根据权利要求1所述的一种浅海区域沉浮式水工建筑物地基监测装置,其特征在于,所述监测盒(1)的顶部内壁上固定安装有两个安装柱(16),两个安装柱(16)的底端均开设有固定槽(19),丝杆(17)滑动安装在对应的固定槽(19)内。

4.根据权利要求3所述的一种浅海区域沉浮式水工建筑物地基监测装置,其特征在于,所述固定槽(19)的两侧内壁上均开设有滑槽,丝杆(17)上固定连接有两个滑块,滑块滑动安装在对应的滑槽内。

5.根据权利要求1所述的一种浅海区域沉浮式水工建筑物地基监测装置,其特征在于,所述监测盒(1)的底部内壁上开设有环形槽,第二齿轮(18)的底部固定安装有移动块,移动块与环形槽的侧壁滑动连接。

6.根据权利要求1所述的一种浅海区域沉浮式水工建筑物地基监测装置,其特征在于,所述顶板(7)的顶部固定安装有定位器(11)。