欢迎来到知嘟嘟! 联系电话:13336804447 卖家免费入驻,海量在线求购! 卖家免费入驻,海量在线求购!
知嘟嘟
我要发布
联系电话:13336804447
知嘟嘟经纪人
收藏
专利号: 202020487723X
申请人: 金华职业技术学院
专利类型:实用新型
专利状态:已下证
专利领域: 开启或封闭瓶子、罐或类似的容器;液体的贮运
更新日期:2023-08-24
缴费截止日期: 暂无
价格&联系人
年费信息
委托购买

摘要:

权利要求书:

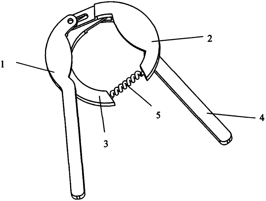
1.一种罐头瓶盖开启装置,包括装上夹杆(1)、上夹环(2)、下夹环(3)和下夹杆(4),其特征是:上夹杆(1)由上夹杆臂(11)和圆弧状结构的上夹杆扣环(12)组成,在所述上夹杆扣环(12)的一侧设有上夹杆封片(13),上夹杆扣环(12)的一端有销钉,该销钉与上夹环(2)的上夹环槽(22)配合,上夹环(2)成圆弧状结构,上夹环(2)的一侧设有上夹环封片(21),上夹环封片(21)和上夹杆封片(13)位置平行且厚度相同,所述上夹环(2)另一端通过弹簧(5)与下夹环(3)的一端连接,下夹环(3)成圆弧状结构,所述下夹环(3)另一端有下夹环槽(31),下夹杆(4)由下夹杆臂(41)和圆弧状结构的下夹杆扣环(42)组成,下夹杆扣环(42)一端设有销钉与所述下夹环槽(31)配合。