欢迎来到知嘟嘟! 联系电话:13336804447 卖家免费入驻,海量在线求购! 卖家免费入驻,海量在线求购!
知嘟嘟
我要发布
联系电话:13336804447
知嘟嘟经纪人
收藏
专利号: 2020204845741
申请人: 威海通佳电器有限公司
专利类型:实用新型
专利状态:已下证
专利领域: 发电、变电或配电
更新日期:2025-08-12
缴费截止日期: 暂无
价格&联系人
年费信息
委托购买

摘要:

权利要求书:

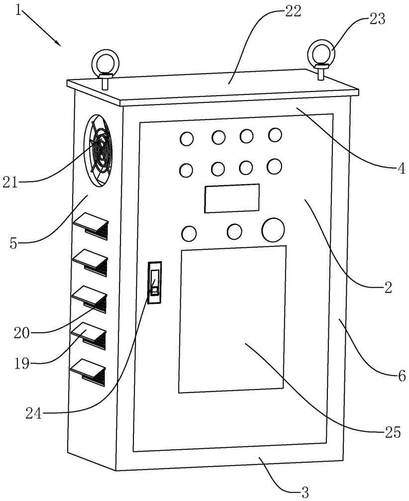
1.一种全封闭绝缘控制柜,包括柜体(1),其特征在于:所述柜体(1)包括前板(2)、底板(3)、顶板(4)、侧板一(5)和侧板二(6),所述前板(2)与侧板二(6)铰接,所述柜体(1)内连接有安装板(7),安装板(7)分别与侧板一(5)和侧板二(6)相连,安装板(7)上开设有若干电器安装槽(8),所述安装板(7)靠近安装槽(8)处连接有环形槽(9),所述安装槽(8)位于环形槽(9)内,所述前板(2)靠近安装板(7)的端面连接有与环形槽(9)相适配的环形凸条(10),所述环形槽(9)和环形凸条(10)均为绝缘材质。

2.根据权利要求1所述的一种全封闭绝缘控制柜,其特征在于:所述环形槽(9)为软质绝缘材质,所述环形凸条(10)连接有球销(11),所述环形槽(9)开设有与球销(11)相配合的圆槽(12),所述球销(11)与圆槽(12)插接。

3.根据权利要求1所述的一种全封闭绝缘控制柜,其特征在于:所述底板(3)开设有若干导线孔(13),所述安装板(7)远离前板(2)的端面连接有若干绝缘的隔线板(14),所述隔线板(14)位于安装槽(8)之间。

4.根据权利要求1所述的一种全封闭绝缘控制柜,其特征在于:所述环形槽(9)设有倒角。

5.根据权利要求1所述的一种全封闭绝缘控制柜,其特征在于:所述侧板一(5)和侧板二(6)靠近安装板(7)的端面均连接有绝缘板(16),所述绝缘板(16)沿高度方向等间距开设有若干螺孔,所述绝缘板(16)连接有若干螺杆(18),所述螺杆(18)穿过安装板(7)与螺孔螺纹连接。

6.根据权利要求1所述的一种全封闭绝缘控制柜,其特征在于:所述侧板一(5)下端部连接有若干倾斜的通风板(19),相邻的通风板(19)之间连接有防尘网(20)。

7.根据权利要求1所述的一种全封闭绝缘控制柜,其特征在于:所述侧板一(5)上端部连接有散热扇(21),所述顶板(4)上端面连接有吊装板(22),所述吊装板(22)连接若干吊环(23)。

8.根据权利要求1所述的一种全封闭绝缘控制柜,其特征在于:所述前板(2)连接有把手(24),所述前板(2)连接有透明的观察窗(25),所述前板(2)下端部靠近安装板(7)的端面连接有放置斗(26)。