欢迎来到知嘟嘟! 联系电话:13336804447 卖家免费入驻,海量在线求购! 卖家免费入驻,海量在线求购!
知嘟嘟
我要发布
联系电话:13336804447
知嘟嘟经纪人
收藏
专利号: 2020204696658
申请人: 东莞三特新材料科技有限公司
专利类型:实用新型
专利状态:已下证
专利领域: 基本上无切削的金属机械加工;金属冲压
更新日期:2025-02-11
缴费截止日期: 暂无
价格&联系人
年费信息
委托购买

摘要:

权利要求书:

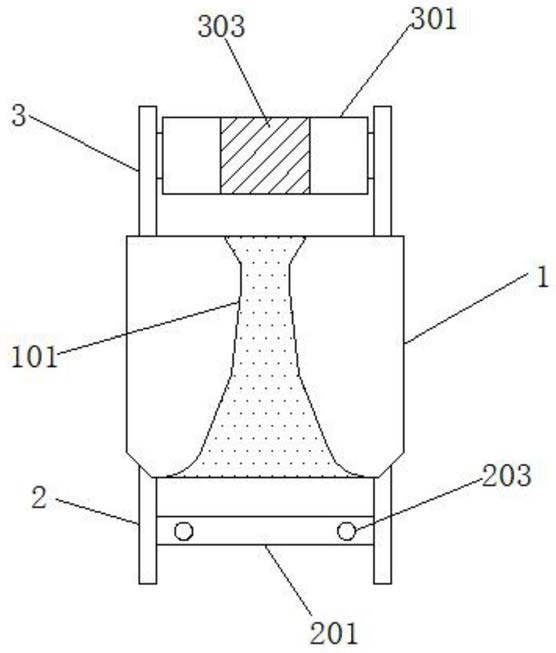
1.一种钨钢拉伸模胚,包括模体(1)和成型孔(101),所述模体(1)内部开设有成型孔(101),其特征在于:所述模体(1)一端对称固定连接有一号连接板(2),所述一号连接板(2)一侧活动连接有一号滑块(201),所述一号滑块(201)一侧活动连接有二号滑块(202),所述一号滑块(201)上方插接有螺栓(203),所述一号滑块(201)和二号滑块(202)表面均开设有半圆槽(204),所述半圆槽(204)内侧固定连接有弧形刀片(205),所述模体(1)另一端对称固定连接有二号连接板(3)一侧转动连接有一号辊筒(301),所述一号辊筒(301)一侧转动连接有二号辊筒(302)。

2.根据权利要求1所述的一种钨钢拉伸模胚,其特征在于:所述一号滑块(201)和二号滑块(202)均被螺栓(203)贯穿。

3.根据权利要求1所述的一种钨钢拉伸模胚,其特征在于:所述一号滑块(201)和二号滑块(202)表面开设的半圆槽(204)对称设置。

4.根据权利要求1所述的一种钨钢拉伸模胚,其特征在于:所述一号滑块(201)和二号滑块(202)两端均安装有滚轮(206)。

5.根据权利要求1所述的一种钨钢拉伸模胚,其特征在于:所述一号连接板(2)内侧表面开设有滑槽(207),且滑槽(207)与滚轮(206)相衔接。

6.根据权利要求1所述的一种钨钢拉伸模胚,其特征在于:所述一号辊筒(301)和二号辊筒(302)表面中部均开设有凹槽(303)。