欢迎来到知嘟嘟! 联系电话:13336804447 卖家免费入驻,海量在线求购! 卖家免费入驻,海量在线求购!
知嘟嘟
我要发布
联系电话:13336804447
知嘟嘟经纪人
收藏
专利号: 2020203543994
申请人: 淮阴师范学院
专利类型:实用新型
专利状态:已下证
专利领域: 工程元件或部件;为产生和保持机器或设备的有效运行的一般措施;一般绝热
更新日期:2023-11-20
缴费截止日期: 暂无
价格&联系人
年费信息
委托购买

摘要:

权利要求书:

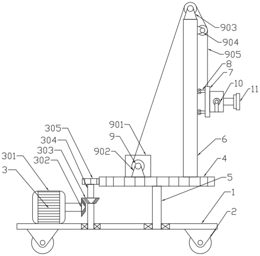
1.一种识别范围可调的人脸识别装置,包括底座(1),其特征在于,所述底座(1)上方安装有转盘(4),所述底座(1)上安装有用于带动转盘(4)转动的转向装置(3),所述转盘(4)上安装有支架(6),所述支架(6)上安装有升降板(7),所述转盘(4)上安装有用于带动升降板(7)上下移动的升降机构(9),所述升降板(7)上安装有倾角调节机构(10),所述倾角调节机构(10)上安装有人脸识别装置(11)。

2.根据权利要求1所述的识别范围可调的人脸识别装置,其特征在于,所述倾角调节机构(10)包括:安装块(101)、第三转轴(102)、手柄(103)和转接块(104),所述安装块(101)与升降板(7)相连,所述安装块(101)上转动连接有第三转轴(102),所述第三转轴(102)与转接块(104)相连,所述转接块(104)与人脸识别装置(11)相连,所述第三转轴(102)的一端与手柄(103)相连。

3.根据权利要求1所述的识别范围可调的人脸识别装置,其特征在于,所述转向装置(3)包括:第一电机(301)、第一锥齿轮(302)、第二锥齿轮(303)、第一转轴(304)和圆柱齿轮(305),所述第一电机(301)的输出轴上安装有第一锥齿轮(302),所述第一锥齿轮(302)的上侧安装有与之转动配合的第二锥齿轮(303),所述第二锥齿轮(303)安装于第一转轴(304)上,所述第一转轴(304)的顶部安装有圆柱齿轮(305),所述圆柱齿轮(305)与转盘(4)转动配合。

4.根据权利要求1所述的识别范围可调的人脸识别装置,其特征在于,所述升降机构(9)包括:第二电机(901)、第一滑轮(902)、第二滑轮(903)、第三滑轮(904)和吊线(905),所述第二电机(901)安装于转盘(4)上,所述转盘(4)的输出轴与第一滑轮(902)相连,所述第二滑轮(903)安装于支架(6)的顶端,所述第三滑轮(904)安装于支架(6)的右侧,所述第一滑轮(902)、第二滑轮(903)和第三滑轮(904)通过吊线(905)相连,所述吊线(905)与升降板(7)相连。

5.根据权利要求1-4任一项所述的识别范围可调的人脸识别装置,其特征在于,所述升降板(7)通过多个滚轮(8)与支架(6)滚动连接。