欢迎来到知嘟嘟! 联系电话:13336804447 卖家免费入驻,海量在线求购! 卖家免费入驻,海量在线求购!
知嘟嘟
我要发布
联系电话:13336804447
知嘟嘟经纪人
收藏
专利号: 2020203428835
申请人: 广东为民电气消防检测有限公司
专利类型:实用新型
专利状态:已下证
专利领域: 测量;测试
更新日期:2024-06-13
缴费截止日期: 暂无
价格&联系人
年费信息
委托购买

摘要:

权利要求书:

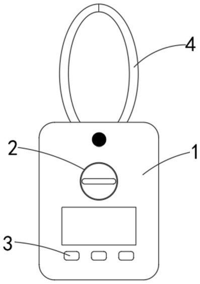
1.具有收线机构的电气回路检测用柔性电流钳,包括柔性钳本体(1)、旋钮(2)以及开关(3),所述旋钮(2)和开关(3)设置在柔性钳本体(1)一侧侧壁上,其特征在于,所述柔性钳本体(1)一端通过转轴铰动连接有一对匹配的钳头(4),且柔性钳远离旋钮(2)以及开关(3)的一侧固定设置有收线盒(5),所述收线盒(5)内转动连接有收线辊(6),所述收线辊(6)远离柔性钳本体(1)的一端向外贯穿收线盒(5)侧壁固定连接有转柄(9),且收线盒(5)侧壁与收线辊(6)连接处设置有匹配的轴承,所述收线盒(5)内还转动连接有多个绕线柱(7),所述收线盒(5)远离钳头(4)的一侧侧壁上设置有贯穿孔(11),所述收线辊(6)和绕线柱(7)上共同绕设有光纤线(8),所述光纤线(8)远离收线辊(6)的一端向外贯穿贯穿孔(11)固定连接有光纤头(12),所述光纤线(8)上固定套设有挡圈(13),所述挡圈(13)的直径大于贯穿孔(11)的直径,且挡圈(13)位于收线盒(5)外侧壁与光纤头(12)之间。

2.根据权利要求1所述的具有收线机构的电气回路检测用柔性电流钳,其特征在于,所述转柄(9)上螺纹连接有定位螺栓(10),所述定位螺栓(10)向上贯穿转柄(9)设置,且收线盒(5)下侧壁固定设置有与定位螺栓(10)匹配的定位孔。

3.根据权利要求1所述的具有收线机构的电气回路检测用柔性电流钳,其特征在于,所述柔性钳本体(1)外表面包裹有一层厚度均匀表面柔软的绝缘橡胶片。

4.根据权利要求1所述的具有收线机构的电气回路检测用柔性电流钳,其特征在于,所述贯穿孔(11)内壁光滑打磨处理,且收线盒(5)四周倒圆角。

5.根据权利要求1所述的具有收线机构的电气回路检测用柔性电流钳,其特征在于,所述收线盒(5)外侧壁与挡圈(13)相抵的位置带有磁性,且挡圈(13)与该处所带磁性相反。