欢迎来到知嘟嘟! 联系电话:13336804447 卖家免费入驻,海量在线求购! 卖家免费入驻,海量在线求购!
知嘟嘟
我要发布
联系电话:13336804447
知嘟嘟经纪人
收藏
专利号: 2020203424694
申请人: 宁波大学
专利类型:实用新型
专利状态:已下证
专利领域: 一般的物理或化学的方法或装置
更新日期:2023-08-24
缴费截止日期: 暂无
价格&联系人
年费信息
委托购买

摘要:

权利要求书:

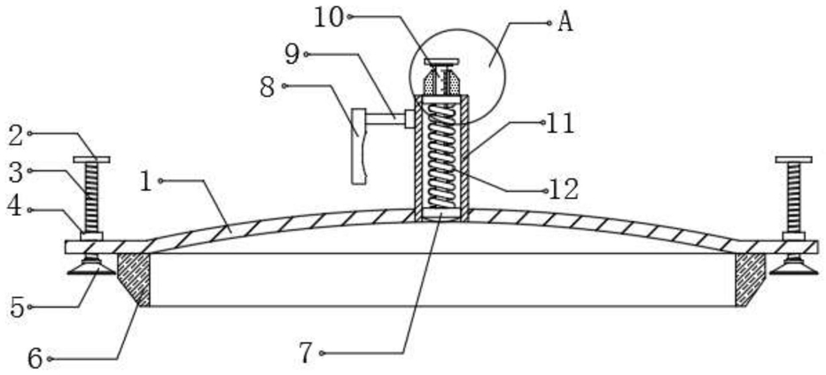
1.恒温水浴锅伸缩盖结构,包括盖体(1),其特征在于,所述盖体(1)顶部的中间位置固定连接有插筒(11),且插筒(11)的底部设置为开口,所述插筒(11)底部的内壁插接有活塞(7),且活塞(7)的外径与插筒(11)的内径相适配,所述活塞(7)顶部的中间位置固定连接有插杆(10),且插筒(11)顶部的内壁粘接有挡板(15),所述插杆(10)的顶部延伸至挡板(15)的上方,且插杆(10)的顶端固定连接有拉柄(13),所述挡板(15)与活塞(7)之间固定连接有弹簧(12),且弹簧(12)套接于插杆(10)的外部,所述盖体(1)的底部粘接有密封环(6)。

2.根据权利要求1所述的恒温水浴锅伸缩盖结构,其特征在于,所述密封环(6)底部的外径小于自身顶部的外径。

3.根据权利要求1所述的恒温水浴锅伸缩盖结构,其特征在于,所述插筒(11)一侧外壁的顶部焊接有连杆(9),且连杆(9)的一端固定连接有握柄(8)。

4.根据权利要求1-3任一所述的恒温水浴锅伸缩盖结构,其特征在于,所述插杆(10)一侧的顶部设置有刻度线(16),且挡板(15)顶部的中间位置焊接有指示环(14),插杆(10)插接于指示环(14)的内部。

5.根据权利要求1所述的恒温水浴锅伸缩盖结构,其特征在于,所述盖体(1)两侧的顶部均焊接有螺纹套(4),且两个螺纹套(4)的内部均螺纹连接有螺杆(3),两个螺杆(3)的底端均延伸至盖体(1)的下方。

6.根据权利要求5所述的恒温水浴锅伸缩盖结构,其特征在于,两个所述螺杆(3)的顶端均焊接有转柄(2),且两个螺杆(3)的底端均通过轴承转动连接有吸盘(5)。

7.根据权利要求1所述的恒温水浴锅伸缩盖结构,其特征在于,所述盖体(1)顶部的中间位置焊接有固定筒(17),且插筒(11)底部的外壁开设有外螺纹,插筒(11)螺纹连接于固定筒(17)的内部。

我要求购
我不想找了,帮我找吧
您有专利需要变现?
我要出售
智能匹配需求,快速出售