欢迎来到知嘟嘟! 联系电话:13336804447 卖家免费入驻,海量在线求购! 卖家免费入驻,海量在线求购!
知嘟嘟
我要发布
联系电话:13336804447
知嘟嘟经纪人
收藏
专利号: 2020202746949
申请人: 江苏科旭电气有限公司
专利类型:实用新型
专利状态:已下证
专利领域: 照明
更新日期:2024-07-22
缴费截止日期: 暂无
价格&联系人
年费信息
委托购买

摘要:

权利要求书:

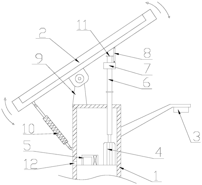
1.一种可调式太阳能路灯,包括中空结构的立柱(1)、设置在立柱(1)顶端的太阳能电池板(2)和设置在立柱(1)一侧的照明灯体(3),其特征在于:所述立柱(1)内上端的基座上安装有电机(4),所述电机(4)的一侧设有储控一体锂电池(5),所述电机(4)的输出端固接有穿过所述立柱(1)顶部的螺杆(6),所述螺杆(6)上套设有螺母(7),所述螺母(7)的一侧铰接有推拉杆(8),所述太阳能电池板(2)背部与设置在所述立柱(1)顶部的支撑座(9)相互铰接,所述推拉杆(8)的顶端与所述太阳能电池板(2)背部的上端铰接,所述太阳能电池板(2)背部的下端铰接拉伸弹簧(10)的一端,所述拉伸弹簧(10)的另一端铰接在所述立柱(1)的侧壁上。

2.根据权利要求1所述的一种可调式太阳能路灯,其特征在于:所述螺母(7)的顶端及中端分别设有限位盘(11)。

3.根据权利要求1所述的一种可调式太阳能路灯,其特征在于:所述立柱(1)内上端的基座一侧开设有排水孔(12)。