欢迎来到知嘟嘟! 联系电话:13336804447 卖家免费入驻,海量在线求购! 卖家免费入驻,海量在线求购!
知嘟嘟
我要发布
联系电话:13336804447
知嘟嘟经纪人
收藏
专利号: 202020250818X
申请人: 徐立飞
专利类型:实用新型
专利状态:已下证
专利领域: 基本电气元件
更新日期:2024-04-03
缴费截止日期: 暂无
价格&联系人
年费信息
委托购买

摘要:

权利要求书:

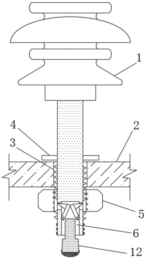
1.一种内置加强紧固机构的针式绝缘子,包括针式绝缘子本体(1)和横担(2),其特征在于:所述横担(2)的表面开设有第一安装孔(3),所述针式绝缘子本体(1)的底端插接在第一安装孔(3)中,且针式绝缘子本体(1)的底部杆体上套设有限位搭接环(4),针式绝缘子本体(1)的底部杆体上螺接有紧固螺帽(5),且针式绝缘子本体(1)的底部杆体上开设有对接槽(6),所述对接槽(6)的内壁上设置有固定片(7),所述固定片(7)的表面设置有横杆(8),所述横杆(8)贯穿活动板(9),所述活动板(9)的表面设置有加强突刺(10),所述加强突刺(10)插接在贯穿孔(11)中,所述贯穿孔(11)开设在针式绝缘子本体(1)的底部杆体上,对接槽(6)的内部插接有接头(12),所述接头(12)的外侧套设有塞入环(13),且接头(12)的表面设置有受击块(14)。

2.根据权利要求1所述的一种内置加强紧固机构的针式绝缘子,其特征在于:所述限位搭接环(4)呈圆环形结构,限位搭接环(4)搭接在横担(2)的上部,紧固螺帽(5)处于横担(2)的下部,针式绝缘子本体(1)的底部杆体上套设有箍筋(17)。

3.根据权利要求1所述的一种内置加强紧固机构的针式绝缘子,其特征在于:所述固定片(7)呈方形板状结构,固定片(7)设置有两组,两组固定片(7)关于对接槽(6)的开口中心对称分布,每组固定片(7)设置有两个,横杆(8)连接在两个固定片(7)之间,贯穿孔(11)与对接槽(6)相通。

4.根据权利要求1所述的一种内置加强紧固机构的针式绝缘子,其特征在于:所述接头(12)自上而下分为导入段、推进段以及塞入段,其中导入段和塞入段均呈台形结构,塞入环(13)的外径大于对接槽(6)的口径。

5.根据权利要求1所述的一种内置加强紧固机构的针式绝缘子,其特征在于:所述受击块(14)呈圆弧形结构,受击块(14)的表面开设有第二安装孔(15),第二安装孔(15)的内壁设置有牵拉杆(16),牵拉杆(16)与第二安装孔(15)的顶面之间设置有牵拉柱。