欢迎来到知嘟嘟! 联系电话:13336804447 卖家免费入驻,海量在线求购! 卖家免费入驻,海量在线求购!
知嘟嘟
我要发布
联系电话:13336804447
知嘟嘟经纪人
收藏
专利号: 2020201338389
申请人: 卢若琳
专利类型:实用新型
专利状态:已下证
专利领域: 农业;林业;畜牧业;狩猎;诱捕;捕鱼
更新日期:2023-07-13
缴费截止日期: 暂无
价格&联系人
年费信息
委托购买

摘要:

权利要求书:

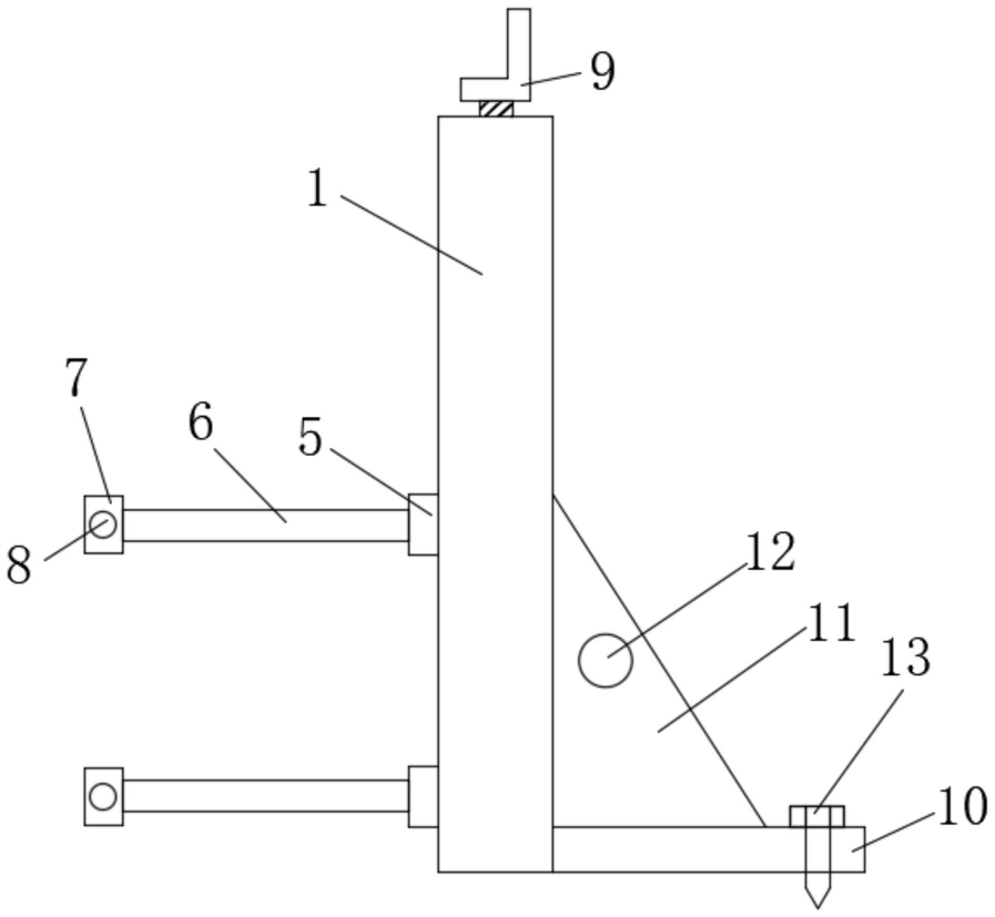
1.一种农业园林夹持机构,包括两个固定柱(1),其特征在于:所述固定柱(1)的内部开设有空腔,所述空腔的内部设置有丝杆(2),所述丝杆(2)的外侧螺纹连接有滑动座(3),所述固定柱(1)的一侧开设有滑槽(4),所述滑槽(4)内滑动连接有滑动块(5),所述滑动块(5)的一端与滑动座(3)固定连接,所述滑动块(5)的另一端位于固定柱(1)的外部并固定连接有第一夹持机构,所述第一夹持机构包括夹板(6)、固定块(7)和固定螺丝(8),所述夹板(6)的一端与滑动块(5)的另一端固定连接,所述夹板(6)的另一端固定连接有固定块(7),两个所述固定柱(1)上的固定块(7)之间通过固定螺丝(8)固定连接,所述固定柱(1)的一侧下端固定连接有第二夹持机构。

2.根据权利要求1所述的一种农业园林夹持机构,其特征在于:所述丝杆(2)的底端通过轴承座与固定柱(1)的底端内壁活动连接,所述滑动块(5)与滑槽(4)相适配。

3.根据权利要求1所述的一种农业园林夹持机构,其特征在于:所述丝杆(2)的顶端贯穿固定柱(1)的顶端并位于固定柱(1)的上方,所述丝杆(2)的顶端固定连接有把手(9)。

4.根据权利要求1所述的一种农业园林夹持机构,其特征在于:两个所述固定柱(1)的另一侧底端均固定连接有固定杆(10),两个所述固定杆(10)的上表面均固定连接有支撑板(11),两个所述支撑板(11)之间通过螺杆(12)固定连接。

5.根据权利要求4所述的一种农业园林夹持机构,其特征在于:所述固定杆(10)远离固定柱(1)的一端开设有安装孔,所述安装孔内设置有插杆(13)。

6.根据权利要求4所述的一种农业园林夹持机构,其特征在于:所述支撑板(11)的左侧与固定柱(1)的另一侧固定连接。

7.根据权利要求1所述的一种农业园林夹持机构,其特征在于:所述夹板(6)采用橡胶材质制成;

所述第二夹持机构的结构与第一夹持机构的相同。