欢迎来到知嘟嘟! 联系电话:13336804447 卖家免费入驻,海量在线求购! 卖家免费入驻,海量在线求购!
知嘟嘟
我要发布
联系电话:13336804447
知嘟嘟经纪人
收藏
专利号: 2020200976490
申请人: 宁波大学
专利类型:实用新型
专利状态:已下证
专利领域: 测量;测试
更新日期:2023-08-24
缴费截止日期: 暂无
价格&联系人
年费信息
委托购买

摘要:

权利要求书:

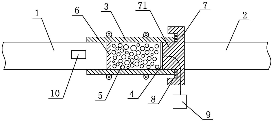
1.一种散体颗粒应力波衰减检测装置,其特征在于包括入射杆、吸收杆、套筒和压力传感器,所述的套筒内灌装有散体颗粒试样段,所述的入射杆伸入所述的套筒内,且所述的入射杆的端部与所述的散体颗粒试样段之间设置有垫板,所述的压力传感器抵在所述的散体颗粒试样段朝向所述的吸收杆的一端,所述的吸收杆与所述的入射杆同轴且抵在所述的压力传感器上,所述的压力传感器与显示器电连接,所述的入射杆上粘贴有应变片。

2.如权利要求1所述的一种散体颗粒应力波衰减检测装置,其特征在于:还包括保护块,所述的保护块上一体设置有柱形凸台,所述的柱形凸台伸入所述的套筒中且抵在所述的压力传感器上,所述的柱形凸台上套设有橡胶垫,所述的套筒的端部抵在所述的橡胶垫上,所述的吸收杆抵在所述的保护块上。

3.如权利要求1所述的一种散体颗粒应力波衰减检测装置,其特征在于:所述的套筒由两个半套筒组成,两个所述的半套筒之间通过锁扣或螺栓固定。