欢迎来到知嘟嘟! 联系电话:13095918853 卖家免费入驻,海量在线求购! 卖家免费入驻,海量在线求购!
知嘟嘟
我要发布
联系电话:13095918853
知嘟嘟经纪人
收藏
专利号: 2020115484807
申请人: 南昌洋深电子科技有限公司
专利类型:发明专利
专利状态:授权未缴费
专利领域: 基本电气元件
更新日期:2024-02-17
缴费截止日期: 暂无
价格&联系人
年费信息
委托购买

摘要:

权利要求书:

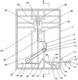
1.一种间接接触式电开关,包括电气柜(1),电气柜(1)设置有柜门(35),所述电气柜(1)内通过第一横条(30)安装有断路器(26),所述断路器(26)上设置有断路器手柄(27),断路器(26)用于控制铜排(25)上电流的通断,其特征在于:所述断路器手柄(27)设置在断路器(26)上远离柜门(35)的一端,断路器手柄(27)上固定连接有第三弹簧(28),所述第三弹簧(28)远离断路器手柄(27)的一端固定连接有第二横条(36),所述第二横条(36)两端与电气柜(1)侧壁固定连接,所述断路器手柄(27)远离第三弹簧(28)的一端固定连接绳体(3)的一端,所述绳体(3)另一端固定连接收纳轮(31)的外表面,所述电气柜(1)内还设置有齿轮(20),所述齿轮(20)用于带动收纳轮(31)转动,所述齿轮(20)下端设置有齿轮杆(21),所述齿轮杆(21)上表面中部设置有轮齿,齿轮杆(21)两端为光滑杆,所述齿轮(20)啮合连接齿轮杆(21)中间部位,所述齿轮(20)两端的光滑杆上下两侧滑动连接小滚轮(19),所述齿轮杆(21)左端固定连接第二弹簧(22)的一端,所述第二弹簧(22)的另一端固定连接在电气柜(1)侧壁上,所述齿轮杆(21)远离第二弹簧(22)的一端通过销钉转动连接有第二转动杆(18),所述第二转动杆(18)远离齿轮杆(21)的一端通过销钉转动连接有第一转动杆(16),所述第一转动杆(16)远离第二转动杆(18)的一端铰链连接铰链座(13),所述铰链座(13)安装在电气柜(1)内底部上,所述第一转动杆(16)下端与电气柜(1)之间设置有第一弹簧(15),所述电气柜(1)外侧侧壁下端安装有第一凸块(5),所述第一凸块(5)上开设有卡槽(34),所述第一凸块(5)下方设置有移动杆(10),所述移动杆(10)与电气柜(1)的侧壁间隙配合后固定连接有U型卡块(17),所述U型卡块(17)远离移动杆(10)的一端与第一转动杆(16)相配合,移动杆(10)上设置有锁紧装置,当断路器(26)切断铜排(25)电流后,所述锁紧装置和卡槽(34)相配合固定住移动杆(10)。

2.根据权利要求1所述的一种间接接触式电开关,其特征在于:所述收纳轮(31)远离柜门(35)的一面安装有从动轮(4),所述齿轮(20)设置在收纳轮(31)的左下方,所述齿轮(20)靠近柜门(35)的一面安装有主动轮(32),所述主动轮(32)通过传送带(23)传动连接从动轮(4)。

3.根据权利要求1所述的一种间接接触式电开关,其特征在于:所述第一转动杆(16)右下端焊接有第二小方块(14),所述第二小方块(14)固定连接第一弹簧(15)的一端,所述第一弹簧(15)另一端固定连接有第一小方块(12),所述第一小方块(12)通过第二凸块(11)安装在电气柜(1)右下角。

4.根据权利要求2所述的一种间接接触式电开关,其特征在于:所述收纳轮(31)正上方设置有第一滑动轮(2),所述断路器手柄(27)正下方设置有第三滑动轮(29)和第二滑动轮(24),所述绳体(3)分别与第一滑动轮(2)、第三滑动轮(29)和第二滑动轮(24)外表面滑动连接。

5.根据权利要求4所述的一种间接接触式电开关,其特征在于:所述锁紧装置包括套筒(6)、挡块(8)和卡块(9),挡块(8)的数量有两个,间隔安装在移动杆(10)上,两个挡块(8)之间设置有套筒(6),所述套筒(6)内表面与移动杆(10)外表面间隙配合,套筒(6)上固定连接有卡块(9),所述卡块(9)与卡槽(34)过盈配合。

6.根据权利要求5所述的一种间接接触式电开关,其特征在于:所述卡块(9)为圆柱杆,卡槽(34)为介于半圆槽和全圆槽之间的圆弧槽,圆弧槽的半径和圆柱杆的半径相等。

7.根据权利要求6所述的一种间接接触式电开关,其特征在于:所述移动杆(10)位于电气柜(1)外侧的一端设置有第一把手(7),卡块(9)背面设置有第二把手(33)。

8.根据权利要求7所述的一种间接接触式电开关,其特征在于:所述第三滑动轮(29)、 第二滑动轮(24)和第一滑动轮(2)的轮轴均与设置在远离柜门(35) 一侧的侧壁上的轴承座滚动连接,从动轮(4)、主动轮(32) 和小滚轮(19) 的轮轴也与设置在远离柜门(35) 一侧的侧壁上的轴承座滚动连接。

9.根据权利要求8所述的一种间接接触式电开关,其特征在于:所述第三弹簧(28)的数量有2 6根,第三弹簧(28)对称设置在断路器手柄(27)的两端。

~

10.根据权利要求9所述的一种间接接触式电开关,其特征在于:所述移动杆(10)上位于套筒(6)和第一把手(7)之间设置有指示针(37)。

我要求购
我不想找了,帮我找吧
您有专利需要变现?
我要出售
智能匹配需求,快速出售