欢迎来到知嘟嘟! 联系电话:13336804447 卖家免费入驻,海量在线求购! 卖家免费入驻,海量在线求购!
知嘟嘟
我要发布
联系电话:13336804447
知嘟嘟经纪人
收藏
专利号: 2020114311872
申请人: 安徽机电职业技术学院
专利类型:发明专利
专利状态:已下证
专利领域: 光学
更新日期:2025-09-29
缴费截止日期: 暂无
价格&联系人
年费信息
委托购买

摘要:

权利要求书:

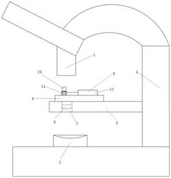
1.一种自动快速对焦的显微镜装置,其特征在于,包括镜架(4),所述镜架(4)中部连接有连接台(5),所述连接台(5)中开设有透光槽,所述连接台(5)上设置有左载玻放置台(3)和右载玻放置台(8),所述左载玻放置台(3)和所述右载玻放置台(8)上用于放置载玻片,所述左载玻放置台(3)和所述右载玻放置台(8)之间设置有条形的间隔槽,所述间隔槽位于所述透光槽正上方,所述左载玻放置台(3)和所述右载玻放置台(8)上均设置有夹持组件(9),两个所述夹持组件(9)相向设置便于对放置的载玻片进行定位夹持,所述夹持组件(9)包括前后移动件(13)、左右移动件(14)和侧夹持件(10),所述前后移动件(13)连接有第一连接块,所述前后移动件(13)控制所述第一连接块前后移动,所述第一连接块端部连接所述左右移动件(14),所述左右移动件(14)连接有第二连接块,所述左右移动件(14)控制所述第二连接块前后移动,所述第二连接块端部连接所述侧夹持件(10)。

2.根据权利要求1所述的一种自动快速对焦的显微镜装置,其特征在于,所述侧夹持件(10)包括侧连接板(17),所述侧连接板(17)一侧与所述第二连接块连接,所述侧连接板(17)另一侧设置有侧夹持板(18),所述侧夹持板(18)与所述侧连接板(17)之间通过第一弹性弹簧(20)连接。

3.根据权利要求1所述的一种自动快速对焦的显微镜装置,其特征在于,所述侧夹持板(18)前侧倾斜连接有第一倾斜导入板(25),所述第一倾斜导入板(25)另一端位于所述侧连接板(17)延长平面上。

4.根据权利要求1所述的一种自动快速对焦的显微镜装置,其特征在于,所述第一弹性弹簧(20)外侧套设有第一多节伸缩推杆(19),所述第一多节伸缩推杆(19)的一端与所述侧连接板(17)铰接,所述第一多节伸缩推杆(19)的另一端与所述侧夹持板(18)铰接。

5.根据权利要求1所述的一种自动快速对焦的显微镜装置,其特征在于,所述侧连接板(17)上端连接有上连接板(21),所述上连接板(21)下方设置有上夹持板(22),所述上夹持板(22)与所述上连接板(21)之间通过第二弹性弹簧(24)连接。

6.根据权利要求1所述的一种自动快速对焦的显微镜装置,其特征在于,所述第二弹性弹簧(24)外侧套设有第二多节伸缩推杆(23),所述第二多节伸缩推杆(23)的一端与所述上连接板(21)铰接,所述第二多节伸缩推杆(23)的另一端与所述上夹持板(22)铰接。

7.根据权利要求1所述的一种自动快速对焦的显微镜装置,其特征在于,所述上夹持板(22)前侧倾斜连接有第二倾斜导入板(26),所述第二倾斜导入板(26)另一端位于所述上连接板(21)延长平面上。

8.根据权利要求1所述的一种自动快速对焦的显微镜装置,其特征在于,所述前后移动件(13)包括第一电动伸缩推杆(15),所述第一电动伸缩推杆(15)的伸缩端连接所述第一连接块,所述左右移动件(14)包括第二电动伸缩推杆(16),所述第二电动伸缩推杆(16)的伸缩端连接所述第二连接块。

9.根据权利要求1所述的一种自动快速对焦的显微镜装置,其特征在于,所述透光槽中设置有平凸透镜(6),所述平凸透镜(6)的凸面向下设置。