欢迎来到知嘟嘟! 联系电话:13095918853 卖家免费入驻,海量在线求购! 卖家免费入驻,海量在线求购!
知嘟嘟
我要发布
联系电话:13095918853
知嘟嘟经纪人
收藏
专利号: 2020113623330
申请人: 上海崇贯企业管理有限公司
专利类型:发明专利
专利状态:已下证
专利领域: 织物等的处理;洗涤;其他类不包括的柔性材料
更新日期:2025-04-21
缴费截止日期: 暂无
价格&联系人
年费信息
委托购买

摘要:

权利要求书:

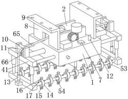
1.智能家居用晾衣机构,其特征在于:包括壳体(1)、伸缩单元(4)、支撑单元(5)和升降单元(6);

壳体(1):上表面的前后两侧均设有固定板(2),所述壳体(1)内底部的前后两侧均设有固定块(3);

伸缩单元(4):包括移动块(41)、限位杆(42)、移动杆(43)、限位桶(44)、螺杆(45)、齿轮(46)和电机(47),所述限位桶(44)设有四个,四个限位桶(44)内侧的一端分别与两个固定块(3)左右侧面的中部固定连接,且四个限位桶(44)一端的内侧面与四个限位杆(42)内侧一端的侧面滑动连接,四个限位杆(42)外侧的一端分别与两个移动块(41)相对侧面的前后两侧固定连接,所述螺杆(45)设有两个,两个螺杆(45)内侧的一端与前侧的齿轮(46)左右侧面的中部固定连接,且两个螺杆(45)外侧的一端分别与两个移动杆(43)相对侧面中部的螺孔螺纹连接,两个移动杆(43)外侧的一端与两个移动块(41)相对侧面的中部固定连接,两个移动杆(43)内侧一端的侧面分别与壳体(1)左右侧面中部的滑孔滑动连接,所述电机(47)设在壳体(1)内底部的后侧,且电机(47)的输出轴与后侧的齿轮(46)右侧面的中部固定连接,且两个齿轮(46)啮合;

支撑单元(5):包括支撑块(51)、伸缩杆(52)、支撑杆(53)和支撑筒(54),所述伸缩杆(52)设有四个,四个伸缩杆(52)的上端分别与两个移动块(41)下表面的前后两侧固定连接,且四个伸缩杆(52)的下端分别与两个支撑块(51)上表面的前后两侧固定连接,所述支撑杆(53)设有两个,两个支撑杆(53)的左端与左侧的支撑块(51)右侧面的前后两侧固定连接,所述支撑筒(54)设有两个,两个支撑筒(54)的右端与右侧的支撑块(51)左侧面的前后两侧固定连接,且两个支撑筒(54)左端的内侧面与支撑杆(53)右端的侧面滑动连接;

其中:还包括单片机(7),所述单片机(7)设在壳体(1)的上表面,且单片机(7)的输入端与外部电源的输出端电连接,所述单片机(7)的输出端与电机(47)的输入端电连接,所述升降单元(6)包括升降电机(61)、卷筒(62)、蜗轮(63)、蜗杆(64)、钢绳(65)、滑轮(66)和支撑板(67),所述卷筒(62)前后侧面的中部与两个固定板(2)相对侧面的中部转动连接,所述蜗轮(63)后侧面的中部与前侧的固定板(2)前侧面的中部转动连接,且蜗轮(63)后侧面中部的轴穿过前侧的固定板(2)与卷筒(62)前侧面的中部固定连接,所述蜗杆(64)的下端与壳体(1)上表面的前侧转动连接,且蜗杆(64)与蜗轮(63)啮合,所述升降电机(61)的下表面与前侧的固定板(2)上表面的右侧固定连接,且升降电机(61)的输出轴与蜗杆(64)的上端固定连接,所述支撑板(67)设有两个,两个支撑板(67)分别设在两个支撑块(51)外侧面的下侧,所述滑轮(66)设有两个,两个滑轮(66)分别设在两个移动块(41)上表面的中部,所述钢绳(65)设有两个,两个钢绳(64)的下端与两个支撑板(67)上表面的中部固定连接,两个钢绳(65)的上端分别绕过两个滑轮(66)的上侧与卷筒(62)中部的侧面固定连接,所述升降电机(61)的输入端与单片机(7)的输出端电连接。

2.根据权利要求1所述的智能家居用晾衣机构,其特征在于:还包括安装板(8)和安装孔(9),所述安装板(8)为L型,且安装板(8)设有两个,两个安装板(8)分别设在壳体(1)上表面的左右两侧,且两个安装板(8)的上表面均设有三个安装孔(9)。

3.根据权利要求1所述的智能家居用晾衣机构,其特征在于:还包括转动杆(10)和限位板(11),所述限位板(11)设有四个,四个限位板(11)分别设在两个移动块(41)上表面的前后两侧,且四个限位板(11)上端的相对侧面分别与两个转动杆(10)的两端转动连接,且两个转动杆(10)位于两个滑轮(66)的正上方,且两个转动杆(10)的侧面与两个钢绳的侧面接触。

4.根据权利要求1所述的智能家居用晾衣机构,其特征在于:还包括无线收发器(12)和拉力传感器(13),所述无线收发器(12)设在壳体(1)上表面的前侧,且无线收发器(12)与单片机(7)之间双向电连接,所述拉力传感器(13)设有两个,两个拉力传感器(13)分别设在两个钢绳(65)上,且两个拉力传感器(13)的输出端与单片机(7)的输入端电连接。

5.根据权利要求1所述的智能家居用晾衣机构,其特征在于:还包括支撑环(14)和挂环(15),所述支撑环(14)设有两组,两组支撑环(14)分别套接在两个支撑杆(53)和两个支撑筒(54)的外侧,且两组支撑环(14)的侧面均设有挂环(15)。

6.根据权利要求5所述的智能家居用晾衣机构,其特征在于:还包括固定销(16)和固定孔(17),所述固定销(16)设有两组,两组固定销(16)的下端分别穿过两组支撑环(14)中部侧面的孔,所述固定孔(17)设有两组,两组固定孔(17)分别设在两个支撑杆(53)和两个支撑筒(54)的侧面,且两组固定销(16)与两组固定孔(17)对应。

7.根据权利要求1所述的智能家居用晾衣机构,其特征在于:还包括照明灯(18)和紫外线灯管(19),所述照明灯(18)设有四个,四个照明灯(18)等距离的设置在壳体(1)的下表面,所述紫外线灯管(19)为环形,且紫外线灯管(19)设在壳体(1)的下表面,且四个照明灯(18)和紫外线灯管(19)的输入端与单片机(7)的输出端电连接。

8.根据权利要求1所述的智能家居用晾衣机构,其特征在于:还包括风机(20)和竖板(21),所述竖板(21)设在壳体(1)下表面的中部,且两个竖板(21)左右侧面的中部均设有风机(20),两个风机(20)的输入端与单片机(7)的输出端电连接。

9.根据权利要求8所述的智能家居用晾衣机构,其特征在于:还包括电热丝(22)和加热管(23),所述加热管(23)设有两个,两个加热管(23)的侧面与壳体(1)下表面的左右两侧固定连接,且两个加热管(23)内侧的一端分别与两个风机(20)侧面的出风口连接,所述电热丝(22)设有两个,两个电热丝(22)分别设在两个加热管(23)的内侧面,且两个电热丝(22)的输入端与单片机(7)的输出端电连接。