欢迎来到知嘟嘟! 联系电话:13336804447 卖家免费入驻,海量在线求购! 卖家免费入驻,海量在线求购!
知嘟嘟
我要发布
联系电话:13336804447
知嘟嘟经纪人
收藏
专利号: 2020113384452
申请人: 上海宠济生物科技有限公司
专利类型:发明专利
专利状态:已下证
专利领域: 基本电气元件
更新日期:2026-03-04
缴费截止日期: 暂无
价格&联系人
年费信息
委托购买

摘要:

权利要求书:

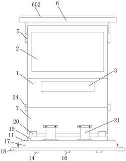
1.一种区块链签名处理装置,其特征在于:包括电子签名机(1)、转接器(7)和移动机构;

所述电子签名机(1)上设有触控屏(2)和存放槽(3),所述电子签名机(1)的底部固定连接有第一插头(4),所述电子签名机(1)相互对应的两侧上端均转动安装有转动杆(5),两个所述转动杆(5)之间固定连接有挡板(6),所述电子签名机(1)的底部铰接有转接器(7),所述转接器(7)内设有中央处理器(8),所述转接器(7)的顶端内嵌有第一插座(9),所述转接器(7)底端的两侧均内嵌有第二插座(10);

所述移动机构包括底座(11)、动力马达(12)、转向电机(13)、安装套(17)和安装边圈(18),所述底座(11)的底部内壁上固定安装有动力马达(12)和转向电机(13),所述动力马达(12)的数量为两个,两个所述动力马达(12)的输出轴上均固定连接有动力轮(14),所述转向电机(13)的输出轴上固定连接有转向叉(15),所述转向叉(15)上转动安装有转向轮(16),所述底座(11)外部套接安装有安装套(17),所述安装套(17)的底端固定连接有安装边圈(18),所述底座(11)的顶部固定连接有接收器(19),所述接收器(19)顶部的两端均固定连接有第二插头(20)。

2.根据权利要求1所述的一种区块链签名处理装置,其特征在于:所述第一插头(4)卡合连接在第一插座(9)内,所述第二插头(20)卡合连接在第二插座(10)内。

3.根据权利要求1所述的一种区块链签名处理装置,其特征在于:所述挡板(6)在靠近电子签名机(1)的一侧面上固定安装有加热器(601),所述挡板(6)在远离电子签名机(1)的一侧面上固定连接有防护垫(602)。

4.根据权利要求3所述的一种区块链签名处理装置,其特征在于:所述加热器(601)的数量为五个,五个所述加热器(601)在挡板(6)上水平方向等距排列。

5.根据权利要求1所述的一种区块链签名处理装置,其特征在于:所述底座(11)顶部的一侧固定安装有支板(21),所述转接器(7)通过支板(21)与底座(11)连接。

6.根据权利要求1所述的一种区块链签名处理装置,其特征在于:所述底座(11)在远离支板(21)的一侧固定连接有插槽(22),所述插槽(22)上螺纹连接有第二螺栓(27)。

7.根据权利要求1所述的一种区块链签名处理装置,其特征在于:所述电子签名机(1)在远离触控屏(2)的一侧面上固定连接有插板(23),所述插板(23)上开有螺孔。

8.根据权利要求1所述的一种区块链签名处理装置,其特征在于:所述电子签名机(1)底端的两侧均固定连接有卡扣(24),所述电子签名机(1)通过卡扣(24)与转接器(7)连接。

9.根据权利要求1所述的一种区块链签名处理装置,其特征在于:所述安装套(17)的两侧均螺纹连接有第一螺栓(25),所述安装边圈(18)的两端均固定贯穿有保护套(26)。

10.根据权利要求1‑9任意一项所述的一种区块链签名处理装置得出一种区块链签名处理装置的处理方法,其特征在于:所述处理方法包括如下步骤:第一步,立式组装,将转接器(7)安装在底座(11)上,使底座(11)上的第二插头(20)插在挡板(6)上的第二插座(10)内,通过支板(21)将转接器(7)和底座(11)的位置固定住,然后将电子签名机(1)安装在转接器(7)上,使电子签名机(1)上的第一插头(4)插在转接器(7)上的第一插座(9)内,通过卡扣(24)将电子签名机(1)和转接器(7)的位置固定住;

第二步,签名,使用时当操作员需要签名时,可以通过遥控器对电子签名机(1)发送遥控信号,电子签名机(1)内安装有蓄电池,电子签名机(1)、转接器(7)和接收器(19)之间是电性连接,因此电子签名机(1)内的蓄电池能够为动力马达(12)和转向电机(13)供电,动力马达(12)能够提供动力,转向电机(13)能够控制方向;

第三步,装置的拆分,拆除支板(21),将第二插座(10)从第二插头(20)内拔出,使转接器(7)从底座(11)上分开,松开卡扣(24),将转接器(7)进行旋转,使第一插头(4)从第一插座(9)内拔出,并且电子签名机(1)、转接器(7)和接收器(19)不在是电性连接,装置不会受到遥控;

第四步,挂壁式安装,拧松安装套(17)上第一螺栓(25),向下滑动安装套(17),当安装边圈(18)盖过动力轮(14)时将第一螺栓(25)拧紧,通过固定钉将底座(11)固定在墙上,使底座(11)上有插槽(22)的一端在上方,将插板(23)插在插槽(22)内,并通过第二螺栓(27)进行固定,使电子签名机(1)通过插板(23)固定在底座(11)上;

第五步,消毒,将挡板(6)进行旋转,使挡板(6)与触控屏(2)的位置相对应,按下加热器(601)的电源开关,并且挡板(6)以及挡板(6)上的防护垫(602)能够对触控屏(2)进行保护。