欢迎来到知嘟嘟! 联系电话:13336804447 卖家免费入驻,海量在线求购! 卖家免费入驻,海量在线求购!
知嘟嘟
我要发布
联系电话:13336804447
知嘟嘟经纪人
收藏
专利号: 2020111496519
申请人: 陈峰
专利类型:发明专利
专利状态:已下证
专利领域: 教育;密码术;显示;广告;印鉴
更新日期:2024-02-23
缴费截止日期: 暂无
价格&联系人
年费信息
委托购买

摘要:

权利要求书:

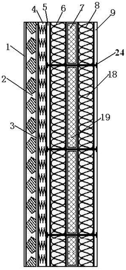
1.一种高速公路隔音广告墙板,包括隔墙板,其特征在于所述隔墙板由广告面板、吸音层、整合层、消震层、第一支撑板、第一消音层、隔离层、第二消音层、第二支撑板依次装接而成;所述第一支撑板、第一消音层、隔离层、第二消音层、第二支撑板之间首先依次采用粘胶材料粘接后再用双头螺柱及螺母装接,所述广告面板、吸音层、整合层、消震层、第一支撑板之间仅依次采用粘胶材料粘接;

所述广告面板采用具有弹性的软钢板制作;

所述吸音层采用高阻尼硅橡胶制作成橡胶板,同时在橡胶板上设置密集的双向喇叭通孔,所述双向喇叭通孔包括广口喇叭孔和窄口喇叭孔,其中广口喇叭孔的外口直径大于窄口喇叭孔的外口直径,广口喇叭孔的内口直径等于窄口喇叭孔的内口直径并直接相连;

所述整合层采用具有弹性的软性钢板制作;

所述消震层采用弹簧板制作,所述弹簧板由面板和底板夹住若干个密集布设的弹簧制作而成,其中面板由软钢板制作,底板由硬钢板制作,弹簧为小型弹簧,面板和底板的周边用软性材料封闭;

所述第一消音层和第二消音层均采用玻璃棉基板制作;

所述隔离层采用真空海绵腔制作,所述真空海绵腔包括密封胶、密封膜、密封漆和硬质海绵板,硬质海绵板上预设螺柱通孔,首先用密封胶涂覆硬质海绵板四周表面及螺柱通孔内壁表面,再在硬质海绵板四周表面及螺柱通孔内壁表面铺设密封膜,然后涂覆密封漆,然后抽真空,再将抽真空口密封,得到板块状的真空海绵腔。

2.根据权利要求1所述的高速公路隔音广告墙板,其特征在于所述第二支撑板外表面还依次粘接有第二消震层、第二整合层、第二吸音层和第二广告面板。

3.一种高速公路隔音广告墙板的制备方法,其特征在于包括如下步骤:

⑴制作用于吸音层的吸音橡胶板,按照设计规格制作双向喇叭孔模具框,所述双向喇叭孔模具框由框体和盖体组成,所述框体的内腔为长方体板状结构,框体的底板面上密集设置有若干个窄口喇叭模块,所述盖体的内侧表面上密集设置有若干个广口喇叭模块,所述窄口喇叭模块与广口喇叭模块一一对应且可紧密贴合;将高阻尼硅橡胶熔化后注入到框体中,注满,然后缓慢盖上盖体,使多余的高阻尼硅橡胶缓慢溢出,并使盖体上的广口喇叭模块与框体底板上的窄口喇叭模块互相贴合,然后静置冷却,去掉盖体和框体,得到双向喇叭孔橡胶板;

⑵制作用于消震层的弹簧板,按照设计规格预备软钢板作为面板,预备硬钢板作为底板,将若干个小型弹簧固定安装在面板和底板上,然后在底板和面板的边缘用无纺布包封,得到弹簧板;

⑶制作用于隔离层的真空海绵腔,取硬质海绵,按照设计规格制作硬质海绵板,再按照设计位置在硬质海绵板上挖设若干个螺柱通孔,然后用密封胶涂覆硬质海绵板四周表面及螺柱通孔内壁表面,再在硬质海绵板四周表面及螺柱通孔内壁表面铺设密封膜,再涂覆密封漆,然后抽真空,再将抽真空口密封,得到板块状的真空海绵腔;

⑷预备用于广告面板的弹性软钢板、用于整合层的弹性软钢板、用于第一支撑板和第二支撑板的铝合金板、用于第一消音层和第二消音层的玻璃棉基板,并按照设计规格进行裁剪;并预备粘胶材料、双头螺柱和螺母;

⑸首先按照设计位置在第一支撑板、第一消音层、第二消音层、第二支撑板上挖设若干个螺柱通孔;然后在第二支撑板上涂覆粘胶材料,将第二吸音层粘接在第二支撑板上;然后在第二消音层的另一侧表面上涂覆粘胶材料,将隔离层粘接在第二消音层上;然后在隔离层的另一侧表面上涂覆粘胶材料,将第一消音层粘接在隔离层上;然后在第一消音层的另一侧表面上涂覆粘胶材料,将第一支撑板粘接在第一消音层上;然后将各层上的螺柱通孔对齐,在再将双头螺柱插入到螺柱通孔中,从双侧拧紧螺母,并在第一支撑板和第二支撑板的外侧挖设螺母槽,使螺母拧紧后,螺母的外侧表面与支撑板的外侧表面平齐;做成隔墙板主体;然后在第一支撑板的外侧表面上涂覆粘胶材料,将消震层的底板粘接在第一支撑板上,消震层的底板还可进一步螺接在第一支撑板上;然后在消震层的面板上涂覆粘胶材料,将整合层粘接在消震层的面板上;然后在整合层的另一侧表面上涂覆粘胶材料,将吸音层粘接在整合层上;然后在吸音层的另一侧表面上涂覆粘胶材料,将广告面板粘接在吸音层上;

⑹在第二支撑板的外侧表面上涂覆粘胶材料,将第二消震层的底板粘接在第二支撑板上;然后在第二消震层的面板上涂覆粘胶材料,将第二整合层粘接在消震层的面板上;然后在第二整合层的另一侧表面上涂覆粘胶材料,将第二吸音层粘接在整合层上;然后在第二吸音层的另一侧表面上涂覆粘胶材料,将第二广告面板粘接在第二吸音层上,待养护粘接结实后,得到高速公路隔音双面广告墙板。