欢迎来到知嘟嘟! 联系电话:13336804447 卖家免费入驻,海量在线求购! 卖家免费入驻,海量在线求购!
知嘟嘟
我要发布
联系电话:13336804447
知嘟嘟经纪人
收藏
专利号: 2020110695322
申请人: 杭州电子科技大学
专利类型:发明专利
专利状态:已下证
专利领域: 机床;其他类目中不包括的金属加工
更新日期:2024-01-05
缴费截止日期: 暂无
价格&联系人
年费信息
委托购买

摘要:

权利要求书:

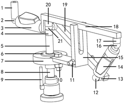
1.使用双球杆仪测量机床主轴空间三维误差的方法,其特征在于:该方法具体如下:步骤一、将圆盖通过法兰轴承一和法兰轴承二支承在中心轴上;然后,将磁性球窝一底部的外螺纹与中心轴顶部的螺纹孔连接,中心轴底部的外螺纹与底座工具杯顶部的螺纹孔连接;最后,将支架与圆盖固定;

步骤二、将主轴工具杯固定在待测多轴机床的输出端主轴上,底座工具杯通过磁力吸附固定在待测多轴机床的工作台上;

步骤三、将磁性球窝二和磁性球窝三的外螺纹与加长杆两端的螺纹孔分别连接;将磁性球窝四的外螺纹与承重杆一端的螺纹孔连接,承重杆另一端的螺纹孔与精密球一底部的外螺纹连接;然后,使用球杆仪二分别对加长杆两端磁性球窝二和磁性球窝三的球心距以及承重杆两端磁性球窝四和精密球一的球心距进行标定;

步骤四、将球杆仪一非敏感端的螺纹孔与加长杆靠近磁性球窝三位置处的外螺纹连接,此时,磁性球窝二的球心、磁性球窝三的球心和球杆仪一敏感端的精密球二球心位于同一直线上;将精密球一吸附在磁性球窝三中,然后在校准块规上对球杆仪一敏感端的精密球二与精密球一的球心距进行标定校准,并记录校准后精密球二与精密球一的球心距有效长度L1,以及球杆仪一测得的精密球二与精密球一的球心距误差值x0;

步骤五、将加长杆中部嵌入支架开设的夹槽内,将承重杆上的精密球一通过磁力吸附在中心轴顶端的磁性球窝一中;然后,将承重杆中部固定于支架上;最后,将球杆仪一敏感端的精密球二通过磁力吸附在主轴工具杯上;

步骤六、将球杆仪二非敏感端的精密球三通过磁力吸附在承重杆上的磁性球窝四中,将球杆仪二敏感端的精密球四吸附在加长杆上的磁性球窝二中;然后,将球杆仪一和球杆仪二的球杆仪采集系统均连接处理器;

步骤七、令待测多轴机床做圆弧插补运动,球杆仪一的球杆仪采集系统采集球杆仪一的输出信号给处理器,球杆仪二的球杆仪采集系统采集球杆仪二的输出信号给处理器,处理器处理后得到待测多轴机床的输出端主轴在空间三维方向上的运动误差量。

2.根据权利要求1所述使用双球杆仪测量机床主轴空间三维误差的方法,其特征在于:处理器得到待测多轴机床的输出端主轴在空间三维方向上运动误差量的过程,具体如下:记加长杆的有效长度为L2,承重杆的有效长度为L3,球杆仪二的有效长度为L4,L2的取值等于已标定的加长杆两端磁性球窝二和磁性球窝三的球心距,L3的取值等于已标定的承重杆两端磁性球窝四和精密球一的球心距;记待测多轴机床的输出端主轴做圆弧插补运动时,球杆仪一检测到沿轴向的杆长伸缩量为ΔL1,球杆仪二检测到沿轴向的杆长伸缩量为ΔL4;

初始状态时,记加长杆与球杆仪二之间的夹角为α,由三角形余弦定理有:

即:

则球杆仪二在垂直于加长杆方向的分量长度y1为:

待测多轴机床的输出端主轴做圆弧插补运动时,记加长杆与球杆仪二之间的夹角为β,由三角形余弦定理有:即:

则球杆仪二在垂直于加长杆方向的分量长度y2为:

所以球杆仪二在垂直于加长杆方向的分量长度变化量为:

由于加长杆是一个以磁性球窝三的球心为支点的杠杆,所以,h2对应到待测多轴机床的输出端主轴在垂直于理论运动平面方向产生的误差值h1为:即:

而将球杆仪一测得的待测多轴机床输出端主轴沿球杆仪一轴向上的运动误差量分解为平行于理论运动平面内的二维误差,再结合误差值h1,便得到待测多轴机床的输出端主轴在空间三维方向上的运动误差量。

3.根据权利要求1或2所述使用双球杆仪测量机床主轴空间三维误差的方法,其特征在于:所述加长杆、承重杆、中心轴、圆盖和支架的材料均为殷钢。

4.根据权利要求1或2所述使用双球杆仪测量机床主轴空间三维误差的方法,其特征在于:所述的磁性球窝一、磁性球窝二、磁性球窝三和磁性球窝四均为三点支撑式磁性球窝;

所述的三点支撑式磁性球窝内固定定位环,定位环设有一体成型且沿周向均布的三块支撑块。

5.根据权利要求2所述使用双球杆仪测量机床主轴空间三维误差的方法,其特征在于:步骤二之后还有如下步骤:将调节球放置到中心轴上的磁性球窝一上,并将底座工具杯的紧固拉杆调至松开状态;然后将待测多轴机床的输出端主轴移动至调节球正上方h处,h在

0.3~1cm范围内取值,提高中心轴,使调节球受磁力作用吸附到主轴工具杯上;使中心轴转动两周后,拉紧底座工具杯的紧固拉杆,将待测多轴机床的输出端主轴当前位置记为测量坐标的原点;接着,将待测多轴机床的输出端主轴上升3~5cm,取下调节球,重新将待测多轴机床的输出端主轴运动至测量坐标的原点位置;最后,将待测多轴机床的输出端主轴水平平移至预设的待测位置。