欢迎来到知嘟嘟! 联系电话:13336804447 卖家免费入驻,海量在线求购! 卖家免费入驻,海量在线求购!
知嘟嘟
我要发布
联系电话:13336804447
知嘟嘟经纪人
收藏
专利号: 2020110485095
申请人: 台州豪迪卫浴科技有限公司
专利类型:发明专利
专利状态:已下证
专利领域: 医学或兽医学;卫生学
更新日期:2024-02-23
缴费截止日期: 暂无
价格&联系人
年费信息
委托购买

摘要:

权利要求书:

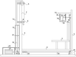
1.一种心理学实验用催眠设备,包括底座(1)、显示屏(2)和椅子(3),其特征在于,所述底座(1)的上端固定连接有第一竖板(4)和第二竖板(5),所述第一竖板(4)的上端固定连接有框架(6),所述显示屏(2)固定安装与框架(6)内,所述框架(6)的顶面内设有除尘功能的降温机构,所述框架(6)的底部设有收集口(7),所述收集口(7)内固定安装有第一防尘网(8),所述第一竖板(4)远离第二竖板(5)的一端侧壁上设有进气机构,所述进气机构与降温机构连通设置,所述底座(1)上设有驱动机构,所述驱动机构与进气机构传动连接,所述驱动机构的部分转动贯穿第一竖板(4)设置,所述第一竖板(4)和第二竖板(5)之间转动连接有两个第一传动机构,两个所述传动机构均与驱动机构传动连接,所述第一竖板(4)和第二竖板(5)之间固定连接有支撑板(9),所述支撑板(9)位于第一传动机构的上端,所述椅子(3)固定设置于支撑板(9)的上端,所述椅子(3)与第二竖板(5)之间的支撑板(9)上转动贯穿设有两个第二传动机构,两个所述第二传动机构分别与两个第一传动机构传动连接,所述第二竖板(5)的侧壁上转动连接有两个凸轮机构,两个所述凸轮机构分别与两个第二传动机构传动连接,所述第二竖板(5)的侧壁上固定连接有呈U型设置的水平板(10),所述水平板(10)的下端固定连接有按摩机构,所述凸轮机构与按摩机构相抵接触。

2.根据权利要求1所述的一种心理学实验用催眠设备,其特征在于,所述降温机构包括设置于框架(6)顶面内的腔室(11),所述腔室(11)的底部设有第一降温口(12),所述腔室(11)靠近椅子(3)的一端侧壁上设有第二降温口(13),所述腔室(11)的顶面连通设有导气管(14),所述导气管(14)远离腔室(11)的一端与进气机构连通设置。

3.根据权利要求2所述的一种心理学实验用催眠设备,其特征在于,所述进气机构包括固定设置于第一竖板(4)侧壁上的进气管(15),所述导气管(14)远离腔室(11)的一端与进气管(15)的上端连通设置,所述进气管(15)内固定密封安装有环形板(16),所述环形板(16)设有开设有多个导气口,所述导气口内安装有第二防尘网(17),所述环形板(16)上转动贯穿设有第一旋转轴(18),所述环形板(16)上方的第一旋转轴(18)上同轴固定连接有风叶(37),所述第一旋转轴(18)的下端固定连接有第一锥齿轮(19),所述第一锥齿轮(19)和驱动机构传动连接。

4.根据权利要求3所述的一种心理学实验用催眠设备,其特征在于,所述驱动机构包括固定设置于底座(1)上的防护罩(20)和驱动电机(21),所述驱动电机(21)位于防护罩(20)内,所述驱动电机(21)的输出轴末端固定连接有第二旋转轴(22),所述第二旋转轴(22)依次转动转动防护罩(20)和第一竖板(4)设置,所述第二旋转轴(22)上同轴固定连接有第二锥齿轮(23)和两个第一皮带轮(24),所述第二锥齿轮(23)和第一锥齿轮(19)啮合,两个所述第一皮带轮(24)分别与两个第一传动机构传动连接。

5.根据权利要求4所述的一种心理学实验用催眠设备,其特征在于,所述第一传动机构包括转动设置于第一竖板(4)和第二竖板(5)之间的第三旋转轴(25),所述第三旋转轴(25)上同轴固定连接有第二皮带轮(26)和第三锥齿轮(27),所述第二皮带轮(26)和第一皮带轮(24)传动连接,所述第三锥齿轮(27)和第二传动机构传动连接。

6.根据权利要求5所述的一种心理学实验用催眠设备,其特征在于,所述第二传动机构包括转动贯穿支撑板(9)设置的第四旋转轴(28),所述第四旋转轴(28)的下端固定连接有第四锥齿轮(29),所述第四锥齿轮(29)和第三锥齿轮(27)啮合,所述第四旋转轴(28)的上端固定连接有第五锥齿轮(30),所述第五锥齿轮(30)和凸轮机构传动连接。

7.根据权利要求6所述的一种心理学实验用催眠设备,其特征在于,所述凸轮机构包括转动设置于第二竖板(5)侧壁上的第五旋转轴(31),所述第五旋转轴(31)上同轴固定连接有第六锥齿轮(32),所述第六锥齿轮(32)和第五锥齿轮(30)啮合,所述第五旋转轴(31)上同轴固定连接有凸轮(33),所述凸轮(33)与按摩机构相抵接触。

8.根据权利要求7所述的一种心理学实验用催眠设备,其特征在于,所述按摩机构包括固定设置于水平板(10)下端的多根伸缩杆(34),多根所述伸缩杆(34)的下端固定连接有按摩板(35),两个所述凸轮(33)的下端均分别与两块按摩板(35)的上端相抵接触,所述伸缩杆(34)上套设有弹簧(36),所述弹簧(36)的两端分别与水平板(10)和按摩板(35)的上端固定连接。