欢迎来到知嘟嘟! 联系电话:13336804447 卖家免费入驻,海量在线求购! 卖家免费入驻,海量在线求购!
知嘟嘟
我要发布
联系电话:13336804447
知嘟嘟经纪人
收藏
专利号: 2020109888822
申请人: 台州学院
专利类型:发明专利
专利状态:已下证
专利领域: 给水;排水
更新日期:2023-08-24
缴费截止日期: 暂无
价格&联系人
年费信息
委托购买

摘要:

权利要求书:

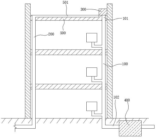
1.一种合流排水立管的雨污分流改造系统,其特征在于:雨污分流改造系统包括原合流排水立管、原雨水排水立管、溢流装置和雨污分流器,所述原合流排水立管和原雨水排水立管的管顶均收集同一屋面的雨水,所述溢流装置固定设置于屋面需要改造的原合流排水立管的顶端收水口处,溢流装置为中空和下端为开口,溢流装置顶端用盖板封闭,溢流装置四周边壁上同一高度开设有排水孔,所述雨污分流器设置于原合流排水立管底部的出水管上。

2.根据权利要求1中所述的一种合流排水立管的雨污分流改造系统,其特征在于:所述溢流装置的内腔设置有可上下活动的上端有封板和下端开口腔体的控制机构,控制机构腔体底端与溢流装置外壁底端齐平,控制机构腔体四周开设有与溢流装置边壁上排水孔相对应并相通的开孔,控制机构腔体外壁四周除开孔处固定有用于封堵空隙的柔性物质,在封板上有通水孔和通气管,通水孔处设置有活动部件,活动部件的上部有挡板,下部有定位板,挡板和定位板之间有连杆连接,定位板上部面有定位柱,挡板下面设置有柔性物质,连杆穿过通水孔,挡板处于通水孔上面并能够遮盖住整个通水孔,定位板和定位柱处于通水孔下面,挡板上端固定有拉绳一端,拉绳另一端固定于杠杆的一端,杠杆穿过溢流装置边壁上孔洞并通过此孔洞上固定的转轴转动,杠杆的另一端设固定转轴并连接有竖杆的一端,竖杆的另一端向下并固定于浮体上端,溢流装置边壁上并处于封板上方处设置有溢流孔,通气管顶端高于溢流孔,溢流装置的内腔壁上并处于封板上方设置有限位板,封板上升抵达并紧靠限位板时控制机构腔体下部的柔性物质能够将排水孔全部封堵。

3.根据权利要求2中所述的一种合流排水立管的雨污分流改造系统,其特征在于:所述柔性物质采用橡胶材料。

4.根据权利要求2中所述的一种合流排水立管的雨污分流改造系统,其特征在于:溢流装置顶端的盖板向四周设有防止降雨从溢流孔飘入的突出部。

5.根据权利要求4中所述的一种合流排水立管的雨污分流改造系统,其特征在于:盖板四周的突出部下设置定位杆,定位杆下端能够抵住杠杆上部而不让杠杆继续向上移动。

6.根据权利要求1至5中所述的一种合流排水立管的雨污分流改造系统,其特征在于:

溢流装置边壁底部四周固定有水平底座板,底座板向外突出部分设置有孔洞,膨胀螺丝穿过孔洞将溢流装置固定于屋面。

7.根据权利要求1至6中所述的一种合流排水立管的雨污分流改造系统,其特征在于:

由原合流排水立管管顶处到原雨水排水立管管顶处的屋面开设沟槽,沟槽的坡度由原合流排水立管管顶处向原雨水排水立管管顶处倾斜。