欢迎来到知嘟嘟! 联系电话:13095918853 卖家免费入驻,海量在线求购! 卖家免费入驻,海量在线求购!
知嘟嘟
我要发布
联系电话:13095918853
知嘟嘟经纪人
收藏
专利号: 2020109304563
申请人: 郭米娟
专利类型:发明专利
专利状态:已下证
专利领域: 运动;游戏;娱乐活动
更新日期:2025-04-21
缴费截止日期: 暂无
价格&联系人
年费信息
委托购买

摘要:

权利要求书:

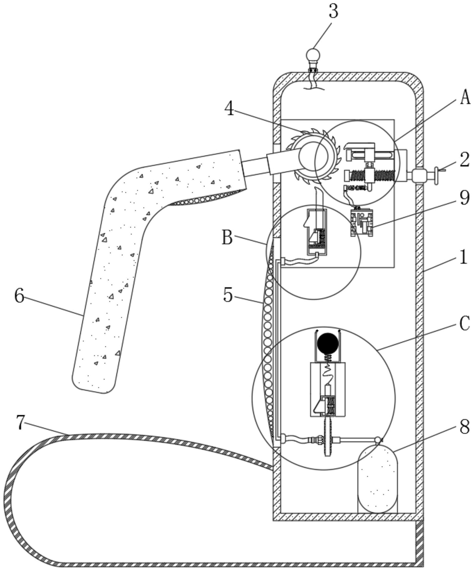
1.一种用于游乐园特别的用于空中秋千的安全座椅,包括椅架(1),其特征在于:所述椅架(1)的内部活动连接有棘轮(4),所述棘轮(4)的外壁活动连接有第一棘爪(27),所述第一棘爪(27)的外壁固定连接有滑块(23),所述滑块(23)的内壁滑动连接有导轨(26),所述滑块(23)的内部螺纹连接有螺杆(2),所述滑块(23)的外壁活动连接有插头(24),所述插头(24)的外壁活动连接有插座(25),所述插座(25)的外壁固定连接有控制面板(9),所述棘轮(4)的外壁底部活动连接有第二棘爪(13),所述第二棘爪(13)的底部固定连接有第一卡块(12),所述第一卡块(12)的外壁固定连接有活塞(10),所述活塞(10)的外壁滑动连接有保险仓(11),所述椅架(1)的内部固定连接有气罐(8),所述气罐(8)的外壁固定连接有阀门齿轮(20),所述阀门齿轮(20)的外壁啮合有齿条(21),所述齿条(21)的顶端固定连接有第二卡块(19),所述第二卡块(19)的顶面固定连接有钢丝绳(17),所述钢丝绳(17)的顶端固定连接有配重球(16),所述配重球(16)的外壁活动连接有保护仓(15),所述保护仓(15)的底面固定连接有限位块(18),所述椅架(1)的外壁左侧固定连接有靠垫(5),所述靠垫(5)的内壁设置有气囊(22),所述气囊(22)的外壁固定连接有气管(14)。

2.根据权利要求1所述的一种用于游乐园特别的用于空中秋千的安全座椅,其特征在于:所述棘轮(4)的正面固定连接有安全架(6)。

3.根据权利要求1所述的一种用于游乐园特别的用于空中秋千的安全座椅,其特征在于:所述第一卡块(12)的底端设置有压缩弹簧。

4.根据权利要求1所述的一种用于游乐园特别的用于空中秋千的安全座椅,其特征在于:所述保险仓(11)的底端开设有与气管(14)相连的气门。

5.根据权利要求1所述的一种用于游乐园特别的用于空中秋千的安全座椅,其特征在于:所述阀门齿轮(20)的内部活动连接有拨块(28)。

6.根据权利要求1所述的一种用于游乐园特别的用于空中秋千的安全座椅,其特征在于:所述配重球(16)的底面活动连接有缓冲弹簧。

7.根据权利要求1所述的一种用于游乐园特别的用于空中秋千的安全座椅,其特征在于:所述椅架(1)的底端固定连接有座垫(7)。

8.根据权利要求1所述的一种用于游乐园特别的用于空中秋千的安全座椅,其特征在于:所述螺杆(2)的右端外壁设置有摇把。

9.根据权利要求1所述的一种用于游乐园特别的用于空中秋千的安全座椅,其特征在于:所述控制面板(9)的外壁通过导线固定连接有指示灯(3)。