欢迎来到知嘟嘟! 联系电话:13336804447 卖家免费入驻,海量在线求购! 卖家免费入驻,海量在线求购!
知嘟嘟
我要发布
联系电话:13336804447
知嘟嘟经纪人
收藏
专利号: 2020108937766
申请人: 浙江工业大学
专利类型:发明专利
专利状态:已下证
专利领域: 磨削;抛光
更新日期:2023-08-24
缴费截止日期: 暂无
价格&联系人
年费信息
委托购买

摘要:

权利要求书:

1.一种基于剪切膨胀效应的化学增强高效超精密抛光方法,其特征在于,所述方法包括如下步骤:

1)制备剪切膨胀-化学增强柔性固着磨具,所述柔性固着磨具各成分及其比例如下:粘弹性胶基50wt.%~80wt.%,磨粒或微粉10wt.%~30wt.%,分散剂2~5wt.%,硅油占

5wt.%~13wt.%及化学粉末2wt.%~10wt.%;首先在硅油中加入磨粒或微粉、分散剂以及化学粉末,机械搅拌均匀后,再加入粘弹性胶基,进一步充分搅拌后制备得到剪切膨胀-化学增强柔性固着磨具;

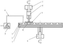
2)将制备的柔性固着磨具填充在抛光垫凹槽中,然后将抛光垫固定在磨盘上,通过低速修盘去除柔性固着磨具多余的部分,保证柔性固着磨具高度与抛光垫一致;

3)将工件固定在载物盘下方,通过调节载物盘上的驱动机构移动载物盘到合适位置,然后开启加压装置,施加一定的压力,使载物盘上的工件与抛光垫紧密贴合,调节输液管滴落位置处于工件抛光区域,开启液体供给装置提供去离子水;

4)启动磨盘底部和载物盘上端的驱动装置,使得工件在加压条件下与柔性固着磨具做相对运动,从而实现工件表面的高效抛光。

2.如权利要求1所述的基于剪切膨胀效应的化学增强高效超精密抛光方法,其特征在于,所述步骤1)中,所述的粘弹性胶基为具有剪切膨胀特性的硅树脂或聚氨酯,所述硅油为甲基硅油、乙基硅油或苯基硅油,所述分散剂为无机分散剂或有机分散剂。

3.如权利要求1或2所述的基于剪切膨胀效应的化学增强高效超精密抛光方法,其特征在于,所述步骤1)中,所述的化学粉末为以下一种或至少两种的混合物:固相反应催化剂、有机酸粉末、有机碱粉末或氧化剂。

4.如权利要求1或2所述的基于剪切膨胀效应的化学增强高效超精密抛光方法,其特征在于,所述步骤1)中,所述的磨粒为以下一种或至少两种的混合物:金刚石、氧化铝、氧化镁、氧化铈、立方氮化硼、碳化硼、碳化硅、氧化铈、氧化硅或α-Al2O3。

5.如权利要求1或2所述的基于剪切膨胀效应的化学增强高效超精密抛光方法,其特征在于,所述步骤2)中,所述的抛光垫根据被抛工件为以下一种:聚氨酯抛光垫、无纺布抛光垫或复合型抛光垫,所述的抛光垫具有若干同等直径凹槽,用于填充柔性固着磨具,所述凹槽之间划有便于排屑的沟槽。