欢迎来到知嘟嘟! 联系电话:13336804447 卖家免费入驻,海量在线求购! 卖家免费入驻,海量在线求购!
知嘟嘟
我要发布
联系电话:13336804447
知嘟嘟经纪人
收藏
专利号: 202010886526X
申请人: 浙大城市学院
专利类型:发明专利
专利状态:已下证
专利领域: 土层或岩石的钻进;采矿
更新日期:2025-10-13
缴费截止日期: 暂无
价格&联系人
年费信息
委托购买

摘要:

权利要求书:

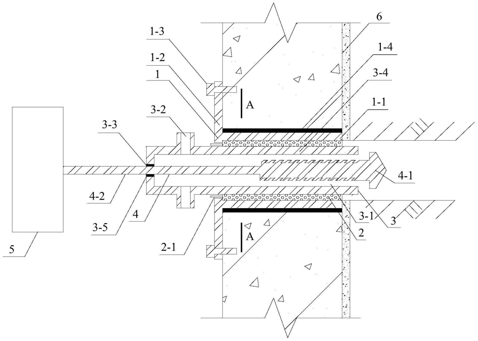
1.一种隧道衬砌渗透破坏治理装置,其特征在于:包括检修孔支撑装置(1)、膨胀气囊(2)、排水注浆限位装置(3)、钻孔装置(4)和密封阀门(7);

所述检修孔支撑装置(1)包括第一套筒(1-1)和固定在第一套筒(1-1)外侧的圆环状遇水膨胀橡胶圈(1-4);所述第一套筒(1-1)与法兰圈(1-2)紧密连接;所述法兰圈(1-2)通过螺栓(1-3)与隧道衬砌(6)可拆卸连接;

所述排水注浆限位装置(3)包括第二套筒(3-4)和与第二套筒(3-4)一端密封连接的封口(3-5),所述第二套筒(3-4)内套于所述第一套筒(1-1)中,所述膨胀气囊(2)紧密固定于第一套筒(1-1)与第二套筒(3-4)之间;所述膨胀气囊(2)上设置通气装置(2-1),用于加压注气和排气;所述封口(3-5)上设置有中心通孔,所述中心通孔内壁套有密封圈(3-3);所述钻孔装置(4)包括扩张钻头(4-1)和钻杆(4-2),所述钻杆(4-2)与电机(5)连接,所述钻杆(4-2)穿过封口(3-5)的中心通孔,通过密封圈(3-3)密封钻孔装置(4)和排水注浆限位装置(3)间的缝隙、支撑钻杆(4-2)并限制钻杆(4-2)的位移;所述第二套筒(3-4)与钻孔装置(4)之间形成排水注浆通道(3-1);所述第二套筒(3-4)上靠近封口端设置排水注浆孔(3-2),用于排水和注浆;

所述密封阀门(7)在钻孔排水注浆结束,并撤除钻孔装置(4)、排水注浆限位装置(3)和膨胀气囊(2)后,与检修孔支撑装置(1)紧密连接。

2.根据权利要求1所述的一种隧道衬砌渗透破坏治理装置,其特征在于:所述遇水膨胀橡胶圈(1-4)的材料选自高吸水性树脂、聚氨酯类、白炭黑及膨润土等,保证橡胶圈快速吸水膨胀,提高装置密封性能;所述遇水膨胀橡胶圈(1-4)的外层设置布套,防止橡胶圈体积过度膨胀破坏钻孔壁,同时,橡胶圈在受限空间内膨胀可提高其膨胀压力。

3.根据权利要求1所述的一种隧道衬砌渗透破坏治理装置,其特征在于:所述遇水膨胀橡胶圈(1-4)和法兰圈(1-2)在密封安装过程中,其密封接触面处需涂上密封胶,进一步提高装置的密封性能,保证隧道衬砌结构防水性和安全性。

4.根据权利要求1所述的一种隧道衬砌渗透破坏治理装置,其特征在于:所述膨胀气囊(2)上的通气装置(2-1)用于加压注气使气囊膨胀,保证其密封性能;当钻孔排水注浆完毕后,可通过通气装置(2-1)排出气体,使膨胀气囊(2)体积收缩,并将其拆卸,保证在不破坏检修孔情况下完成排水注浆限位装置(3)和钻孔装置(4)的拆卸。

5.根据权利要求1所述的一种隧道衬砌渗透破坏治理装置,其特征在于:所述法兰圈(1-2)的内侧伸出第一套筒(1-1)内壁一定距离,用于在膨胀气囊(2)完成膨胀后,对膨胀气囊(2)进行限位,避免膨胀气囊(2)因地下水压力作用被挤压出第一套筒(1-1)与第二套筒(3-4)之间的空间,保证施工安全性;同时,为膨胀气囊(2)拆卸提供预留空间,便于其拆卸及再次安装。

6.根据权利要求1所述的一种隧道衬砌渗透破坏治理装置,其特征在于:所述钻孔装置(4)的钻头(4-1)直径大于排水注浆限位装置(3)内部空间宽度,保证钻孔过程中钻头(4-1)的扩孔效果,同时起到钻孔装置(4)插拔时的限位作用;在钻孔、排水和注浆过程,所述钻头(4-1)边缘不与排水注浆限位装置(3)接触,不影响正常排水和注浆过程;所述密封圈(3-3)除密封功能外,可允许钻孔装置(4)发生旋转。

7.一种权利要求1-6任一项所述隧道衬砌渗透破坏治理装置的施工方法,其特征在于,该方法包括以下步骤:

(1)钻孔施工前,将第二套筒(3-4)内套于所述第一套筒(1-1)中,通过向通气装置(2-

1)加压注气,使膨胀气囊(2)膨胀,保证装置密封性能;将钻杆(4-2)穿过封口(3-5)的中心通孔,通过密封圈(3-3)密封钻孔装置(4)和排水注浆限位装置(3)间的缝隙、支撑钻杆(4-

2)并限制钻杆(4-2)的位移;将钻孔装置(4)与电机(5)连接。

(2)钻孔装置(4)根据指定路线进行掘进,在掘进过程,检修孔支撑装置(1)和排水注浆限位装置(3)位于隧道衬砌(6)外,并随钻孔装置(4)的掘进埋入隧道衬砌(6)中,受扩张钻头(4-1)的影响,钻孔空间为检修孔支撑装置(1)留下预埋空间;当排水注浆限位装置(3)到达指定位置,法兰圈(1-2)通过螺栓(1-3)与隧道衬砌(6)紧密连接,形成检修孔;将遇水膨胀橡胶圈(1-4)填充于隧道衬砌(6)与第一套筒(1-1)间的空隙;遇水膨胀橡胶圈(1-4)吸收地下水,体积发生膨胀,将上述空隙填充,保证装置密封性。

(3)在钻孔装置(4)掘进过程,土层中地下水和泥沙通过排水注浆通道(3-1)从排水注浆孔(3-2)中排出;排水结束后,通过水泵对排水注浆通道(3-1)进行冲洗,在水流冲击力作用下将通道内泥沙冲碎,并在反冲力作用下将泥浆冲出排水注浆通道(3-1);清孔完毕后,注浆系统与排水注浆孔(3-2)连接,对土层进行注浆加固。

(4)钻孔、排水和注浆施工完毕后,打开膨胀气囊(2)上的通气装置(2-1),使膨胀气囊(2)体积收缩,便于膨胀气囊(2)拆卸;待完成膨胀气囊(2)拆卸后,将排水注浆限位装置(3)和钻孔装置(4)从检修孔中取出。

(5)将密封阀门(7)与检修孔可拆卸连接,实现其后续的排水预防功能,并保证检修孔的密封性和可重复利用性。

8.根据权利要求7所述的施工方法,其特征在于:所述步骤(1)中,在膨胀气囊(2)加压注气过程中,需控制注气速度,注意观察膨胀气囊(2)是否发生偏移,若发生偏移应及时纠偏,以保证装置密封性能。

9.根据权利要求7所述的施工方法,其特征在于:所述步骤(2)中,所述检修孔支撑装置(1)安装完毕后,在检修孔支撑装置(1)和隧道衬砌(6)连接处涂上密封胶,进一步提高装置的密封性能,保证隧道衬砌(6)的安全性。

10.根据权利要求7所述的施工方法,其特征在于:所述步骤(3)中,钻孔装置(4)在电机(5)的作用下通过旋转方式对隧道衬砌(6)进行钻孔,受扩张钻头(4-1)的影响,钻孔大小大于扩张钻头(4-1);在钻孔过程,土层中地下水夹杂泥沙从排水注浆通道(3-1)中排出,为防止排水注浆通道(3-1)堵塞,需在注浆前用水泵对排水注浆通道(3-1)进行清孔处理;注浆完毕后,需在浆液初凝前将排水注浆限位装置(3)和钻孔装置(4)从钻孔中拆卸。