欢迎来到知嘟嘟! 联系电话:13336804447 卖家免费入驻,海量在线求购! 卖家免费入驻,海量在线求购!
知嘟嘟
我要发布
联系电话:13336804447
知嘟嘟经纪人
收藏
专利号: 202010878950X
申请人: 盐城工学院
专利类型:发明专利
专利状态:已下证
专利领域: 基本电气元件
更新日期:2024-02-23
缴费截止日期: 暂无
价格&联系人
年费信息
委托购买

摘要:

权利要求书:

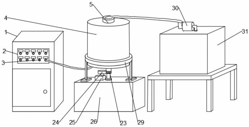
1.一种变频电源磁化装置,其特征在于:包括连接有变频电源柜(1)和水泵(30)的磁化装置主体(4);所述磁化装置主体(4)包括内层(7)和若干围绕内层(7)一圈的液体腔(6);所述磁化装置主体(4)上方设有液体总入口(5),液体总入口(5)处设有调节进入液体总入口(5)的液体流速的调节阀;

若干所述液体腔(6)内部上方均设有支撑挡块(8),所述支撑挡块(8)上开设有一通孔,作为第一分液口(9),所述第一分液口(9)与液体总入口(5)之间设置有一沿磁化装置主体(4)径向滑动的活动块(11),且活动块(11)的横截面积小于液体腔(6)横截面积、大于第一分液口(9)的横截面积;

所述活动块(11)通过弹性件(10)与液体总入口(5)连接,活动块(11)在弹性件(10)的作用下贴近液体总入口(5)的位置作为活动块(11)的第一极限位置;活动块(11)在由液体总入口(5)进入的液体的推动下靠近支撑挡块(8)、并封堵第一分液口(9)的位置为第二极限位置;活动块(11)在第一极限位置和第二极限位置之间滑动过程中,所述第一分液口(9)与液体总入口(5)之间通过活动块(11)周围的空隙相连通;各液体腔(6)上方的活动块(11)均处于贴近液体总入口(5)状态下拼接为围绕液体总入口(5)的环状结构;

各活动块(11)的重量与不同流速的液体产生的推力对应,所述内层(7)上方设有第二分液口(12),第二分液口(12)关闭,在液体总入口(5)流入的不同流速的液体的推动下,相对应重量的活动块(11)向支撑挡块(8)方向移动至位于第一极限位置与第二极限位置之间,液体通过该活动块(11)周围的空隙流入对应的第一分液口(9),重量小于该活动块(11)的其余活动块(11)在该水流速度冲击下滑动至第二极限位置,封堵第一分液口(9),重量大于该活动块(11)的其余活动块(11)维持在第一极限位置,阻断对应的第一分液口(9)与液体总入口(5)之间连通;

各所述液体腔(6)下方均设有对应的第一出液装置,所述内层(7)下方设有用以排出磁化液体第二出液口(20);所述液体腔(6)外部紧贴有磁化液体的漆包线(27),所述漆包线(27)与变频电源柜(1)连接,所述水泵(30)与液体总入口(5)相连。

2.根据权利要求1所述的一种变频电源磁化装置,其特征在于:若干所述第一出液装置包括第一出液口(15)若干和吸引石(19)若干,所述第一出液口(15)位于液体腔(6)下方,所述吸引石(19)位于磁化装置主体(4)下方凹槽内,所述第一出液口(15)位于液体腔(6)内的一侧设有磁性体(16),磁性体(16)在吸引石(19)的吸引下封堵第一出液口(15),所述磁性体(16)另一侧设有浮力块(17),所述浮力块(17)下方设有滑道(18),取出吸引石(19),液体腔(6)内水流浮力作用下浮力块(17)带动磁性体(16)沿滑道(18)朝远离第一出液口(15)方向移动,第一出液口(15)敞开同时打开第二出液口(20),释放液体腔(6)内磁化液体。

3.根据权利要求1所述的一种变频电源磁化装置,其特征在于:所述内层(7)内设有均匀聚磁条(13)若干,均匀聚磁条(13)均匀磁化装置主体(4)内部磁场,若干所述均匀聚磁条(13)呈环形分布且套有加强固定作用的固定套圈(14)。

4.根据权利要求3所述的一种变频电源磁化装置,其特征在于:环形分布的所述均匀聚磁条(13)内部设有喷淋转动装置(22),所述喷淋转动装置(22)下方固定有转动体(21),所述转动体(21)位于第二出液口(20)外层和液体腔(6)之间,所述转动体(21)与第二出液口(20)外层、液体腔(6)下端通过轴承转动连接;所述转动体(21)一侧设有喷淋水入口;所述转动体(21)下方固定有第一减速齿轮(23),所述第一减速齿轮(23)一侧啮合有第二减速齿轮(24),所述第二减速齿轮(24)通过驱动轴连接有电机(25),第二减速齿轮(24)随着电机(25)旋转并降低电机(25)转速,第一减速齿轮(23)随着第二减速齿轮(24)转动并降低其转速,从而带动转动体(21)和喷淋转动装置(22)旋转。

5.根据权利要求4所述的一种变频电源磁化装置,其特征在于:所述喷淋转动装置(22)包括转动杆(22‑1),所述转动杆(22‑1)固定在转动体(21)上方,所述转动杆(22‑1)上设有转动片(22‑2)若干,若干所述转动片(22‑2)上设有喷头(22‑3),所述喷头(22‑3)与喷淋水入口相通,喷头(22‑3)关闭时喷淋转动装置(22)搅拌液体使得被均匀磁化,喷头(22‑3)开启时喷淋转动装置(22)清洁内层(7)内部。

6.根据权利要求5所述的一种变频电源磁化装置,其特征在于:所述轴承上方和第一出液口15位于液体腔6的一侧设有密封垫片。

7.根据权利要求4所述的一种变频电源磁化装置,其特征在于:所述第二出液口(20)下方连接有磁化液体收集箱(26),所述电机(25)位于磁化液体收集箱(26)上方;所述磁化装置主体(4)外层设有架空磁化装置主体(4)的支撑架(29)。

8.根据权利要求1所述的一种变频电源磁化装置,其特征在于:所述漆包线(27)外层设有磁绝缘外壳(28)。

9.根据权利要求1所述的一种变频电源磁化装置,其特征在于:所述变频电源柜(1)位于磁化装置主体(4)一侧,包括控制面板(2)和控制面板(2)上设有的连接头(3),所述连接头(3)通过连接线与漆包线(27)相连,调节磁化装置主体(4)内部液体磁化强度。

10.根据权利要求1所述的一种变频电源磁化装置,其特征在于:所述水泵(30)位于磁化装置主体(4)另一侧并通过连接管连接液体总入口(5),所述水泵(30)另一端连接有液体箱(31),将液体箱(31)内待磁化的液体泵入磁化装置主体(4)内部。