欢迎来到知嘟嘟! 联系电话:13095918853 卖家免费入驻,海量在线求购! 卖家免费入驻,海量在线求购!
知嘟嘟
我要发布
联系电话:13095918853
知嘟嘟经纪人
收藏
专利号: 2020108043693
申请人: 孙玲
专利类型:发明专利
专利状态:已下证
专利领域: 医学或兽医学;卫生学
更新日期:2025-04-03
缴费截止日期: 暂无
价格&联系人
年费信息
委托购买

摘要:

权利要求书:

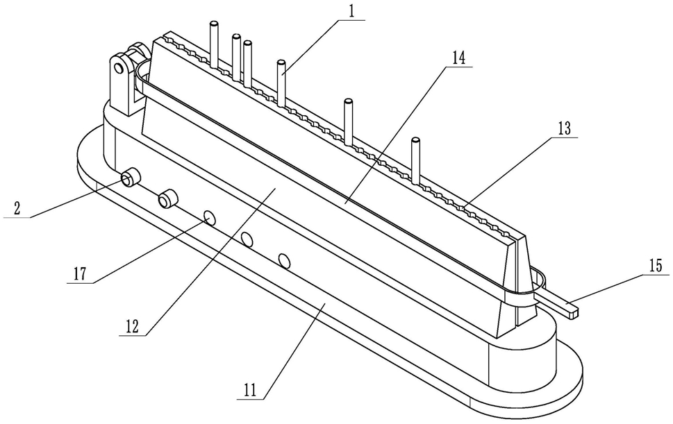
1.一种可替换针头的针灸用针的替换装置,包括底座(11),其特征在于:所述底座(11)为长条状,所述底座(11)顶部沿其长度方向对称设置一对固定片(12),所述固定片(12)朝向彼此一侧均呈线性均匀设置相对应的半槽(13),相对应的一对半槽(13)组成针灸针的针槽,所述固定片(12)外侧为斜面,所述固定片(12)顶部的厚度小于底部的厚度,所述底座(11)一端铰接压环(14),所述压环(14)环绕在两固定片(12)外侧,所述压环(14)远离铰接点一端设置压柄(15);所述可替换针头的针灸用针的替换装置与可替换针头的针灸用针配合使用,所述可替换针头的针灸用针包括针灸针(1)与握柄(2),所述握柄(2)底部设置插孔(3),所述握柄(2)通过插孔(3)与针灸针(1)插接,所述插孔(3)为锥形孔,所述插孔(3)直径自下向上逐渐减小。

2.根据权利要求1所述的一种可替换针头的针灸用针的替换装置,其特征在于:所述握柄(2)为轻质材料的握柄。

3.根据权利要求1所述的一种可替换针头的针灸用针的替换装置,其特征在于:所述握柄(2)外壁上设置网纹。

4.根据权利要求1所述的一种可替换针头的针灸用针的替换装置,其特征在于:两个所述固定片(12)之间的间隙小于针灸针的直径。

5.根据权利要求1所述的一种可替换针头的针灸用针的替换装置,其特征在于:所述底座(11)底部设置固定装置(16),所述固定装置(16)用于将底座(11)固定在桌面上。

6.根据权利要求5所述的一种可替换针头的针灸用针的替换装置,其特征在于:所述固定装置(16)为吸盘、磁铁、卡扣、双面胶中的一种。

7.根据权利要求1所述的一种可替换针头的针灸用针的替换装置,其特征在于:所述底座(11)侧面设置若干握柄存放槽(17)。

8.根据权利要求1‑7任一项所述的一种可替换针头的针灸用针的替换装置,其特征在于:所述压环(14)底部为斜边,所述压环(14)的厚度自靠近铰接点向远离铰接点一侧逐渐增大。