欢迎来到知嘟嘟! 联系电话:13336804447 卖家免费入驻,海量在线求购! 卖家免费入驻,海量在线求购!
知嘟嘟
我要发布
联系电话:13336804447
知嘟嘟经纪人
收藏
专利号: 2020107577509
申请人: 温州安荷桥科技有限公司
专利类型:发明专利
专利状态:已下证
专利领域: 液力机械或液力发动机;风力、弹力或重力发动机;其他类目中不包括的产生机械动力或反推力的发动机
更新日期:2024-03-22
缴费截止日期: 暂无
价格&联系人
年费信息
委托购买

摘要:

权利要求书:

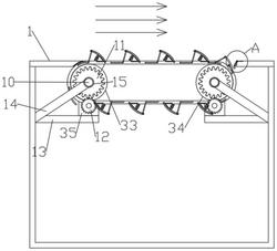
1.一种破坏气漩涡形成的风能利用型建筑,包括屋盖,其特征在于:所述屋盖上开设有若干矩形通孔,所述矩形通孔内设置有破风叶轮组件,所述破风叶轮组件包括叶片、皮带、第一带轮、第二带轮、传动装置和发电机,所述发电机固定设置在所述建筑内,所述皮带紧贴屋盖的内层且与所述屋盖密封配合,所述第一带轮和第二带轮分别设置在所述皮带的两端且同时与所述皮带传动连接,所述叶片均匀间隔布置在所述皮带的外侧,所述叶片的下端与所述皮带枢接且所述叶片与皮带之间设置有用于所叶片转动限位的转动限位机构,所述叶片的上部向皮带的外侧延伸,所述叶片沿第一带轮至第二带轮的方向接收风载,所述叶片接收风载后通过皮带带动第一带轮和第二带轮转动,所述第一带轮和第二带轮分别通过传动装置连接至所述发电机的输入端。

2.根据权利要求1所述的破坏气漩涡形成的风能利用型建筑,其特征在于:所述矩形通孔位于所述第二带轮一侧的边缘处设置有压紧板,所述压紧板的上端与所述屋盖铰接,所述压紧板与屋盖之间设置有第一弹性支撑装置,所述压紧板的下端朝背离第二带轮一侧弯曲。

3.根据权利要求2所述的破坏气漩涡形成的风能利用型建筑,其特征在于:所述叶片的截面呈弧形,所述叶片的中部朝第一带轮一侧弯曲,所述叶片的弯曲弧度与第二带轮的外圆弧度相适应。

4.根据权利要求3所述的破坏气漩涡形成的风能利用型建筑,其特征在于:所述叶片与皮带之间设置有第二弹性支撑装置。

5.根据权利要求4所述的破坏气漩涡形成的风能利用型建筑,其特征在于:所述转动限位机构包括限位拉杆,所述皮带的侧面开设有滑槽,所述限位拉杆的下端转动连接有一滑杆,所述滑杆滑动设置在所述滑槽内,所述限位拉杆的上端与所述叶片的上端枢接,使得所述叶片在接收风载时,所述限位拉杆斜撑于叶片与皮带之间。

6.根据权利要求1所述的破坏气漩涡形成的风能利用型建筑,其特征在于:所述传动装置包括传动轴、第一齿轮和第二齿轮,所述第一带轮和第二带轮的中心分别连接至所述传动轴,所述传动轴与第一齿轮传动连接,所述第二齿轮与第一齿轮转动啮合,所述第二齿轮连接至所述发电机的输出端,所述发电机通过支架固定设置在建筑内,所述支架上固设有一斜撑杆,所述斜撑杆的外端开设有与所述传动轴配合的转动连接孔。

7.根据权利要求1‑6任一项所述的破坏气漩涡形成的风能利用型建筑,其特征在于:所述叶片和皮带之间设置有用于对叶片和皮带之间的积水进行清理的积水吹扫装置。

8.根据权利要求7所述的破坏气漩涡形成的风能利用型建筑,其特征在于:所述积水吹扫装置包括第一连板、第二连板和气囊,所述第一连板固设在叶片的内侧,所述第二连板固设在皮带的外侧,所述气囊固设在第一连板和第二连板之间形成的夹角内,所述气囊的外侧设置有吹扫喷头。