欢迎来到知嘟嘟! 联系电话:13336804447 卖家免费入驻,海量在线求购! 卖家免费入驻,海量在线求购!
知嘟嘟
我要发布
联系电话:13336804447
知嘟嘟经纪人
收藏
专利号: 2020107272125
申请人: 苏州帅泽信息科技有限公司
专利类型:发明专利
专利状态:已下证
专利领域: 发电、变电或配电
更新日期:2023-08-12
缴费截止日期: 暂无
价格&联系人
年费信息
委托购买

摘要:

权利要求书:

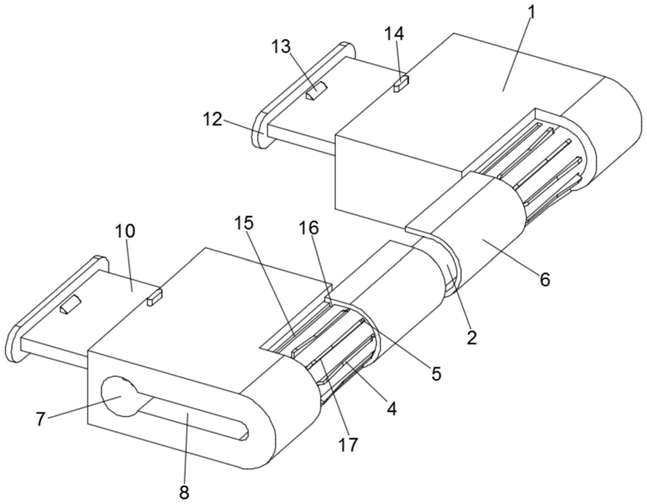
1.一种计算机用可拆卸线夹,其特征在于,包括板体(1)和导电柱(2),所述导电柱(2)两端对称设置有板体(1),所述导电柱(2)两端分别伸入同侧板体(1)内且导电柱(2)末端周向均布有若干弹性导电夹板(3),所述弹性导电夹板(3)呈半圆形分布,各弹性导电夹板(3)的外壁面上固定有翅片(4),所述翅片(4)远离导电柱(2)的一端设有斜坡(17),所述板体(1)上开设有与各翅片(4)对应的通槽(5),所述翅片(4)活动贯穿通槽(5),所述导电柱(2)上滑动套设有压板(6);

所述板体(1)远离弹性导电夹板(3)的一侧设有插孔(7),所述插孔(7)与弹性导电夹板(3)之间连通有第一槽口(8)和第二槽口(9),所述第一槽口(8)开口宽度小于第二槽口(9)开口宽度,所述板体(1)靠近插孔(7)的一侧滑动卡设有滑板(10),滑板(10)位于插孔(7)内的一端设有弧形顶块(11),所述滑板(10)两侧端面设有对称设置有弹性卡销(13),所述板体(1)两侧端面上对应设置有与弹性卡销(13)配合的弹性顶杆(14)。

2.根据权利要求1所述的计算机用可拆卸线夹,其特征在于,所述滑板(10)伸出端设有推拉板(12)。

3.根据权利要求1所述的计算机用可拆卸线夹,其特征在于,所述导电柱(2)外部包裹有屏蔽层。

4.根据权利要求1所述的计算机用可拆卸线夹,其特征在于,所述压板(6)截面呈U型。

5.根据权利要求4所述的计算机用可拆卸线夹,其特征在于,所述翅片(4)朝向导电柱(2)的一端设有圆角(18)。

6.根据权利要求4所述的计算机用可拆卸线夹,其特征在于,所述板体(1)两端面对称开设有滑槽(15),所述压板(6)上设有滑动嵌设在滑槽(15)内滑块(16)。

7.根据权利要求1-6任一所述的计算机用可拆卸线夹,其特征在于,所述滑板(10)内开设有第一腔室(19),所述第一腔室(19)上下两端对称活动卡设有弹性卡销(13),所述弹性卡销(13)位于第一腔室(19)内的一端固定有第一顶板(20),两顶板(20)之间设有第一弹簧(21);所述板体(1)上下两端对称开设有第二腔室(22),所述弹性顶杆(14)活动贯穿第二腔室(22),所述弹性顶杆(14)位于第二腔室(22)内的一端固定有第二顶板(23),所述第二顶板(23)与滑板(10)之间设有第二弹簧(24)。