欢迎来到知嘟嘟! 联系电话:13336804447 卖家免费入驻,海量在线求购! 卖家免费入驻,海量在线求购!
知嘟嘟
我要发布
联系电话:13336804447
知嘟嘟经纪人
收藏
专利号: 2020107111034
申请人: 重庆邮电大学
专利类型:发明专利
专利状态:已下证
专利领域: 测量;测试
更新日期:2025-12-19
缴费截止日期: 暂无
价格&联系人
年费信息
委托购买

摘要:

权利要求书:

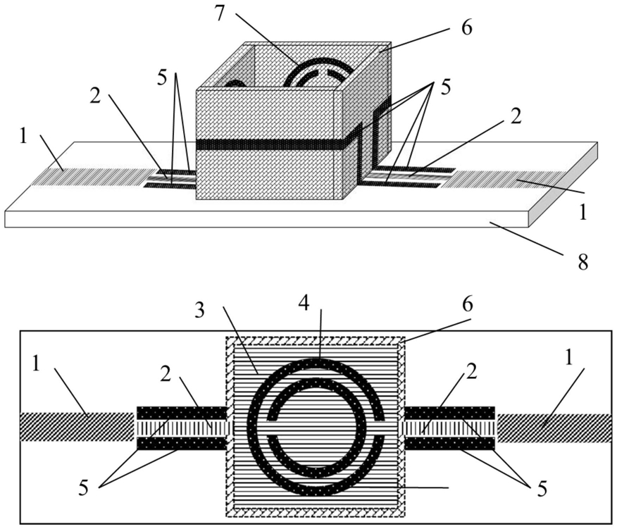
1.一种高灵敏度液体介电常数测量微波传感器,其特征在于:包括介质基板(8)和立体容器结构(6);

所述介质基板(8)包括两个馈电端口(1)、两组λ/4阶跃阻抗谐振器(2)、一个矩形辐射贴片(3),辐射贴片(3)中间加载CSRR结构(4);

立体容器结构(6)位于介质基板(8)中央,底部为介质基板,通过两条平行耦合线(5)实现馈电。

2.根据权利要求1所述的一种高灵敏度液体介电常数测量微波传感器,其特征在于:所述介质基板(8)为双端口微波谐振结构,包含50欧姆微带线的输入输出端口(1),中部为加载CSRR结构(4)的矩形辐射贴片(3),辐射贴片(3)与微带线通过λ/4阶跃阻抗谐振器(2)实现匹配。

3.根据权利要求1所述的一种高灵敏度液体介电常数测量微波传感器,其特征在于:所述辐射贴片(3)通过在金属平面蚀刻出CSRR(4)来提高微波电路的谐振特性,CSRR结构(4)的开口方向与微带线平行;

CSRR结构(4)环缝隙的长度为0.2mm,内径为4mm,内外环相距0.3mm。

4.根据权利要求1所述的一种高灵敏度液体介电常数测量微波传感器,其特征在于:所述立方体容器(6)位于介质基板(8)中央,底部为介质基板,立方体容器(6)的四壁外侧为微带线,通过λ/4阶跃阻抗谐振器(2)处的平行耦合线(5)实现馈电;内侧为四个与底面CSRR结构(4)完全相同的SRR(7)。

5.根据权利要求1所述的一种高灵敏度液体介电常数测量微波传感器,其特征在于:所述立体容器结构(6)四个侧面的内侧中心为四个形状大小完全一致的SRR结构(7),其中外环的开口方向朝下;

SRR结构(7)环缝隙的长度为0.2mm,内径为4mm,内外环相距0.3mm。

6.根据权利要求1所述的一种高灵敏度液体介电常数测量微波传感器,其特征在于:所述介质基板(8)为Rogers5880,相对介电常数为2.2,介质损耗为0.0009,厚度为0.787mm;

所述立方体容器(6)的材质为Rogers5880,相对介电常数为2.2,介质损耗为0.0009,厚度为0.127mm。