欢迎来到知嘟嘟! 联系电话:13336804447 卖家免费入驻,海量在线求购! 卖家免费入驻,海量在线求购!
知嘟嘟
我要发布
联系电话:13336804447
知嘟嘟经纪人
收藏
专利号: 2020107034964
申请人: 铜仁学院
专利类型:其他
专利状态:已下证
专利领域: 清洁
更新日期:2023-09-19
缴费截止日期: 暂无
价格&联系人
年费信息
委托购买

摘要:

权利要求书:

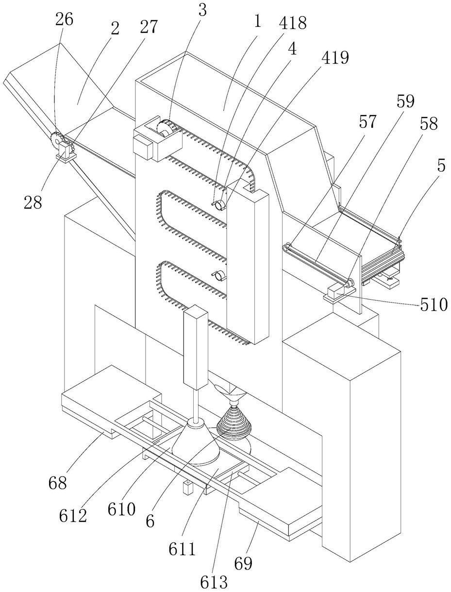
1.一种中草药清洗切片一体化加工设备,其特征在于:包括清洗箱(1)、设于清洗箱上的进料装置(2)、设于清洗箱内的运输装置(3)、设于清洗箱内的两组冲洗装置(4)、对清洗完成后的中草药切片的裁切装置(5)、位于清洗箱下方的污水过滤装置(6),所述冲洗装置(4)包括贯穿可转动设于清洗箱上的水管(41)、设于水管一端的进水口(42)、等距环形分布设于水管上的多组喷水管组(43),所述喷水管组(43)包括等距且一端转动设于水管上的多个喷嘴(44)、设于喷嘴上的第一滑槽(45)及第二滑槽(46),所述冲洗装置(4)还包括可移动套设于水管一端的第一套环(47)、可移动套设于水管另一端的第二套环(48)、转动设于第一套环上的第一转盘(49)、可移动贯穿设于清洗箱上且一端等距环形分布固定设于第一转盘上的多个第一导向杆(410)、同时固定设于多个第一导向杆上的第一板(411)、用于驱动第一板移动的第一气缸(412)、固定设于水管一端上的第一固定轴(413)、固定套设于第一固定轴上的第一皮带轮(414)、设于第二套环上的第一腔(415)、转动设于第二套环上的第三套环(416)、设于第三套环上的第二腔(417)、贯穿清洗箱上且固定设于第三套环上的第一进气管(418)及第二进气管(419)、两端分别固定设于第一套环和第二套环上且位于喷水管组两侧的第一出气管(420)及第二出气管(421)、设于第一出气管上的第一出气口(422)、设于第二出气管上的第二出气口(423)、一端可移动设于第一滑槽上另一端固定设于第一出气管上的第一滑杆(424)、一端可移动设于第二滑槽上另一端固定设于第二出气管上的第二滑杆(425)、固定设于另一组冲洗装置水管一端上的第二固定轴(426)、固定套设于第二固定轴上的第二皮带轮(427)、分别绕在第一皮带轮和第二皮带轮上的第一皮带(428)、用于驱动第二固定轴转动的第一电机(429),所述第一腔和第二腔形成储气腔(430),所述第一出气管和第二出气管与储气腔连通。

2.根据权利要求1所述的一种中草药清洗切片一体化加工设备,其特征在于:所述运输装置(3)包括设于清洗箱上的第一滑轨(31)、与第一滑轨对应设于清洗箱上的第二滑轨(32)、等距间隔设置的多个第一运输带(33)、位于相邻两个第一运输带间的多个第二运输带(34)、等距贯穿设于多个第一运输带和多个第二运输带上的多个连接杆(35)、等距固定设于第二运输带上的多个隔板(36)、固定设于隔板上的弧形板(37)、贯穿可转动设于清洗箱上的主动轴(38)、固定套设于主动轴一端上的第二转盘(39)、固定套设于主动轴另一端上的第三转盘(310)、等距环形分布设于第二转盘上的第一卡槽(311)、等距环形分布设于第三转盘上的第二卡槽(312)、用于驱动主动轴转动的第二电机(313),首端和末端的两个所述第一运输带分别沿着第一滑轨和第二滑轨上移动;部分所述连接杆两端分别卡在第一卡槽和第二卡槽内。

3.根据权利要求1所述的一种中草药清洗切片一体化加工设备,其特征在于:所述进料装置(2)包括设于清洗箱上的第一进料口(21)、固定设于第一进料口处的型腔(22)、固定设于型腔上的延长板(23)、设于延长板上的多个第一开槽(24)、转动设于型腔内的空心管(25)、固定套设于空心管上的第一齿轮(26)、与第一齿轮齿合的第二齿轮(27)、用于驱动第二齿轮转动的第三电机(28)、设于空心管上的第二进料口(29)。

4.根据权利要求1所述的一种中草药清洗切片一体化加工设备,其特征在于:所述裁切装置(5)包括设于清洗箱上的第一出料口(51)、设于的第一出料口处的导向板(52)、设于导向板上的多个第二开槽(53)、设于第一出料口处的橡胶弧形凸块(54)、转动设于清洗箱上的第一轴(55)及第二轴(56)、固定设于第一轴一端上的第三皮带轮(57)、固定设于第二轴一端上的第四皮带轮(58)、分别绕在第三皮带轮和第四皮带轮上的第二皮带(59)、用于驱动第四皮带轮转动的第四电机(510)、分别绕在第一轴和第二轴上的放料带(511)、等距设于放料带上的多个放料槽(512)、固定设于清洗箱上的靠板(513)、设于靠板上的斜槽(514)、固定设于清洗箱上的长杆(515)、可移动设于长杆上的切刀(516)、设于切刀上的刀刃(517)、与多个放料槽一一对应设于刀刃上的弧形切刀槽(518)、转动设于切刀上的滚轮(519)、固定设于切刀上的第一固定板(520)、位于第一固定板下方且固定设于清洗箱上的第二固定板(521)、两端分别固定设于第一固定板和第二固定板上的多个弹簧(522)、贯穿可移动设于第一固定板上且一端固定设于第二固定板上的两个第一固定杆(523)、固定设于第二固定板上用于驱动第一固定板上下移动的第二气缸(524)。

5.根据权利要求1所述的一种中草药清洗切片一体化加工设备,其特征在于:所述污水过滤装置(6)包括设于清洗箱下端的出水口(61)、设于清洗箱下方的圆盘(62)、用于圆盘转动的第五电机(63)、转动设于圆盘上的两组过滤组件(64)、设于其中一组过滤组件正上方的锥形罩壳(65)、由上到下等距设于锥形罩壳上的多个锥形环(66)、用于驱动锥形罩壳上下移动的第三气缸(67)、设于锥形罩壳两侧的第四气缸(68)及第五气缸(69)、固定设于第四气缸伸缩杆上的第一接料板(610)、固定设于第五气缸伸缩杆上的第二接料板(611)、固定设于清洗箱上的第一刮板(612)及第二刮板(613)、固定套设于其中一组过滤组件上的第三齿轮(614)、固定套设于另一组过滤组件上的第四齿轮(615)、与第四齿轮齿合的第五齿轮(616)、用于驱动第五齿轮转动的第六电机(617),所述过滤组件(64)包括位于出水口正下方且转动设于圆盘上的第一管体(641)、固定设于第一管体上的第一空心半球(642)、固定设于第一空心半球上的台阶状锥形体(643)、设于台阶状锥形体上的多个过滤孔(644)、固定套设于台阶状锥形体上的过滤海绵(645)。