欢迎来到知嘟嘟! 联系电话:13336804447 卖家免费入驻,海量在线求购! 卖家免费入驻,海量在线求购!
知嘟嘟
我要发布
联系电话:13336804447
知嘟嘟经纪人
收藏
专利号: 202010658451X
申请人: 中国地质大学(武汉)
专利类型:发明专利
专利状态:已下证
专利领域: 道路、铁路或桥梁的建筑
更新日期:2024-01-05
缴费截止日期: 暂无
价格&联系人
年费信息
委托购买

摘要:

权利要求书:

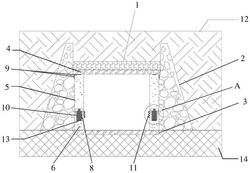
1.一种高填方路基涵洞主动式综合减荷结构,其特征在于,包括:涵洞,设于地基上,包括涵洞基板、设于所述涵洞基板两端的涵洞边墙和涵洞盖板,所述涵洞边墙包括上墙和下墙,所述下墙固定于所述涵洞基板上,所述上墙位于所述下墙上方,与所述下墙之间形成容纳空间,所述上墙可沿上下向移动安装于所述下墙,所述涵洞盖板盖合于两个所述上墙顶部;

减载槽,固定于所述涵洞盖板顶部,所述减载槽内填充有轻质柔性材料;所述涵洞两侧分别设有土石边墙,所述土石边墙顶部凸出所述减载槽设置;以及,加压式自适应系统,包括单片机、多个压力传感器以及多个顶伸装置;所述单片机设于所述涵洞内,多个所述压力传感器布设于所述涵洞顶部受力集中的位置,并与所述单片机电连接;所述顶伸装置设于所述容纳空间内,且在所述涵洞延伸方向上间隔设置,所述顶伸装置用于初期顶伸所述上墙底部及后期的应力调节,多个所述顶伸装置与所述单片机电连接,所述单片机用于根据所述压力传感器监测到的压力,调节各所述顶伸装置对所述上墙施加的压力。

2.如权利要求1所述的高填方路基涵洞主动式综合减荷结构,其特征在于,所述下墙顶部向上凸伸设有两个相对的限位条,所述限位条沿所述涵洞延伸方向延伸;

所述上墙底部向下凸伸形成两个相对的卡接条,所述卡接条沿所述涵洞延伸方向延伸,所述卡接条与所述限位条卡接配合,以使所述卡接条可沿上下移动安装于所述限位条上。

3.如权利要求2所述的高填方路基涵洞主动式综合减荷结构,其特征在于,还包括柔性防水件,所述柔性防水件沿所述涵洞延伸方向延伸,上端固定于所述上墙内侧壁,下端固定于所述下墙内侧壁。

4.如权利要求3所述的高填方路基涵洞主动式综合减荷结构,其特征在于,所述柔性防水件与所述上墙和/或所述下墙可拆卸连接。

5.如权利要求1所述的高填方路基涵洞主动式综合减荷结构,其特征在于,所述顶伸装置为电动液压千斤顶。

6.如权利要求1所述的高填方路基涵洞主动式综合减荷结构,其特征在于,所述土石边墙的高度比所述涵洞高出所述涵洞总宽度的1/20‑1/5。

7.如权利要求1所述的高填方路基涵洞主动式综合减荷结构,其特征在于,所述压力传感器布设于所述上墙顶部与所述涵洞盖板之间;和/或,所述压力传感器布设于所述上墙外侧壁。

8.如权利要求1所述的高填方路基涵洞主动式综合减荷结构,其特征在于,所述下墙与所述涵洞基板通过榫卯结构连接。

9.如权利要求1所述的高填方路基涵洞主动式综合减荷结构,其特征在于,所述减载槽的高度为所述涵洞顶部回填土高度的1/30。

10.一种减荷方法,其特征在于,使用如权利要求1至9任一项所述的高填方路基涵洞主动式综合减荷结构,包括以下步骤:施工放样后,在处理后的地基上施工涵洞和加压式自适应系统,在初始状态时,利用各顶伸装置对上墙底部施加大小统一的向上的压力;

在涵洞两侧施工土石边墙,在涵洞顶部的涵洞盖板上方施工减载槽,在减载槽内分层填充轻质柔性材料;

按相关规范要求将路基填土回填至设计高度;

利用压力传感器监测涵洞边墙各处受到的压力,当监测到压力值具有明显差异时,利用单片机控制与压力较大的压力传感器相对的顶伸装置卸载,使涵洞本身工作环境维持在安全范畴以内。