欢迎来到知嘟嘟! 联系电话:13336804447 卖家免费入驻,海量在线求购! 卖家免费入驻,海量在线求购!
知嘟嘟
我要发布
联系电话:13336804447
知嘟嘟经纪人
收藏
专利号: 2020105642768
申请人: 浙江工业大学
专利类型:发明专利
专利状态:已下证
专利领域: 医学或兽医学;卫生学
更新日期:2023-08-24
缴费截止日期: 暂无
价格&联系人
年费信息
委托购买

摘要:

权利要求书:

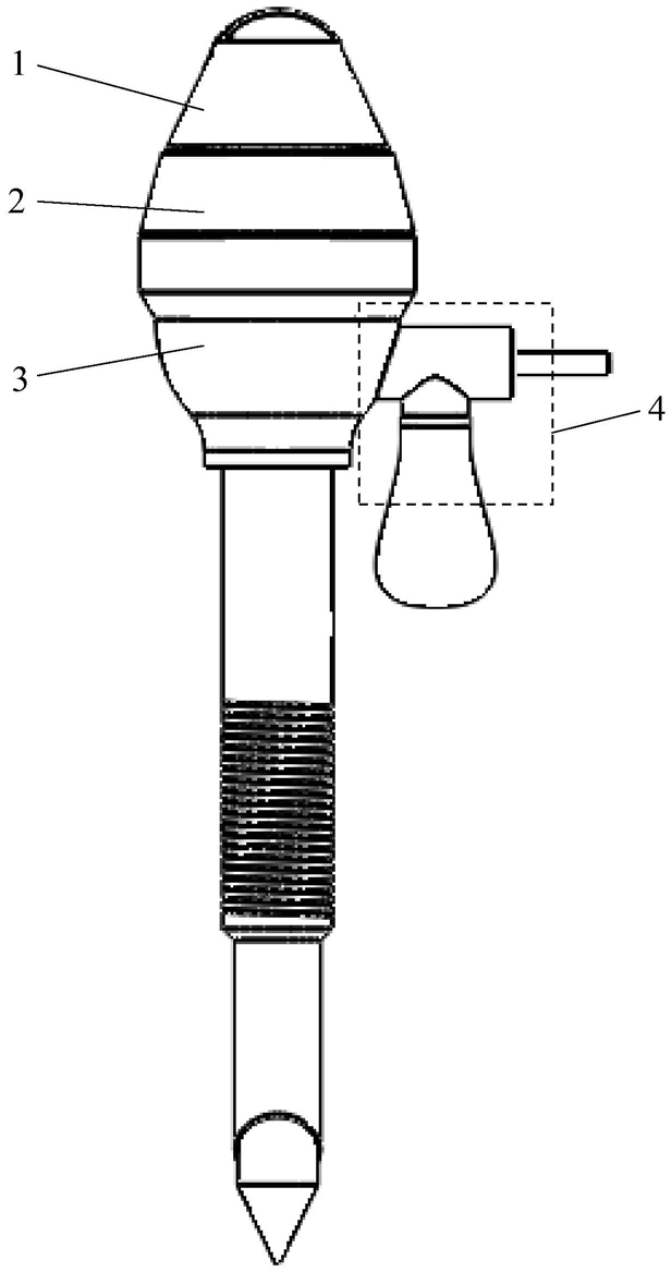
1.一种能够避免积液回流的一次性穿刺器,其特征在于,所述穿刺器包括穿刺杆、连接件、穿刺套管以及积液处理装置,所述积液处理装置包括手术刀和一次性收集袋,所述穿刺杆通过连接件与穿刺套管配合成一体,所述穿刺套管上设置有三通管,密封膜嵌于所述穿刺套管的上端口以及三通管的右端口处,所述密封膜中间设有用于使穿刺杆以及手术刀穿过的开口,所述手术刀用于夹持吸附积液的纱布,纱布通过三通管道放入所述一次性收集袋中;所述手术刀包括纵向手术刀和横向手术刀,当穿刺器刺入到腹腔内的相应位置后,取出穿刺杆,用纵向手术刀夹持纱布进入腹腔,对腹腔内的积液进行吸附;吸附完成后,缓慢拉出纵向手术刀至相应的位置;此时,操作横向手术刀夹取纵向手术刀中的纱布,缓慢向右拉出至对应位置后,将纱布放入所述一次性收集袋中。

2.如权利要求1所述的一种能够避免积液回流的一次性穿刺器,其特征在于,所述穿刺套管设计成漏斗形,管壁上设有设定长度的螺纹,便于穿刺中稳定穿刺器。

3.如权利要求2所述的一种能够避免积液回流的一次性穿刺器,其特征在于,所述穿刺套管的上端口为漏斗口。