欢迎来到知嘟嘟! 联系电话:13095918853 卖家免费入驻,海量在线求购! 卖家免费入驻,海量在线求购!
知嘟嘟
我要发布
联系电话:13095918853
知嘟嘟经纪人
收藏
专利号: 2020105455070
申请人: 扬州实略信息科技有限公司
专利类型:发明专利
专利状态:已下证
专利领域: 基本上无切削的金属机械加工;金属冲压
更新日期:2025-07-02
缴费截止日期: 暂无
价格&联系人
年费信息
委托购买

摘要:

权利要求书:

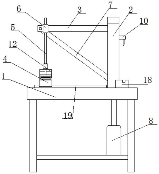
1.一种电缆自动等距压紧切割机构,包括工作台(1),其特征在于,所述工作台(1)上设置有一个矩形门框,所述矩形门框内设置有切刀,所述切刀的垂直下方设置有刀座,所述切刀通过L形板连接到升降气缸的活塞杆的端部,所述升降气缸的活塞杆垂直设置,能够带动切刀垂直移动,所述矩形门框内侧水平对称连接有两个转动杆,所述转动杆的末端均设置有拉杆,拉杆的末端设置有滑块,所述矩形门框内侧面开设有竖直的滑轨,所述滑块置于滑轨中,两个所述滑块通过一根水平杆连接,所述水平杆的中部与活塞杆连接,活塞杆升降过程中带动滑块同步升降;

每组所述转动杆和拉杆的连接端均设置有垂直导向柱,所述垂直导向柱套设有一个滑套,每组所述转动杆和拉杆均匀滑套铰接,每个所述垂直导向柱的下端分别滑座,所述工作台上设置有两道平行的滑座轨道,所述滑座可移动设置于滑座轨道中,当活塞杆下降时,滑套被拉动靠近矩形门框,滑座移动到靠近矩形门框时,同步带动电缆靠近切刀,切刀下降,将电缆切割,活塞杆上升,切刀升起,滑座复位。

2.根据权利要求1所述的一种电缆自动等距压紧切割机构,其特征在于,所述刀座设置于工作台上,所述刀座的两侧均设置有电缆压紧件,电缆压紧件均与刀座平行,垂直于电缆移动方向;

所述电缆压紧件包括底部和顶部,所述底部固定在工作台上,顶部两端分别通过绳索与活塞杆连接,直到活塞杆上升到最高限位时,顶部与底部分开。

3.根据权利要求1所述的一种电缆自动等距压紧切割机构,其特征在于,所述电缆底板横跨在两个滑座之上,电缆底板开设有多个平行的半圆形电缆穿孔,所述电缆压板开设有与电缆底板数量一致、位置相对的半圆形电缆穿孔。

4.根据权利要求1所述的一种电缆自动等距压紧切割机构,其特征在于,所述电缆压板上方设置有安装架,安装架呈矩形框架形状,两端固定在工作台上,安装架上设置有压紧气缸,压紧气缸的活塞杆穿过安装架,与电缆压板连接。

5.根据权利要求1所述的一种电缆自动等距压紧切割机构,其特征在于,所述滑座之间设置有电缆底板和电缆压板,电缆端部压实在电缆底板和电缆压板之间。