欢迎来到知嘟嘟! 联系电话:13336804447 卖家免费入驻,海量在线求购! 卖家免费入驻,海量在线求购!
知嘟嘟
我要发布
联系电话:13336804447
知嘟嘟经纪人
收藏
专利号: 2020104768523
申请人: 安徽汇新信息科技有限公司
专利类型:发明专利
专利状态:已下证
专利领域: 电通信技术
更新日期:2025-04-08
缴费截止日期: 暂无
价格&联系人
年费信息
委托购买

摘要:

权利要求书:

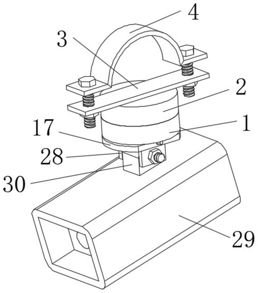
1.一种易调节的监控用摄像头基座,包括安装座(1)和设置在安装座(1)上方的上盖(2),其特征在于:所述安装座(1)为一个圆盖结构,其盖体的顶面开设有一级槽口(6),所述一级槽口(6)并未完全贯穿盖体,且一级槽口(6)的底面开设有转孔(7),所述转孔(7)完全贯穿其盖体表面,且转孔(7)的直径小于一级槽口(6)的直径,且一级槽口(6)的底面设置有一级限位板(8),所述一级限位板(8)为夹角为九十度的扇形板体,且安装座(1)的顶面的边缘处开设有导杆孔(9),且其盖体环形部分的内侧壁上开设有一级齿槽结构(11),且盖体的下表面设置有环形板(12),所述上盖(2)为一个盖体结构,且其盖体的下表面固定安装在安装座(1)的上表面上,所述上盖(2)的上表面固定焊接有下位安装板(3),所述下位安装板(3)的上方设置有上位卡箍(4),且两者的端部均开设有安装孔,且两者之间通过螺栓相连接。

2.如权利要求1所述的一种易调节的监控用摄像头基座,其特征在于:所述安装座(1)的上表面固定安装有蓄电池组(5),所述蓄电池组(5)与电源电连接。

3.如权利要求2所述的一种易调节的监控用摄像头基座,其特征在于:所述安装座(1)上的转孔(7)中转动设置有转杆(13),所述转杆(13)的下端设置有插孔座(14),且其上端设置有限位块(15),所述插孔座(14)为一块圆形板,且其板体的上表面设置有二级限位板(16),所述二级限位板(16)与一级限位板(8)结构相同,且两者为错位设置,所述插孔座(14)的下表面设置有插孔(33),所述插孔(33)共设置有两个,且其内部均设置有导电片,且两导电片分别与蓄电池组(5)的正负极相连接。

4.如权利要求1所述的一种易调节的监控用摄像头基座,其特征在于:所述安装座(1)的下方设置有安装板(17),所述安装板(17)为一个圆柱体和椭圆柱组合形成,且其圆柱体的上表面设置有导杆(18),所述导杆(18)的位置与安装座(1)上的导杆孔(9)的位置相对应,且导杆孔(9)的孔体位置处设置有缓冲弹簧(10),且导杆(18)活动设置在导杆孔(9)之中,且安装板(17)的板体上方设置有导线柱(19),所述导线柱(19)共设置有两根,且其与插孔(33)位置相对应,且其两根柱体分别与监控设备的正负极接线头相连接。

5.如权利要求4所述的一种易调节的监控用摄像头基座,其特征在于:所述安装板(17)的板体上表面设置有限位结构(20),所述限位结构(20)共对称设置有两个,且其为矩形块结构,且其靠外端开设有安装槽,其靠内侧位置设置有二级导杆槽(22),且安装板(17)上开设有活动槽(21),所述活动槽(21)与安装槽相连通,且安装槽的槽口中活动设置有卡块(23)。

6.如权利要求5所述的一种易调节的监控用摄像头基座,其特征在于:所述卡块(23)为一个矩形块,且其大小与安装槽的槽口大小相吻合,且其一端设置有二级导杆(24),所述二级导杆(24)的杆体上套设有复位弹簧(25),且二级导杆(24)的杆体活动设置在二级导杆槽(22)的槽口之中,且卡块(23)的另一端开设有二级齿槽结构,且二级齿槽结构与一级齿槽结构(11)相吻合,且两者为啮合设置,所述卡块(23)的下表面设置有连接杆(26),且连接杆(26)的靠外侧端固定连接有按动杆(27),且按动杆(27)的一端突出在活动槽(21)的外端。

7.如权利要求5所述的一种易调节的监控用摄像头基座,其特征在于:所述安装板(17)的下表面通过一体铸造成型有固定结构(28),所述固定结构(28)为对称设置的一组矩形块,且其上开设有螺栓孔,且安装板(17)的下方设置有摄像头外壳(29),所述摄像头外壳(29)的上端设置有安装块(30),且摄像头外壳(29)通过安装块(30)固定安装在安装板(17)下端的固定结构(28)上。

8.如权利要求7所述的一种易调节的监控用摄像头基座,其特征在于:所述摄像头外壳(29)中设置有摄像头(31),且摄像头外壳(29)的壳体左右两侧壁为金属材质,且其侧壁分为内外层结构,且内层为导热材质,其外层为保温材质,且两层结构之间设置有电阻加热丝(32),且电阻加热丝(32)通过摄像头外壳内壁上的温控开关与电源电连接。