欢迎来到知嘟嘟! 联系电话:13336804447 卖家免费入驻,海量在线求购! 卖家免费入驻,海量在线求购!
知嘟嘟
我要发布
联系电话:13336804447
知嘟嘟经纪人
收藏
专利号: 2020104568052
申请人: 台州学院
专利类型:发明专利
专利状态:已下证
专利领域: 缝纫;绣花;簇绒
更新日期:2023-08-24
缴费截止日期: 暂无
价格&联系人
年费信息
委托购买

摘要:

权利要求书:

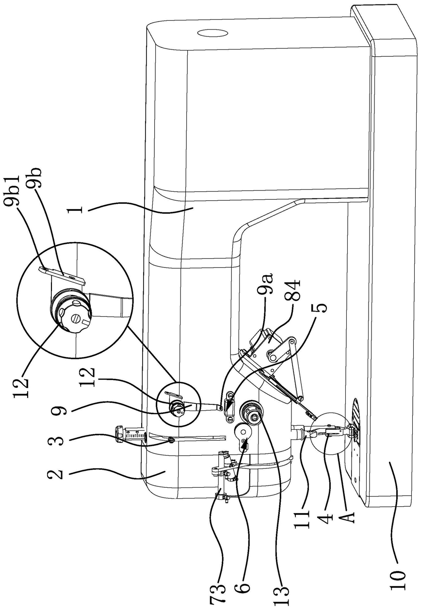
1.一种工业缝纫机自动穿线装置中的导向穿线结构,工业缝纫机包括机壳(1)、固设在所述机壳(1)一端的侧盖(2)、挑线杆(3)和机针(4),所述机针(4)上具有穿线孔(41),其特征在于,所述导向穿线结构包括铰接在所述侧盖(2)内侧且能够摆动的转动连杆(71)、能够驱动所述转动连杆(71)摆动至所述机针(4)的穿线孔(41)一侧的驱动件(72)、固设在所述机壳(1)下侧的导向板(85)以及滑动设置在所述导向板(85)上的穿线连杆(81);所述转动连杆(71)的一端固设有夹线气缸(73)和顶线气缸(74),所述夹线气缸(73)的输出轴外端上固设有夹线板(75),所述夹线板(75)上具有开口槽(75a),所述顶线气缸(74)的输出轴上固设有朝向所述开口槽(75a)的顶杆(76);所述转动连杆(71)和导向板(85)分别设置在所述机针(4)的两侧,所述导向板(85)的一端与所述机壳(1)固连,另一端倾斜向下正对处于上升状态的所述机针(4);所述穿线连杆(81)朝向所述机针(4)的一端固设有能够变形的穿线勾(82),所述穿线勾(82)采用具有韧性的钢丝制成且穿线勾(82)呈菱形;所述机壳(1)上还设有能够驱动所述穿线连杆(81)在所述导向板(85)上沿其长度方向往复移动的穿线电机(83);所述穿线电机(83)能够带动所述穿线勾(82)穿过所述机针(4)的穿线孔(41)且使所述穿线勾(82)位于所述机针(4)靠近所述顶线气缸(74)的一侧。

2.根据权利要求1所述的工业缝纫机自动穿线装置中的导向穿线结构,其特征在于,所述导向板(85)上设有沿其长度方向的导向槽(85a),所述穿线连杆(81)的上端滑动插设在所述导向槽(85a)内且能沿所述导向槽(85a)的长度方向往复移动,所述穿线连杆(81)的下端伸出所述导向槽(85a)外,所述穿线勾(82)固设在所述穿线连杆(81)的下端端面上。

3.根据权利要求1或2所述的工业缝纫机自动穿线装置中的导向穿线结构,其特征在于,所述机壳(1)上固设有电机支架(84),所述电机支架(84)和导向板(85)均通过螺钉固定在所述机壳(1)的下侧,所述穿线电机(83)设置在所述电机支架(84)上且两者通过螺钉相固连。

4.根据权利要求2所述的工业缝纫机自动穿线装置中的导向穿线结构,其特征在于,所述驱动件(72)固设在所述侧盖(2)的内壁上,所述转动连杆(71)与所述驱动件(72)之间设有传动连杆(77),所述传动连杆(77)的一端与所述驱动件(72)通过传动曲柄(78)相连,所述传动曲柄(78)的内端套设在驱动件(72)的输出轴上,外端沿驱动件(72)的输出轴径向方向延伸且该端与所述传动连杆(77)的端部相铰接,所述传动连杆(77)的另一端与所述转动连杆(71)上远离所述夹线气缸(73)的一端相铰接,所述转动连杆(71)的一侧中部或靠近与所述传动连杆(77)相接的位置设有连杆支柱(79),所述连杆支柱(79)的端部固定在所述侧盖(2)内壁上;所述转动连杆(71)与所述连杆支柱(79)之间可转动连接。

5.根据权利要求4所述的工业缝纫机自动穿线装置中的导向穿线结构,其特征在于,所述转动连杆(71)呈长条板状,所述夹线气缸(73)的壳体和顶线气缸(74)的壳体间隔固设在转动连杆(71)上,所述夹线气缸(73)和顶线气缸(74)均从转动连杆(71)的一侧穿至另一侧,所述夹线气缸(73)的壳体端部具有抵靠板(7a),所述抵靠板(7a)与所述夹线板(75)相对设置,所述夹线气缸(73)的活塞杆能够带动夹线板(75)朝向抵靠板(7a)方向移动。

6.根据权利要求5所述的工业缝纫机自动穿线装置中的导向穿线结构,其特征在于,所述驱动件(72)为气缸或电机;所述顶杆(76)的端部开有V型槽(76a)。

7.根据权利要求5所述的工业缝纫机自动穿线装置中的导向穿线结构,其特征在于,所述穿线电机(83)的输出轴上固设有电机曲柄(83a),所述电机曲柄(83a)与所述穿线连杆(81)通过传动杆(86)相连;所述电机曲柄(83a)的内端套设在穿线电机(83)的输出轴上并通过锁紧螺钉固定相连,所述电机曲柄(83a)的外端沿穿线电机(83)的输出轴径向延伸,所述传动杆(86)的一端与电机曲柄(83a)的外端相铰接;所述穿线连杆(81)的一侧中部具有弯折的凸出连接部(81a),所述凸出连接部(81a)通过螺钉与所述传动杆(86)的另一端相铰接。

8.根据权利要求7所述的工业缝纫机自动穿线装置中的导向穿线结构,其特征在于,所述导向板(85)的两侧具有向下弯折的侧板(85b),两个侧板(85b)的外侧边向相对方向再次弯折形成所述导向槽(85a),其中一个侧板(85b)上开设有沿其长度方向的让位条形槽(85c),所述凸出连接部(81a)滑动穿过所述让位条形槽(85c)。

9.根据权利要求8所述的工业缝纫机自动穿线装置中的导向穿线结构,其特征在于,所述穿线勾(82)的一个棱角与所述穿线连杆(81)的端部相固连,与之相对的另一个棱角正对处于上升状态的所述机针(4)的穿线孔(41),所述穿线连杆(81)下端上侧间隔固设有限位条一(87)和限位条二(88),所述限位条一(87)和限位条二(88)并排间隔设置,所述限位条一(87)和限位条二(88)之间形成沿穿线连杆(81)长度方向的通道,所述限位条一(87)和限位条二(88)的端部凸出于所述穿线连杆(81)的下端且分别朝向所述穿线连杆(81)两侧倾斜。

10.根据权利要求9所述的工业缝纫机自动穿线装置中的导向穿线结构,其特征在于,所述穿线连杆(81)的下端端部一侧具有缺口(81b),另一侧具有护板(81c),所述护板(81c)朝向缺口(81b)的一侧开设有容纳槽(81d),所述穿线勾(82)固设在所述穿线连杆(81)的端部时,所述穿线勾(82)的前端伸出护板(81c)的前端面,所述穿线勾(82)的一侧部分位于所述缺口(81b)处,另一侧部分位于所述容纳槽(81d)内。

我要求购
我不想找了,帮我找吧
您有专利需要变现?
我要出售
智能匹配需求,快速出售