欢迎来到知嘟嘟! 联系电话:13336804447 卖家免费入驻,海量在线求购! 卖家免费入驻,海量在线求购!
知嘟嘟
我要发布
联系电话:13336804447
知嘟嘟经纪人
收藏
专利号: 2020104512521
申请人: 河南职业技术学院
专利类型:发明专利
专利状态:已下证
专利领域: 印刷;排版机;打字机;模印机〔4〕
更新日期:2024-01-05
缴费截止日期: 暂无
价格&联系人
年费信息
委托购买

摘要:

权利要求书:

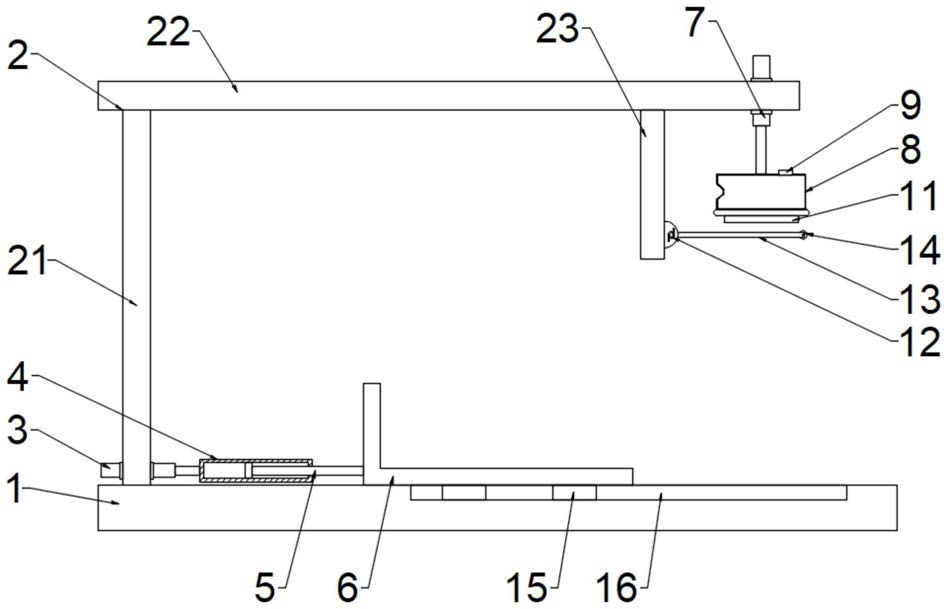
1.一种财务报表整合设备,包括底座(1),底座(1)上方固定连接有支架(2),底座(1)左侧固定连接有第一伸缩驱动机构(3),第一伸缩驱动机构(3)伸缩端固定连接有导套(4),导套(4)内侧滑动连接有限位伸缩杆(5),限位伸缩杆(5)末端固定连接有滑动架(6),其特征在于,所述支架(2)顶部固定连接有第二伸缩驱动机构(7),第二伸缩驱动机构(7)伸缩端固定连接有油墨箱(8),油墨箱(8)左侧向内侧凹陷,凹陷处开设有油墨供给口(9),所述油墨供给口(9)内侧转动连接有挡片(10),油墨箱(8)底部固定连接有印章(11),支架(2)上通过扭簧(12)转动连接有水平杆(13),水平杆(13)右端转动连接有油墨辊(14),油墨辊(14)与印章(11)相配合,所述油墨辊(14)外尺寸大于油墨供给口(9)外尺寸,滑动架(6)滑动至右侧停歇时,第二伸缩驱动机构(7)上下伸缩进行盖章,第二伸缩驱动机构(7)向下运动,油墨辊(14)沿着印章(11)表面滚动后涂抹上油墨。

2.根据权利要求1所述的财务报表整合设备,其特征在于,所述滑动架(6)底部固定连接有滑块(15),滑块(15)与底座(1)上开设的滑槽(16)滑动连接。

3.根据权利要求1所述的财务报表整合设备,其特征在于,所述挡片(10)为弹性材质。

4.根据权利要求3所述的财务报表整合设备,其特征在于,所述挡片(10)为硅胶材质。

5.根据权利要求1所述的财务报表整合设备,其特征在于,所述印章(11)与油墨箱(8)采用活动扣接或螺纹连接。

6.根据权利要求1‑5任一所述的财务报表整合设备,其特征在于,所述印章(11)与油墨箱(8)之间固定连接有吸附棉。

7.根据权利要求1所述的财务报表整合设备,其特征在于,所述第一伸缩驱动机构(3)与第二伸缩驱动机构(7)为电动伸缩推杆或曲柄滑块机构。

8.根据权利要求1或2或3或4或5或7所述的财务报表整合设备,其特征在于,所述滑动架(6)为L型。

9.根据权利要求8所述的财务报表整合设备,其特征在于,所述支架(2)包括立柱(21),立柱(21)顶部固定连接有上横杆(22),上横杆(22)右侧固定连接有垂直立杆(23),水平杆(13)左端与垂直立杆(23)转动连接,第二伸缩驱动机构(7)固定于上横杆(22)右端。

我要求购
我不想找了,帮我找吧
您有专利需要变现?
我要出售
智能匹配需求,快速出售