欢迎来到知嘟嘟! 联系电话:13336804447 卖家免费入驻,海量在线求购! 卖家免费入驻,海量在线求购!
知嘟嘟
我要发布
联系电话:13336804447
知嘟嘟经纪人
收藏
专利号: 2020104362172
申请人: 深圳市创远天成建筑设计有限公司
专利类型:发明专利
专利状态:已下证
专利领域: 发电、变电或配电
更新日期:2025-12-19
缴费截止日期: 暂无
价格&联系人
年费信息
委托购买

摘要:

权利要求书:

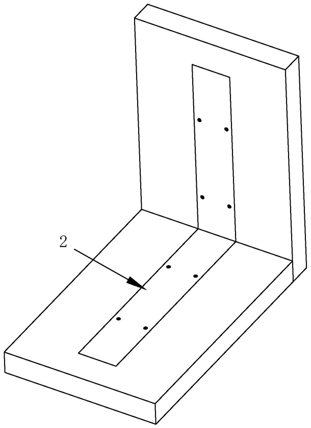
1.一种建筑内暗藏电气管线的布置结构,其特征在于,包括设置在墙壁表面上和或室内地面上的走线槽(1);走线槽(1)中固定设置有用于放置线路的走线盒(2),走线盒(2)与走线槽(1)相适配;走线盒(2)远离走线槽(1)底部一侧开口,并且在开口处设置有盒盖(3),盒盖(3)与走线盒(2)可拆式连接,盒盖(3)远离走线槽(1)槽底一侧表面与走线槽(1)槽口边缘平齐。

2.根据权利要求1所述的建筑内暗藏电气管线的布置结构,其特征在于,所述走线盒(2)的两端处分别开口,并且在两端开口处均设置有转换插座(5)。

3.根据权利要求2所述的建筑内暗藏电气管线的布置结构,其特征在于,所述走线盒(2)内侧壁上固定设置有滑块(22),所述转换插座(5)上设置有与滑块(22)滑动相适配的滑槽(52);所述转换插座(5)上还设置有限位组件(6),限位组件(6)用于固定转换插座(5)在走线盒(2)中的位置。

4.根据权利要求3所述的建筑内暗藏电气管线的布置结构,其特征在于,所述限位组件(6)包括:齿条(61)、扇形齿轮(62)以及限位杆(63),齿条(61)固定设置在滑块(22)靠近所述转换插座(5)一侧的表面上;扇形齿轮(62)转动设置在转换插座(5)上且与齿条(61)啮合,扇形齿轮(62)的扇面上设置有第一限位孔(621);转换插座(5)上设置有第二限位孔(53),限位杆(63)同时插设在第一限位孔(621)和第二限位孔(53)中。

5.根据权利要求1所述的建筑内暗藏电气管线的布置结构,其特征在于,所述走线盒(2)中还设置有隔线件(7),隔线件(7)上并排设置有多个隔线孔(71);隔线件(7)与走线盒(2)可拆式连接。

6.根据权利要求5所述的建筑内暗藏电气管线的布置结构,其特征在于,所述隔线件(7)下方设置有用于固定隔线件(7)位置的定位组件(8),定位组件(8)包括:安装块(81)、椭球件(82)、顶杆(83)以及定位吸盘(84),安装块(81)设置在所述隔线件(7)下方,安装块(81)内部设置有T形腔(811),T形腔(811)竖直段上端向上延伸至安装块(81)上表面,T形腔(811)水平段两端分别与安装块(81)两个平行的侧表面连通,并且两端口处分别与走线盒(2)中两内侧壁相对;椭球件(82)活动设置在T形腔(811)中竖直段与水平段的连接处,椭球件(82)上端与隔线件(7)固定连接;顶杆(83)设置有两根,两根顶杆(83)分别滑动设置在T形腔(811)中水平段两端处,并且两根顶杆(83)相互靠近的一端分别与椭球件(82)表面抵接;定位吸盘(84)也设置有两个,并且两个定位吸盘(84)分别固定设置在两根顶杆(83)相互远离一端的端部处。

7.根据权利要求6所述的建筑内暗藏电气管线的布置结构,其特征在于,所述顶杆(83)在与所述椭球件(82)抵接的表面上设置有弧形引导槽(833),弧形引导槽(833)的侧壁与椭球件(82)表面相贴合。

8.根据权利要求6所述的建筑内暗藏电气管线的布置结构,其特征在于,两根所述顶杆(83)靠近T形腔(811)中竖直段一端处分别固定设置有一个第一隔挡件(831),所述T形腔(811)中水平段远离竖直段两端处的侧壁上分别固定设置有一个第二隔挡件(8111),处于同侧的一个第一隔挡件(831)和一个第二隔挡件(8111)之间设置有用于顶杆(83)滑回T形腔(811)中的顶动弹簧(832)。

9.根据权利要求1所述的建筑内暗藏电气管线的布置结构,其特征在于,所述走线盒(2)的内侧壁上设置有弧形卡槽(21);所述盒盖(3)靠近走线盒(2)内部一侧表面上固定设置有安装座(31);安装座(31)上转动设置有延伸至弧形卡槽(21)中的卡件(311);安装座(31)上还活动设置有用于驱动卡件(311)转入和或转出弧形卡槽(21)的驱动组件(4)。

10.根据权利要求9所述的建筑内暗藏电气管线的布置结构,其特征在于,所述安装座(31)上设置有L形腔(312),L形腔(312)竖直段上端与所述盒盖(3)的上侧表面连通,L形腔(312)水平段远离竖直段一端与盒盖(3)靠近所述走线盒(2)内侧壁一侧表面连通,所述驱动组件(4)设置在L形腔(312)中,驱动组件(4)包括:联动环(41)、转杆(42)、联动块(43)以及复位弹簧(44),联动环(41)转动设置在L形腔(312)中的水平段处且与所述卡件(311)固定连接;转杆(42)竖向活动设置在L形腔(312)中的竖直段处且穿过联动环(41);联动块(43)固定设置在转杆(42)的侧表面上;联动环(41)的内圈表面上设置与联动块(43)相适配的联动槽(411),联动槽(411)上下两端开口,L形腔(312)水平段底部设置有供转杆(42)上下滑动的让位槽(3121),在转杆(42)下端处于让位槽(3121)中时,联动块(43)处于联动槽(411)中;复位弹簧(44)套设在转杆(42)上且穿过联动环(41),复位弹簧(44)上端与联动块(43)下端抵接,复位弹簧(44)下端与让位槽(3121)槽底抵接。