欢迎来到知嘟嘟! 联系电话:13336804447 卖家免费入驻,海量在线求购! 卖家免费入驻,海量在线求购!
知嘟嘟
我要发布
联系电话:13336804447
知嘟嘟经纪人
收藏
专利号: 2020104198163
申请人: 温州大学
专利类型:发明专利
专利状态:已下证
专利领域: 计算;推算;计数
更新日期:2023-08-24
缴费截止日期: 暂无
价格&联系人
年费信息
委托购买

摘要:

权利要求书:

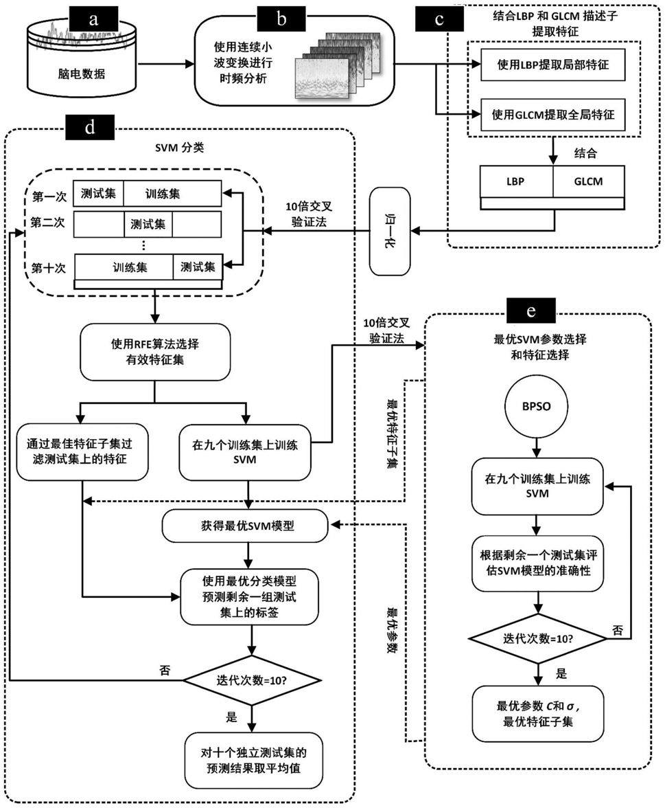
1.一种面向癫痫患者的脑电信号时频图像分类方法,其特征在于,包括如下步骤:

(1)时频分析:采用小波分解和连续小波变换的原理将原始脑电信号分解为五个频率子带,并生成整体时频图像和其对应的五个频率子带的时频图;

(2)特征提取:基于步骤(1)获得的五个频率子带的时频图,分别采用旋转不变的局部二值模式提取局部特征,采用灰度共生矩阵提取全局特征,然后将所述的局部特征和全局特征进行一维向量合并,得到五个频率子带的特征集,进而得到整体时频图像的特征集;

(3)特征选择和模型参数优化:对步骤(2)获得的整体时频图像特征集选择有效特征子集,并对分类模型进行参数优化,获得最优分类模型。

(4)将要识别的脑电信号经过步骤(1)和(2)的处理后,输入步骤(3)得到的分类模型,即可得到准确的分类结果。

2.根据权利要求1所述的面向癫痫患者的脑电信号时频图像分类方法,其特征在于,所述步骤(1)包括如下子步骤:(1.1)癫痫脑电信号f(t)的主要频率范围在0~64Hz,采用小波分解的原理将原始脑电信号分解为五个频率子带,分别为δ波、θ波、α波、β波和γ波,其中,δ波的频率范围为0-4Hz,θ波为4-8Hz,α波为8-16Hz,β波为16-32Hz,γ波为32-64Hz;

(1.2)利用步骤(1.1)得到的五个不同子带的频率范围,选取Morlet作为小波基的连续小波变换方法分别生成对应频率子带的时频图像,再将时频图像按照具有临床意义的脑电信号波段进行有效信息分割获得五个频率子带的时频图。

3.根据权利要求2所述的面向癫痫患者的脑电信号时频图像分类方法,其特征在于,所述步骤(2)包括如下子步骤:(2.1)对于步骤(1.2)得到的五个频率子带的时频图,利用局部二值模式进行图像局部纹理特征提取,同时考虑旋转不变性和灰度不变性,根据如下公式得到LBP旋转不变均匀模式和非均匀模式为 基于模式 得到局部特征向量Li:其中,r代表邻域半径,P代表在半径r的圆上的邻域点总数,p代表邻域第p个像素点,gi代表图像邻域的灰度值,gc代表图像中心像素的灰度值;U(LBPr,p)表示以r为半径的圆周上两个邻近值1转换为0或者0转换为1的转换次数;若U(LBPr,p)≤2,该均匀模式从属于p+1类,反之,全部的非均匀模式从属于1类,整幅图像的纹理 直方图的特征向量维数为p+2;

(2.2)对于步骤(1.2)得到的五个频率子带的时频图,根据灰度共生矩阵通过设置方向θ和距离d两个变量,获得时频图像纹理的数字特征矩阵,并利用两个位置像素之间的联合概率密度P(i,j;d,θ)来定义灰度共生矩阵,然后,选择能量、对比度、同质性、相关性四类特征值得到时频图像整体空间的特征表示,进而得到全局特征向量Gi;

(2.3)将步骤(2.1)的局部特征向量Li和步骤(2.2)的全局特征向量Gi,进行一维向量合并,得到特征向量Xi,进而得到特征集X=[X1,X2,…,XN],其中,N为脑电信号段总数。

4.根据权利要求3所述的面向癫痫患者的脑电信号时频图像分类方法,其特征在于,所述步骤(3)包括如下子步骤:(3.1)对步骤(2.3)得到的特征集X,运用十倍交叉验证方法得到十个互不重叠的特征子集,利用递归消除算法选择有效特征集S;

(3.2)对于步骤(3.1)得到的有效特征集S,基于二进制粒子群优化算法,利用n+2维对整个粒子进行编码得到bool类型的特征向量,改变粒子的位置xij和速度vij寻找全局最优解,根据目标函数计算适度值fit,不断迭代直至达到最大种群数量和最大迭代次数T时,根据内存中的全局最优粒子得到SVM最优参数(C,σ)和最优特征子集,并通过得到的最优参数(C,σ)来构建最优分类模型;

其中,根据目标函数计算适度值fit的公式如下:

其中,f1表示为训练过程中获得的分类准确率,f2表示为选择的最优特征参数,“1”代表特征参数被选中,“0”表示没有选中;n表示为RFE算法提取有效特征向量的维度;在目标函数f中,α表示为分类准确率的占比,β表示为选择特征子集的权重。

5.根据权利要求4所述的一种面向癫痫患者的脑电信号时频图像分类方法,其特征在于,所述的步骤(3.2)中,α=0.8,β=0.2,获得最优的分类器泛化性能。

6.根据权利要求4所述的一种面向癫痫患者的脑电信号时频图像分类方法,其特征在于,所述的步骤(2.2)中,所述的方向θ和距离d两个变量分别取值为:d=1,θ=0、π/4、π/2、π。