欢迎来到知嘟嘟! 联系电话:13336804447 卖家免费入驻,海量在线求购! 卖家免费入驻,海量在线求购!
知嘟嘟
我要发布
联系电话:13336804447
知嘟嘟经纪人
收藏
专利号: 2020103382751
申请人: 郑多多
专利类型:发明专利
专利状态:已下证
专利领域: 磨削;抛光
更新日期:2024-02-23
缴费截止日期: 暂无
价格&联系人
年费信息
委托购买

摘要:

权利要求书:

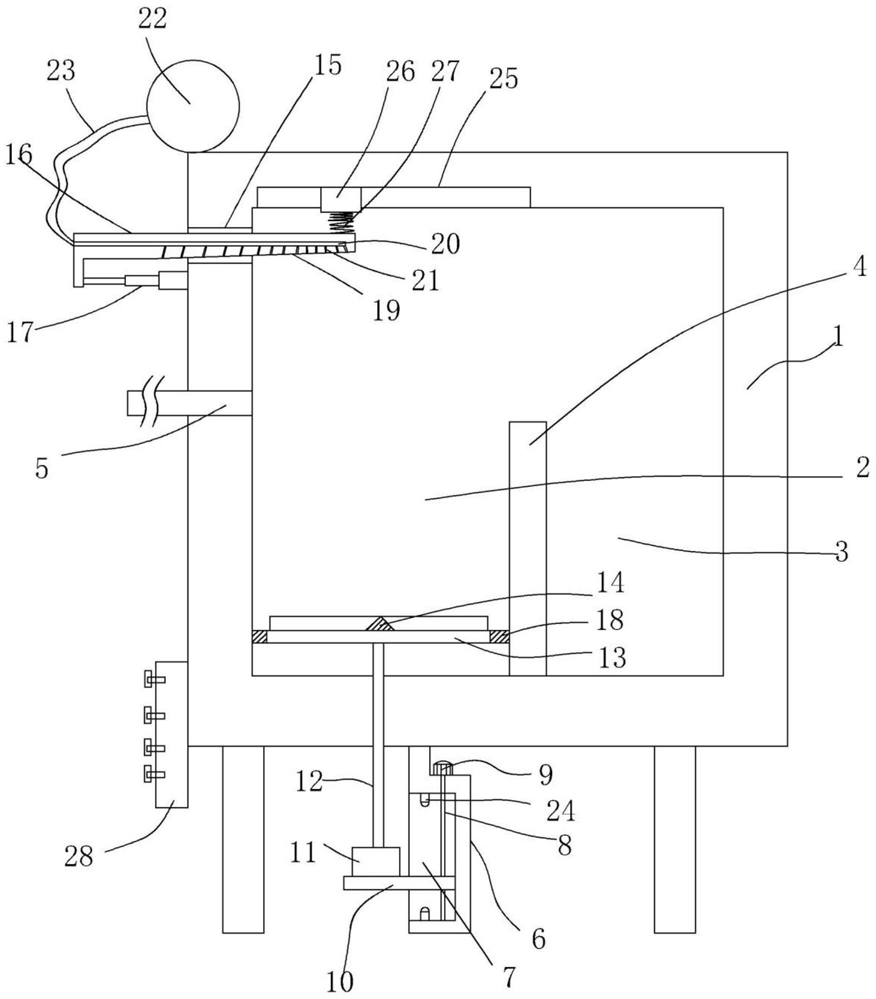
1.一种钢丸除锈用抛丸装置,包括箱体,在所述箱体内设置有将箱体分隔成除锈腔和出丸腔的隔板,在所述箱体的侧部开设有进丸通道,所述隔板的高度小于箱体内腔的高度,其特征在于:在所述除锈腔的底壁固定有竖向支板,在所述竖向支板的侧面开设有竖向滑槽,在所述竖向滑槽内设置有滚珠丝杆且在所述竖向支板的顶部固定有与所述滚珠丝杆相连接的控制电机,在所述竖向滑槽内设置有与所述滚珠丝杆螺纹连接的滑块,在所述滑块上固定有驱动电机,所述驱动电机的主轴穿过除锈腔的底壁并伸入所述除锈腔内,所述除锈腔为圆形,在所述主轴的顶端固定有抛丸圆盘,在所述抛丸圆盘的顶面一体成型有若干截面为等腰三角形的凸条,在所述箱体的侧壁上开设有一字形凹槽,所述一字形凹槽处于隔板的上方,在所述一字形凹槽内设置有活动板,所述活动板的外侧端与所述箱体的外壁之间固定有液压缸,所述活动板在所述液压缸的作用下往复移向出丸腔。

2.根据权利要求1所述的钢丸除锈用抛丸装置,其特征在于:所述抛丸圆盘的直径与所述除锈腔的内径相同且在所述抛丸圆盘的边沿粘固定有橡胶圈。

3.根据权利要求2所述的钢丸除锈用抛丸装置,其特征在于:所述活动板的底面为向出丸腔倾斜的倾斜面。

4.根据权利要求3所述的钢丸除锈用抛丸装置,其特征在于:在所述活动板内开设有除尘通道,在所述活动板的底面均匀开设有与所述除尘通道相连通的除尘孔,所述除尘孔的直径小于钢丸半径,在所述箱体的外部固定有吸尘器,所述吸尘器通过导尘软管连接在所述除尘通道的外侧端。

5.根据权利要求4所述的钢丸除锈用抛丸装置,其特征在于:在所述竖向滑槽的上部和下部分别固定有限位开关,所述控制电机为正反转电机,所述滑块在升降时抵压在所述限位开关并使控制电机反转。

6.根据权利要求5所述的钢丸除锈用抛丸装置,其特征在于:在所述箱体的顶壁上开设有截面为T形的平移滑槽,在所述平移滑槽内设置有T形平移滑块,在所述T形平移滑块的底面与所述活动板的顶面端部固定有缓冲弹簧。

7.根据权利要求6所述的钢丸除锈用抛丸装置,其特征在于:在所述箱体上固定有开关面板,在所述开关面板上固定有驱动电机控制开关、控制电机启停按钮和液压缸控制开关。