欢迎来到知嘟嘟! 联系电话:13336804447 卖家免费入驻,海量在线求购! 卖家免费入驻,海量在线求购!
知嘟嘟
我要发布
联系电话:13336804447
知嘟嘟经纪人
收藏
专利号: 2020102847588
申请人: 杨方舟
专利类型:发明专利
专利状态:已下证
专利领域: 基本上无切削的金属机械加工;金属冲压
更新日期:2025-01-02
缴费截止日期: 暂无
价格&联系人
年费信息
委托购买

摘要:

权利要求书:

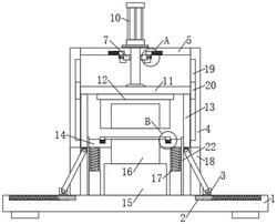
1.一种通信基站用石英晶体振荡器的外壳拉伸模具,包括底座(1),其特征在于,所述底座(1)上端左右两侧的前后部均开设有第一滑槽(2),所述第一滑槽(2)的内部均安装有支撑机构(3),所述底座(1)的上端左右两侧均固定连接有侧板(4),两个所述侧板(4)之间的底座(1)上端固定连接有固定座(15),所述固定座(15)的上端固定连接有下模(16),所述下模(16)的外部套设有限位框(14),所述限位框(14)滑动连接在下模(16)的外侧壁上,所述限位框(14)的左右两侧侧壁分别抵在两个侧板(4)上,所述限位框(14)的下端四拐角处均固定连接有弹簧杆(17),所述弹簧杆(17)的下端均固定连接在底座(1)的上端,所述限位框(14)左右两侧的前后部均贯穿且滑动连接有立板(22),所述立板(22)的下端均固定连接在底座(1)的上端,所述限位框(14)的上端中部开设有凹槽(8),所述凹槽(8)呈U型结构,所述凹槽(8)的内部安装有限位机构(9),两个所述侧板(4)分别对应位于相邻的第一滑槽(2)靠近底座(1)中部的一侧,所述侧板(4)的下端前后部均开设有通槽(18),所述通槽(18)均和相邻第一滑槽(2)位于同一垂直平面上,两个所述侧板(4)相向侧壁的上端之间共同固定连接有顶板(5),所述顶板(5)的上端中部固定连接有液压缸(10),所述液压缸(10)的活塞杆下端固定连接有横板(11),所述横板(11)的下端中部固定连接有上模(12),所述横板(11)的下端四拐角处均固定连接有支撑杆(13),所述支撑杆(13)的下端均贯穿且滑动连接限位框(14),所述支撑杆(13)均和相邻第一滑槽(2)位于同一垂直平面上且均和相邻立板(22)远离底座(1)中部的一侧相接触,所述顶板(5)的下端且位于液压缸(10)活塞杆的左右两侧对称开设有两个第三滑槽(21),两个所述第三滑槽(21)的内部均安装有安装机构(6),两个所述安装机构(6)之间安装有清理机构(7)。

2.根据权利要求1所述的一种通信基站用石英晶体振荡器的外壳拉伸模具,其特征在于,所述支撑机构(3)包括第一滑块(31),所述第一滑块(31)滑动连接在所在第一滑槽(2)的内部,所述第一滑块(31)的内部贯穿且滑动连接有第一定位杆(32),所述第一定位杆(32)的左右两端分别和第一滑槽(2)的左右两侧内壁固定连接,所述第一定位杆(32)远离底座(1)中部的一端外侧壁上套设第一压缩弹簧(33),所述第一压缩弹簧(33)靠近底座(1)中部的一端固定连接在第一滑块(31)上,所述第一压缩弹簧(33)远离底座(1)中部的一端和第一滑槽(2)远离底座(1)中部的一侧内壁固定连接,所述第一滑块(31)的上端固定连接有第一支座(34),所述第一支座(34)通过第一转轴(35)转动连接有支撑板(36),所述支撑板(36)的上端贯穿对应的通槽(18)且延伸至侧板(4)靠近底座(1)中部的一侧,所述支撑板(36)的上端通过第二转轴(37)转动连接有第二支座(38)。

3.根据权利要求2所述的一种通信基站用石英晶体振荡器的外壳拉伸模具,其特征在于,所述第二支座(38)靠近底座(1)中部的一侧和对应立板(22)远离底座(1)中部的一侧相抵,所述第二支座(38)的上端和对应支撑杆(13)的下端固定连接。

4.根据权利要求1所述的一种通信基站用石英晶体振荡器的外壳拉伸模具,其特征在于,所述限位机构(9)包括限位板(91),所述限位板(91)呈U型结构,所述限位板(91)的下端插接在凹槽(8)的内部,所述限位板(91)的下端固定连接有挤压板(92),所述挤压板(92)呈U型结构,所述挤压板(92)滑动连接在凹槽(8)的内部,所述挤压板(92)的下端固定连接有若干第三压缩弹簧(93),若干所述第三压缩弹簧(93)的下端均和凹槽(8)的内底壁固定连接。

5.根据权利要求1所述的一种通信基站用石英晶体振荡器的外壳拉伸模具,其特征在于,所述安装机构(6)包括第二滑块(61),所述第二滑块(61)滑动连接在第三滑槽(21)的内部,所述第二滑块(61)的内部均贯穿且滑动连接有第二定位杆(62),所述第二定位杆(62)的左右两端和第三滑槽(21)的左右两侧内壁固定连接,所述第二定位杆(62)远离顶板(5)中部的一端外侧壁上套设有第二压缩弹簧(63),所述第二压缩弹簧(63)靠近顶板(5)中部的一端固定连接在第二滑块(61)上,所述第二压缩弹簧(63)远离顶板(5)中部的一端和第三滑槽(21)远离顶板(5)中部的一侧内壁固定连接,所述第二滑块(61)的下端固定连接有安装板(64),所述安装板(64)呈L型结构,所述安装板(64)的竖直部贯穿且螺纹连接有安装螺栓(65)。

6.根据权利要求5所述的一种通信基站用石英晶体振荡器的外壳拉伸模具,其特征在于,所述清理机构(7)包括第一夹板(71)和第二夹板(72),所述第一夹板(71)和第二夹板(72)分别卡接在液压缸(10)活塞杆的左右两侧,所述第一夹板(71)和第二夹板(72)分别卡接在两个安装机构(6)的安装板(64)上,所述第一夹板(71)和第二夹板(72)相对远离的一侧中部均开设有螺孔(73),两个所述螺孔(73)分别和两个安装机构(6)的安装螺栓(65)螺纹连接,所述第一夹板(71)靠近第二夹板(72)的一侧中部开设有第一卡槽(75),所述第一夹板(71)通过第一卡槽(75)卡接在液压缸(10)的活塞杆上,所述第二夹板(72)靠近第一夹板(71)的一侧中部开设有第二卡槽(77),所述第二夹板(72)通过第二卡槽(77)卡接在液压缸(10)的活塞杆上,所述第二卡槽(77)和第一卡槽(75)的内侧壁上均固定连接有橡胶内衬(78)。

7.根据权利要求6所述的一种通信基站用石英晶体振荡器的外壳拉伸模具,其特征在于,所述第一夹板(71)靠近第二夹板(72)的一侧前后部均开设有插槽(74),所述第二夹板(72)靠近第一夹板(71)的一侧前后部均固定连接有插板(76),两个所述插板(76)分别插接在两个插槽(74)的内部。

8.根据权利要求1所述的一种通信基站用石英晶体振荡器的外壳拉伸模具,其特征在于,所述侧板(4)靠近底座(1)中部的一侧上端均开设有第二滑槽(19),所述第二滑槽(19)的内部均滑动连接有第三滑块(20),所述第三滑块(20)靠近底座(1)中部的一侧均固定连接在横板(11)上。

我要求购
我不想找了,帮我找吧
您有专利需要变现?
我要出售
智能匹配需求,快速出售