欢迎来到知嘟嘟! 联系电话:13336804447 卖家免费入驻,海量在线求购! 卖家免费入驻,海量在线求购!
知嘟嘟
我要发布
联系电话:13336804447
知嘟嘟经纪人
收藏
专利号: 2020102703844
申请人: 河南工程学院
专利类型:发明专利
专利状态:已下证
专利领域: 基本电子电路
更新日期:2024-01-05
缴费截止日期: 暂无
价格&联系人
年费信息
委托购买

摘要:

权利要求书:

1.一种智能型电力有源滤波模块,包括壳体,其特征在于,所述壳体内设有分隔板(17),分隔板(17)将壳体内的空间分成上层空间和下层空间,上层空间内设有滤波电器件和通风结构I,滤波电器件设置在分隔板(17)上,下层空间内设有单相模块(14)和通风结构II,单相模块(14)上设有散热结构,单相模块(14)内部设有电路板,散热结构与通风结构II相匹配,电路板与滤波电器件相连接;

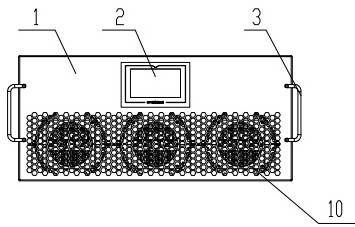
所述壳体包括前面板(1)、后面板(5)、上盖板(6)和底壳(7),前面板(1)和后面板(5)分别设置在底壳(7)的前后,上盖板(6)设置在前面板(1)、后面板(5)和底壳(7)的上部;所述通风结构I包括上进风口(11)和上出风口(8),上进风口(11)设置在上盖板(6)上,上出风口(8)设置在后面板(5)的上部;所述通风结构II包括下进风口(10)和下出风口(9),下进风口(10)设置在前面板(1)的下部,下出风口(9)设置在后面板(5)的下部,下进风口(10)和下出风口(9)的位置相对应,单相模块(14)固定在下进风口(10)和下出风口(9)之间。

2.根据权利要求1所述的智能型电力有源滤波模块,其特征在于,所述单相模块(14)、下进风口(10)和下出风口(9)的数量均设有三个,单相模块(14)平行设置在下层空间内;单相模块(14)包括上壳(141)和下壳(142),上壳(141)和下壳(142)相连接,上壳(141)和下壳(142)上均设有散热结构。

3.根据权利要求1或2所述的智能型电力有源滤波模块,其特征在于,所述散热结构包括沟槽结构,沟槽结构包括外槽道(1420)和内槽道(1421),外槽道(1420)和内槽道(1421)相对应;外槽道(1420)设置在上壳(141)或下壳(142)的外部,内槽道(1421)设置在上壳(141)或下壳(142)的内部;所述散热结构还包括风机(140),风机(140)与沟槽结构相匹配,上壳(141)和下壳(142)的一端设有端盖(143),端盖(143)上设有风机(140),风机(140)设置在靠近通风结构II的下进风口(10)一侧。

4.根据权利要求3所述的智能型电力有源滤波模块,其特征在于,所述上壳(141)或下壳(142)内壁上固定有散热器(144),散热器(144)包括散热基板(1440)和散热翅片(1441),散热翅片(1441)固定在散热基板(1440)上,散热翅片(1441)与上壳(141)或下壳(142)的内壁相匹配。

5.根据权利要求4所述的智能型电力有源滤波模块,其特征在于,所述上壳(141)和下壳(142)均是内部中空、半径为R的半圆弧形结构,所述端盖(143)是中部中空、半径为R的圆形平面;所述单相模块(14)固定在支架(15)内,支架(15)两端固定在壳体的内部;所述支架(15)包括两个三段连续的半径为R的半圆弧的弧形结构,两个弧形结构固定组成三段半径为R的圆形结构支架。

6.根据权利要求4所述的智能型电力有源滤波模块,其特征在于,所述散热翅片(1441)包括间距相等但高度不等的翅片,翅片的高度与散热基板(1440)到上壳(141)或下壳(142)的距离相匹配。

7.根据权利要求4所述的智能型电力有源滤波模块,其特征在于,所述滤波电器件包括电容板(13)和电抗板(12),电容板(13)和电抗板(12)均固定在分隔板(17)上;所述电路板设置在散热基板(1440)上,电路板包括驱动板(145)和采样板(146),驱动板(145)和采样板(146)均固定在散热基板(1440)上。

8.根据权利要求7所述的智能型电力有源滤波模块,其特征在于,所述驱动板(145)和采样板(146)相连接,采样板(146)分别与电容板(13)和电抗板(12)相连接;所述分隔板(17)上设有连线通孔I,所述上壳(141)或下壳(142)上设有连线通孔II。

9.根据权利要求1或8所述的智能型电力有源滤波模块,其特征在于,所述前面板(1)上还设置有至少一个把手(3)和液晶屏(2),所述把手(3)为U形结构,所述液晶屏(2)与电路板的采样板(146)相连接。