欢迎来到知嘟嘟! 联系电话:13336804447 卖家免费入驻,海量在线求购! 卖家免费入驻,海量在线求购!
知嘟嘟
我要发布
联系电话:13336804447
知嘟嘟经纪人
收藏
专利号: 2020102517234
申请人: 永康市凡谷进出口有限公司
专利类型:发明专利
专利状态:已下证
专利领域: 木材或类似材料的加工或保存;一般钉钉机或钉U形钉机
更新日期:2025-10-13
缴费截止日期: 暂无
价格&联系人
年费信息
委托购买

摘要:

权利要求书:

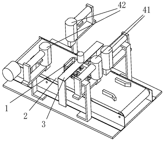
1.一种用于健身器材座垫加工的自动打钉机,其特征是,包括:机架;

夹具组件(1),其用于放置并夹持座垫(6),夹具组件(1)对称固定有两片导磁材料(19);

传送组件(2),其通过传送带(23)输送夹具组件(1);

第一钉枪(41),设置有两把且位于传送带(23)输入段上方,两把第一钉枪(41)分别经第一钉枪支架与机架固定且间距可调;

第二钉枪(42),设置有两把且位于传送带(23)输出段上方,两把第二钉枪(42)分别经第二钉枪支架与机架固定且间距可调;

第一钉枪(41)和第二钉枪(42)射出的枪钉(61)能将座垫(6)背面的面料(63)分四个边固定在座芯(64)上;

第一传送传感器(51),一个以上,其经第一传感器支架与机架固定,第一传送传感器(51)能采集夹具组件(1)在传送带(23)输入段时的位置信号,用于确定打枪钉(61)的位置;

第二传送传感器(52),一个以上,其经第二传感器支架与机架固定,第二传送传感器(52)能采集夹具组件(1)在传送带(23)输出段时的位置信号,用于确定打枪钉(61)的位置;

旋转组件(3),其设置有:

支撑架(31),其与机架固定且位于传送带(23)输入段和传送带(23)输出段之间的上方;

旋转电机(34),其壳体与支撑架(31)固定;

旋转架(33),其中心与旋转电机(34)的转轴固定;

第三传送传感器(53),其经第三传送传感器支架与所述的支撑架(31)固定,第三传送传感器(53)能采集从其下方经过的夹具组件(1)的位置信号;

电磁铁(32),设置有两只,其分别与旋转架(33)的两端固定,电磁线圈加电时,铁芯能吸住从下方经过的两片导磁材料(19),从而能将夹具组件(1)提升至离开传送组件(2)中的传送带(23),旋转架(33)转动90度后,电磁线圈断电,铁芯断磁能使夹具组件(1)重新落到传送带(23)上;

控制器,分别电连接第一传送传感器(51)、第二传送传感器(52)、第三传送传感器(53)、旋转电机(34)、电磁铁(32)、第一钉枪(41)的电开关和第二钉枪(42)的电开关。

2.如权利要求1所述的一种用于健身器材座垫加工的自动打钉机,其特征是,所述传送组件(2)包括:

所述的传送带(23);

传送支架(24),其与所述的机架固定;

多个辊轴(22),其两端分别经轴承与传送支架(24)固定,多个辊轴(22)用于安装传送带(23);

传送电机(23),其壳体与机架固定,传送电机(23)的转轴与其中一只辊轴(22)固定,传送电机(23)能带动传送带(23)转动,传送电机(23)可以连接控制器,也可以不连接控制。

3.如权利要求1或2所述的一种用于健身器材座垫加工的自动打钉机,其特征是,所述夹具组件(1)包括:

底板(11),其开设有多只穿孔(12);

侧壁(10),其与底板(11)固定,侧壁(10)和底板(11)形成的座垫腔体能插入座垫(6),该座垫腔体为带圆角的矩形;

铰接固定块(13),设置有多只,其与底板(11)固定;

边线压板(16),设置有四块,靠近侧壁(10)顶部直线部分安装;

圆角压板(15),设置有四块,靠近侧壁(10)顶部圆弧线部分安装;

转动件(14),呈J型,其设置有多只,每只边线压板(16)配置两只以上的转动件(14),每只圆角压板(15)配置一只以上的圆角压板(15),J型的外端与边线压板(16)或圆角压板(15)固定、内端穿过底板(11)且从穿孔(12)伸出,J型的底部与铰接固定块(13)铰接;

弹簧(17),常态下能控制转动件(14)的顶部呈向外张开的状态;

所述的两片导磁材料(19)分别与相对应的侧壁(10)固定;

当面料(63)由人工放置在夹具组件(1)正上方、座芯(64)放置在面料(63)正上方且人工下压时,座芯(64)和面料(63)嵌入座垫腔体触及J型转动件(14)的内端,弹簧(17)拉长,J型转动件(14)外端带动边线压板(16)和圆角压板(15)转动,将面料(63)四周边缘紧贴座芯(64)背面边缘包裹,最后,由钉枪打出枪钉(61)将面料(63)边缘与座芯(64)固定。

4.如权利要求3所述的一种用于健身器材座垫加工的自动打钉机,其特征是,所述边线压板(16)截面为L型,所述圆角压板(15)截面为L型。

5.如权利要求1或2所述的一种用于健身器材座垫加工的自动打钉机,其特征是,还包括:

引导板(50),设置有两块,两块引导板设置有喇叭口,其经各自的支架与所述的机架固定且位于所述传送带(23)输入段的上方,两块引导板能对所述的夹具组件(1)穿过该两块引导板时修正位置。

6.如权利要求1或2所述的一种用于健身器材座垫加工的自动打钉机,其特征是,还包括:

旋转传感器,其经旋转传感器支架与所述的支撑架(31)固定,旋转传感器能采集所述旋转架(33)的位置信号且连接所述的控制器。