欢迎来到知嘟嘟! 联系电话:13336804447 卖家免费入驻,海量在线求购! 卖家免费入驻,海量在线求购!
知嘟嘟
我要发布
联系电话:13336804447
知嘟嘟经纪人
收藏
专利号: 2020102351008
申请人: 广东长盈精密技术有限公司
专利类型:发明专利
专利状态:已下证
专利领域: 基本上无切削的金属机械加工;金属冲压
更新日期:2024-05-06
缴费截止日期: 暂无
价格&联系人
年费信息
委托购买

摘要:

权利要求书:

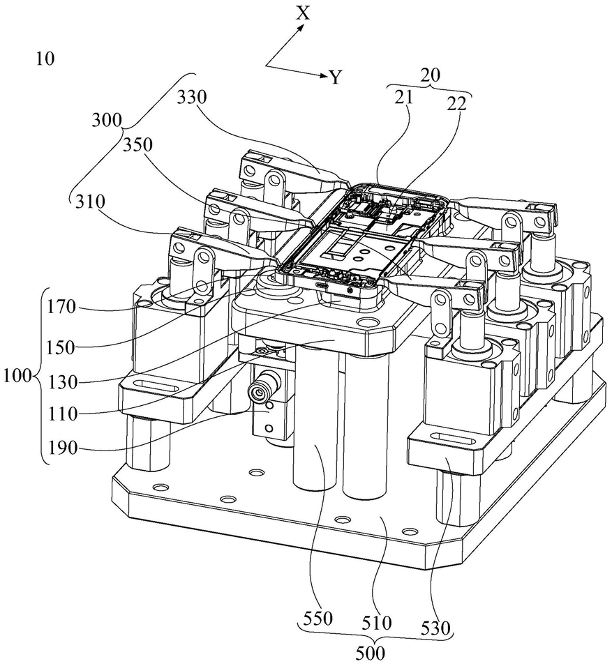
1.一种整形治具,用于对具有形变角的中框进行整形,其特征在于,所述整形治具包括:支撑组件,包括支撑台、第一凸台、第二凸台及支撑柱,所述第一凸台及所述第二凸台均设于所述支撑台上,所述第二凸台凸出所述支撑台的高度小于所述第一凸台凸出所述支撑台的高度,所述第二凸台对应所述形变角,所述支撑柱活动连接于所述支撑台上,其具有对所述形变角保持支撑的支撑状态及未与所述形变角接触的回缩状态;及压紧组件,包括顺次围设于所述中框周围的第一压紧件、第二压紧件及第三压紧件,所述第一压紧件与所述第三压紧件沿所述中框的宽度方向相对设置,且所述第一压紧件对应所述形变角;所述第一压紧件、所述第二压紧件及所述第三压紧件将所述中框压紧于所述第一凸台及所述支撑柱上,以呈加工状态;所述第一压紧件、所述第二压紧件将所述中框压紧于所述第一凸台及所述第二凸台上,以呈整形状态。2.根据权利要求1所述的整形治具,其特征在于,所述第一凸台的周缘形成有用于与所述中框上的边框抵接的第一基准面,所述支撑柱上具有支撑面,在所述加工状态,所述支撑面与所述第一基准面平齐。3.根据权利要求1所述的整形治具,其特征在于,所述第一凸台的周缘形成有用于与所述中框上的边框抵接的第一基准面,所述第一凸台上形成有用于与所述中框上的中板抵接的第二基准面,所述第一基准面与所述第二基准面之间形成有第一避空面。4.根据权利要求3所述的整形治具,其特征在于,所述第一凸台上朝向所述第二凸台的一侧形成有第二避空面,所述第二凸台上形成有用于与所述形变角抵接的第三基准面,相对所述支撑台,所述第二避空面高出所述第三基准面,且低于所述第一避空面。5.根据权利要求4所述的整形治具,其特征在于,所述第一避空面高出所述第二避空面0.95mm;及/或,相对所述支撑台,所述第一基准面高出所述第三基准面1.5mm。6.根据权利要求1所述的整形治具,其特征在于,所述第一凸台与所述第二凸台间隔地设于所述支撑台上。7.根据权利要求1所述的整形治具,其特征在于,所述支撑柱穿设所述支撑台及所述第二凸台,所述支撑组件包括驱动件,所述驱动件能够驱动所述支撑柱凸出所述第二凸台以呈所述支撑状态,或所述驱动件驱动所述支撑柱相对所述第二凸台回缩以呈所述回缩状态。8.根据权利要求5所述的整形治具,其特征在于,所述第一压紧件、所述第二压紧件及所述第三压紧件均为杠杆气缸。9.一种中框加工工艺,采用如权利要求1‑8任一项所述的整形治具,其特征在于,包括以下步骤:提供待加工中框A;对所述中框A进行第一次CNC加工去除裙边,得到中框B;使整形治具将所述中框B压紧,以呈加工状态;对所述中框B进行第二次CNC加工去除压爪位及BP面粗加工,以得到中框C;使所述整形治具将所述中框C压紧,以呈整形状态;对所述中框C进行第三次CNC加工,以对外形及BP面精加工到位。10.根据权利要求9所述的中框加工工艺,其特征在于,在所述使所述整形治具将所述

中框C压紧,以呈整形状态的步骤中,所述整形治具将所述中框C压紧后需保持预设时间。

我要求购
我不想找了,帮我找吧
您有专利需要变现?
我要出售
智能匹配需求,快速出售