欢迎来到知嘟嘟! 联系电话:13336804447 卖家免费入驻,海量在线求购! 卖家免费入驻,海量在线求购!
知嘟嘟
我要发布
联系电话:13336804447
知嘟嘟经纪人
收藏
专利号: 2020101993820
申请人: 陈琪
专利类型:发明专利
专利状态:已下证
专利领域: 一般喷射或雾化;对表面涂覆液体或其他流体的一般方法〔2〕
更新日期:2023-08-24
缴费截止日期: 暂无
价格&联系人
年费信息
委托购买

摘要:

权利要求书:

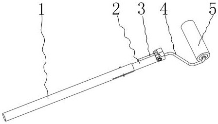
1.一种带活塞的建筑室内装饰使用的涂漆器,其特征在于:它包括延长杆、手杆、锁机构、连接管、环形毛刷、第一导槽、第一嵌套槽、第一避让槽、滚筒、连接块、第一料孔、连接环套、T形环导块、圆形腔、中间支耳、活塞、第一弹簧、拉杆、拉手、弧形过渡板、第一板簧、圆柱销、第一卡块、限位块、第四料孔、安装环、侧支耳、方形口、第二料孔、第三料孔、安装圆盘,其中手杆内侧具有空腔;活塞安装在手杆内侧,拉杆的上端安装在活塞的下端;拉杆的下端穿出手杆的下端位于手杆外侧,两个拉手周向均匀地安装在拉杆下端的外圆面上;活塞的下端面与拉杆内下侧面之间安装有第一弹簧;手杆的上端安装有中间支耳;中间支耳上开有与手杆内侧相通的第二料孔,且第二料孔位于中间支耳的中间;中间支耳上开有与手杆内侧相通的第三料孔,且第三料孔位于第二料孔的一侧;两个圆柱销对称地安装在中间支耳的两侧面上;连接块上具有第四料孔;连接块的下端对称地安装有两个侧支耳;弧形过渡板上具有方形口,弧形过渡板安装在连接块上,且位于两个侧支耳之间;弧形过渡板上的方形口与连接块上的第四料孔对接配合;连接块通过两个侧支耳与安装在中间支耳两侧的圆柱销配合安装在手杆上,连接块与手杆摆动配合;安装在连接块上的弧形过渡板的下侧弧面与中间支耳上侧的弧形面接触配合;弧形过渡板上的方形口与中间支耳上的第二料孔和第三料孔配合;连接块与中间支耳之间安装有第一板簧,安装圆盘安装在两个圆柱销中其中一个圆柱销上,限位块安装在安装圆盘的外圆面上;安装环安装在两个侧支耳中其中一个侧支耳上,第一卡块安装在安装环的内圆面上,且第一卡块与限位块配合;连接管的一端安装有T形环导块,连接管的另一端固定安装在连接块的上侧,且连接管与连接块上的第四料孔对接配合;滚筒的中心开有圆形腔,滚筒的外圆面上周向均匀地开有多排与圆形腔相通的第一料孔;滚筒一端的端面上安装有连接环套,连接环套上具有T形导槽;滚筒通过连接环套上的T形导槽与安装在连接管上的T形环导块配合安装在连接管上;环形毛刷嵌套安装在滚筒的外圆面上;锁机构安装在手杆的一侧;

延长杆的一端开有第一嵌套槽,第一嵌套槽的下侧开有第一避让槽;延长杆开有第一嵌套槽的一端的外圆面上周向均匀地开有两个第一导槽,两个第一导槽均与第一嵌套槽和第一避让槽相通;延长杆通过第一嵌套槽嵌套安装在手杆的下端,且安装在手杆上的两个拉手穿过延长杆上所开的两个第一导槽位于延长杆的外侧;拉杆与延长杆上的第一避让槽配合;

上述锁机构包括固定块、连接杆、第二板簧、第一支耳、卡槽、环形槽、第一导向口、第二导槽、第一安装槽、方形孔、第一导块、安装块、第二卡块、触发块、斜面、第二弹簧,其中固定块的一端具有环形槽,环形槽的一侧面上具有卡槽;固定块安装在连接块的一侧;第一支耳的一端开有方形孔,方形孔的两侧面上对称地开有两组第二导槽,位于同组中的三个第二导槽在方形孔内对应的侧面上均匀分布;方形孔的下侧开有第一安装槽,第一支耳另一端的上侧面上开有与内侧相通的第一导向口;第一支耳安装在手杆的外圆面上;连接杆的两侧面上对称地安装有两组第一导块,位于同组中的三个第一导块在连接杆上均匀分布;连接杆通过两组第一导块与第一支耳上所开的两组第二导槽配合安装在第一支耳内侧,连接杆与第一支耳上所开的第一安装槽的底侧面之间均匀地安装有多个第二板簧;触发块安装在连接杆的一端,且触发块与第一支耳上所开的第一导向口配合;安装块的一端具有方形槽,安装块的另一端安装在连接杆的另一端,第二卡块的一端具有斜面,第二卡块的另一端安装在安装块上的方形槽内,且第二卡块与方形槽的下侧面之间安装有第二弹簧;第二卡块与固定块上的卡槽配合;

上述第三料孔的直径大于第二料孔的直径;

上述第一弹簧为压缩弹簧;第二弹簧为压缩弹簧;

上述第二卡块上的斜面的倾斜角度为45度;

上述第三料孔的直径为第二料孔直径的3倍。

2.根据权利要求1所述的一种带活塞的建筑室内装饰使用的涂漆器,其特征在于:上述安装在连接管上的T形环导块与安装在滚筒上的连接环套之间通过轴承连接。