欢迎来到知嘟嘟! 联系电话:13095918853 卖家免费入驻,海量在线求购! 卖家免费入驻,海量在线求购!
知嘟嘟
我要发布
联系电话:13095918853
知嘟嘟经纪人
收藏
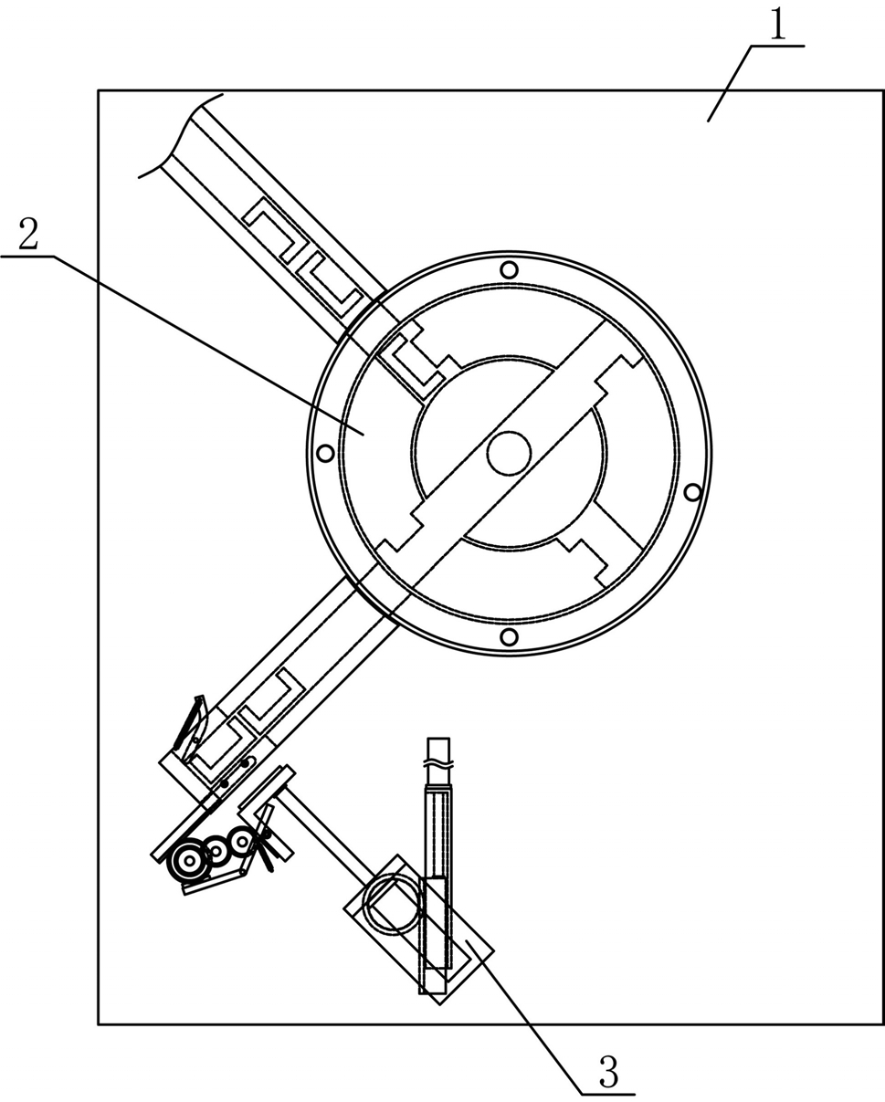
专利号: 202010197806X
申请人: 新昌县佛虑机械配件厂
专利类型:发明专利
专利状态:已下证
专利领域: 机床;其他类目中不包括的金属加工
更新日期:2025-07-02
缴费截止日期: 暂无
价格&联系人
年费信息
委托购买

摘要:

权利要求书:

1.一种用于两工件装配的同步传料装置,其特征在于:所述用于两工件装配的同步传料装置包括工件传料支架、U形工件导料机构、U形工件移送机构和盘盖工件落料机构,所述U形工件导料机构和盘盖工件落料机构分别竖直设置于工件传料支架两侧,所述U形工件移送机构设置于U形工件导料机构下侧的工件传料支架,所述U形工件导料机构包括进料导送料管、限位导料环板、工件转运圆盘、导料封闭圆板和出料导送料管,所述限位导料环板竖直固定设置于工件传料支架上方一侧,所述进料导送料管倾斜向下固定设置于限位导料环板上方一侧的工件传料支架,出料导送料管倾斜向下固定设置于限位导料环板下方一侧的工件传料支架,进料导送料管和出料导送料管相互垂直设置,所述限位导料环板上下两侧分别对称设置有工件进料通道和工件出料通道,进料导送料管与工件进料通道相互连通,出料导送料管与工件出料通道相互连通,所述导料封闭圆板竖直贴合固定设置于限位导料环板外侧,导料封闭圆板与限位导料环板的尺寸规格相适配,导料封闭圆板与限位导料环板之间采用多个封闭锁紧栓连接固定,导料封闭圆板沿工件传料支架侧中部竖直固定设置有工件挡送圆盘,工件挡送圆盘中部倾斜向下设置有工件下落通道,工件下落通道与出料导送料管的倾斜方向相同,所述限位导料环板中部的工件传料支架上水平转动连接有同步导料转轴,所述工件转运圆盘竖直设置于限位导料环板内,工件转运圆盘沿工件传料支架侧中部固定设置于同步导料转轴端部,工件转运圆盘沿导料封闭圆板侧中部设置有圆形结构的圆盘放置槽,圆盘放置槽与工件挡送圆盘的结构尺寸相适配,工件转运圆盘外侧沿工件转运圆盘的径向均匀贯穿设置有四个工件导送放置槽,工件导送放置槽一侧的工件转运圆盘上设置有工件卡放凸块,所述出料导送料管的下侧端部设置有工件移出通道,所述U形工件移送机构包括移送转动支架、移送往复气缸、工件移送气缸、工件移送连板和工件防落挡板,所述出料导送料管下方一侧的工件传料支架上竖直转动连接有移送转动齿轮,移送转动齿轮一侧的工件传料支架上固定设置有齿条往复支架,齿条往复支架内滑动设置有与移送转动齿轮啮合连接的移送往复齿条,所述移送往复气缸固定设置于齿条往复支架端部,移送往复气缸输出端与移送往复齿条端部固定连接,所述移送转动支架固定设置于移送转动齿轮一侧,所述工件移送气缸固定设置于移送转动支架,工件移送气缸输出端滑动设置有移送活塞杆,所述工件移送连板固定设置于工件移送气缸输出端的移送活塞杆端部,工件移送连板为L形结构,工件移送连板表面贴合设置有移送吸附电磁铁,所述工件防落挡板设置于出料导送料管下侧,工件防落挡板沿倾斜方向滑动设置于工件移出通道下侧的出料导送料管,工件防落挡板与出料导送料管的倾斜方向相同,所述工件防落挡板下侧的工件传料支架上分别竖直转动连接有依次啮合连接的第一连接齿轮、第二连接齿轮和第三连接齿轮,第一连接齿轮一侧同轴竖直固定设置有第四连接齿轮,所述工件移送连板一侧表面贴合设置有与第三连接齿轮相适配的移送连接齿条,工件防落挡板一侧表面贴合设置有与第四连接齿轮啮合连接的挡板往复齿条,所述盘盖工件落料机构包括工件落料导管、落料转动圆盘、落料转动挡杆、转动定位圆盘、定位往复摆杆、推杆转动凸盘和落料推杆电机,所述落料转动圆盘竖直固定设置于同步导料转轴另一侧端部,落料转动圆盘外侧沿落料转动圆盘的径向均匀固定设置有四根落料转动挡杆,所述落料转动圆盘一侧的工件传料支架上竖直固定设置有工件落料导管,工件落料导管为与盘盖工件相适配的扁平状结构,所述工件落料导管沿落料转动圆盘侧设置有与落料转动挡杆相适配的挡杆摆动槽,所述转动定位圆盘竖直转动连接于落料转动圆盘一侧的工件传料支架,落料转动圆盘一侧同轴竖直固定设置有落料转动链轮,转动定位圆盘一侧同轴竖直固定设置有定位转动链轮,落料转动链轮和定位转动链轮之间采用定位转动链条传动连接,落料转动链轮和定位转动链轮的尺寸规格相同,所述转动定位圆盘外侧均匀设置有四个落料定位卡槽,落料定位卡槽一侧与转动定位圆盘外沿采用弧形边过渡链接,落料定位卡槽另一侧沿转动定位圆盘的径向设置有定位挡爪承面,所述定位往复摆杆设置于转动定位圆盘上侧的工件传料支架,定位往复摆杆沿转动定位圆盘端设置有与落料定位卡槽相适配的圆盘定位卡爪,定位往复摆杆另一端铰接连接于工件传料支架,所述推杆转动凸盘竖直转动连接于定位往复摆杆下侧的工件传料支架,所述落料推杆电机水平固定设置于工件传料支架,落料推杆电机与推杆转动凸盘之间采用凸盘转动链条传动连接。

2.根据权利要求1所述的一种用于两工件装配的同步传料装置,其特征在于:所述工件导送放置槽一侧工件转运圆盘上的工件卡放凸块为方形结构。

3.根据权利要求1所述的一种用于两工件装配的同步传料装置,其特征在于:所述出料导送料管下端上侧设置有缓冲承托挡板,出料导送料管上设置有与缓冲承托挡板相适配的挡板转动槽,缓冲承托挡板中部铰接连接于出料导送料管,缓冲承托挡板外端与出料导送料管之间设置有挡板承料拉簧。

4.根据权利要求1所述的一种用于两工件装配的同步传料装置,其特征在于:所述工件防落挡板上侧表面从上至下依次转动连接有多根往复转动导辊。

5.根据权利要求1所述的一种用于两工件装配的同步传料装置,其特征在于:所述U形工件移送机构的第一连接齿轮、第二连接齿轮和第三连接齿轮的尺寸规格相同,第四连接齿轮的直径是第一连接齿轮直径的两倍。

6.根据权利要求1所述的一种用于两工件装配的同步传料装置,其特征在于:所述U形工件移送机构的工件防落挡板下侧设置有定位往复转板,定位往复转板为L形结构,定位往复转板的中部转动连接于工件传料支架,定位往复转板沿第四连接齿轮侧表面贴合设置有定位连接齿条,定位往复转板沿工件移送连板侧与工件传料支架之间设置有转板复位拉簧,工件移送连板沿定位往复转板侧竖直转动连接有推板转动滚轮。

7.根据权利要求1所述的一种用于两工件装配的同步传料装置,其特征在于:所述定位往复摆杆端部的圆盘定位卡爪上转动连接有定位转动导轮。

8.根据权利要求1所述的一种用于两工件装配的同步传料装置,其特征在于:所述推杆转动凸盘上侧的定位往复摆杆上转动连接有摆杆往复导轮。

9.根据权利要求1所述的一种用于两工件装配的同步传料装置,其特征在于:所述定位往复摆杆上侧的工件传料支架上固定设置有压杆升降套筒,压杆升降套筒内沿竖直方向滑动设置有往复升降推杆,往复升降推杆上端固定设置有往复升降挡板,往复升降推杆下端转动连接有推杆转动压轮,压杆升降套筒下侧的往复升降推杆上套装设置有推杆定位压簧。

10.根据权利要求1所述的一种用于两工件装配的同步传料装置,其特征在于:所述盘盖工件落料机构的落料推杆电机为伺服电机。