欢迎来到知嘟嘟! 联系电话:13336804447 卖家免费入驻,海量在线求购! 卖家免费入驻,海量在线求购!
知嘟嘟
我要发布
联系电话:13336804447
知嘟嘟经纪人
收藏
专利号: 2020101279563
申请人: 浙江大学
专利类型:发明专利
专利状态:已下证
专利领域: 测量;测试
更新日期:2023-08-24
缴费截止日期: 暂无
价格&联系人
年费信息
委托购买

摘要:

权利要求书:

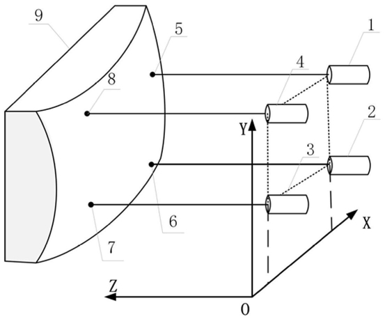
1.一种大口径球面光学元件球心和曲率半径测量方法,其特征在于,采用自动测量装置,所述的自动测量装置包括样品台、三维位移台、安装在三维位移台上的四台激光位移传感器、与激光位移传感器电连接的数据采集单元、与数据采集单元电连接的数据分析处理单元,以及用于接收数据分析处理单元的计算结果并对三维位移台进行移动的控制单元;

具体包括以下步骤:

(1)对四台激光位移传感器的初始位置进行定标;

(2)采用竖直放置姿态,将大口径球面光学元件通过夹持机构固定在样品台上;

(3)移动三维位移台的X、Y两轴,使四台激光位移传感器的四个采样点全部位于球面光学元件的表面;其中,所述三维位移台的X、Y轴与球面光学元件的光轴互相垂直;

(4)移动三维位移台的Z轴,使四台激光位移传感器全部位于工作距离之内,获得大口径球面光学元件上四个采样点距离激光位移传感器的相对距离;其中,三维位移台的Z轴与球面光学元件的光轴互相平行;

(5)数据采集单元实时接收四个采样点与对应四台激光位移传感器的相对距离d1、d2、d3、d4,以及当前三维位移台的XY轴坐标(X0,Y0),通过数据分析处理单元,计算出球心坐标(xc,yc,zc)和曲率半径r;

(6)移动三维位移台的X、Y两轴至其他采样位置,重复步骤(5)并获得多组球心坐标和曲率半径解;对多组数据取平均值,完成大口径球面光学元件球心和曲率半径的测量。

2.根据权利要求1所述的大口径球面光学元件球心和曲率半径测量方法,其特征在于,四台激光位移传感器呈矩形安装在三维位移台上,矩形的边长与X、Y轴互相平行或垂直;且四台激光位移传感器的测量方向均与Z轴平行。

3.根据权利要求1所述的大口径球面光学元件球心和曲率半径测量方法,其特征在于,所述的大口径球面光学元件通过夹持机构固定在样品台上。

4.根据权利要求1所述的大口径球面光学元件球心和曲率半径测量方法,其特征在于,步骤(1)的具体过程为:(1-1)采用竖直放置姿态,将定标用的大口径球面光学元件通过夹持机构固定在样品台上;

(1-2)移动三维位移台的X、Y两轴,使第一激光位移传感器的采样点位于球面光学元件的表面;

(1-3)移动三维位移台的Z轴,使第一激光位移传感器位于工作距离之内,获得大口径球面光学元件上采样点距离激光位移传感器的相对距离;

(1-4)使用三维位移台承载第一激光位移传感器,扫描大口径球面光学元件沿X、Y方向的两条截线,实时记录三维位移台的坐标位置,以及第一激光位移传感器采集的相对距离d1;在X方向上,d1取得最小值时,对应的三维位移台X轴坐标记为X1;在Y方向上,d1取得最小值时,对应的三维位移台Y轴坐标记为Y1;(X1,Y1)为第一激光位移传感器的定标位置;

(1-5)重复步骤(1-2)至步骤(1-4)所述方法,获得第二激光位移传感器的定标位置(X2,Y2)、第三激光位移传感器的定标位置(X3,Y3)、第四激光位移传感器的定标位置(X4,Y4);

(1-6)将三维位移台移动至坐标位置((X1+X2)/2,(Y1+Y3)/2),此时四台激光位移传感器的中心点与大口径球面光学元件的轴心线重合;

(1-7)将四台激光位移传感器采集的相对距离d1、d2、d3、d4置为0,完成四台激光位移传感器初始位置定标。

5.根据权利要求1所述的大口径球面光学元件球心和曲率半径测量方法,其特征在于,步骤(2)中,所述竖直放置姿态为球面光学元件的光轴平行于水平面放置。

6.根据权利要求1所述的大口径球面光学元件球心和曲率半径测量方法,其特征在于,步骤(5)中,球心坐标(xc,yc,zc)和曲率半径r的计算方式如下:以三维位移台的XYZ轴为基准坐标轴,原点0位于三维位移台XYZ轴的机械起始点;第一激光位移传感器对应的球面采样点记为M,位于右上方;第二激光位移传感器对应的球面采样点记为N,位于右下方;第三激光位移传感器对应的球面采样点记为P,位于左下方;第四激光位移传感器对应的球面采样点记为Q,位移左上方;坐标分别记为(xM,yM,zM)、(xN,yN,zN)、(xP,yP,zP)、(xQ,yQ,zQ);球心坐标记为(xc,yc,zc),曲率半径记为r;

根据初始位置定标结果和当前三维位移台坐标(X0,Y0),获得:

而zM=d1、zN=d2、zP=d3、zQ=d4,通过下

式:

联立并解出xc,yc,zc与r。