欢迎来到知嘟嘟! 联系电话:13336804447 卖家免费入驻,海量在线求购! 卖家免费入驻,海量在线求购!
知嘟嘟
我要发布
联系电话:13336804447
知嘟嘟经纪人
收藏
专利号: 2020101030387
申请人: 浙江广厦建设职业技术学院
专利类型:发明专利
专利状态:已下证
专利领域: 加工水泥、黏土或石料
更新日期:2023-08-24
缴费截止日期: 暂无
价格&联系人
年费信息
委托购买

摘要:

权利要求书:

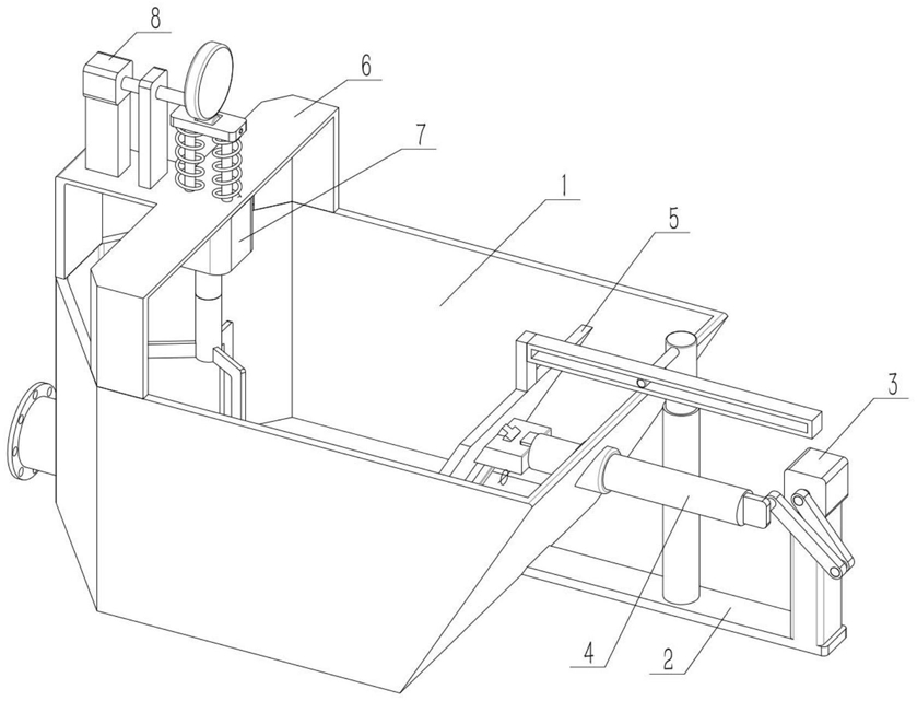
1.一种循环搅拌混凝土搅拌机,包括电机Ⅱ(7)、主轴(705)、搅拌叶(706)和捣叶(707),其特征在于:所述电机Ⅱ(7)的输出轴与主轴(705)固接,主轴(705)的下侧设有搅拌叶(706),搅拌叶(706)的下端固接捣叶(707),捣叶(707)的横截面积大于搅拌叶(706)与捣叶(707)连接处的横截面积,搅拌叶(706)在搅拌制备混凝土时可带动捣叶(707)上下运动,捣叶(707)运动的最低位置可达制备混凝土的底部。

2.根据权利要求1所述的循环搅拌混凝土搅拌机,其特征在于:该循环搅拌混凝土搅拌机还包括加工箱(1)、机架(6)、复位杆(701)、压缩弹簧(702)和平板(703),所述加工箱(1)的上端固接机架(6),电机Ⅱ(7)的上端固接两个复位杆(701),两个复位杆(701)滑动连接在机架(6)上,平板(703)固接在两个复位杆(701)的上端,压缩弹簧(702)位于平板(703)和机架(6)之间,通过控制平板(703)的上下运动带动搅拌叶(706)进行上下运动。

3.根据权利要求2所述的循环搅拌混凝土搅拌机,其特征在于:该循环搅拌混凝土搅拌机还包括基座Ⅱ(601)、带座轴承(602)、轮(704)、电机Ⅲ(8)和偏心轮(801),所述基座Ⅱ(601)固接在机架(6)上,电机Ⅲ(8)固接在基座Ⅱ(601)上,电机Ⅲ(8)的输出轴转动连接在带座轴承(602)上,偏心轮(801)的偏心位置处与电机Ⅲ(8)的输出轴固接,偏心轮(801)与轮(704)接触,轮(704)转动连接在平板(703)上,通过偏心轮(801)的转动带动轮(704)上下运动实现平板(703)的上下运动。

4.根据权利要求3所述的循环搅拌混凝土搅拌机,其特征在于:该循环搅拌混凝土搅拌机还包括套管(101)、基板(2)、基座Ⅰ(201)、电机Ⅰ(3)、连杆Ⅰ(301)、连杆Ⅱ(302)、传动杆(4)、连接部(401)和推搅板(5),所述套管(101)设置在加工箱(1)的右端,基板(2)固接在加工箱(1)下端的右端,基座Ⅰ(201)固接在基板(2)上,电机Ⅰ(3)固接在基座Ⅰ(201)的上端,电机Ⅰ(3)的输出轴与连杆Ⅰ(301)的一端固接,连杆Ⅰ(301)的另一端与连杆Ⅱ(302)的一端铰接,连杆Ⅱ(302)的另一端与连接部(401)铰接,连接部(401)与传动杆(4)的右端固接,传动杆(4)的左端安装推搅板(5),传动杆(4)滑动连接在套管(101)内,搅拌叶(706)设置在加工箱(1)的左侧,推搅板(5)设置在加工箱(1)内部的右侧。

5.根据权利要求4所述的循环搅拌混凝土搅拌机,其特征在于:该循环搅拌混凝土搅拌机还包括电动推杆(202)、导杆(203)、限导部(402)、滑槽(403)、限导条(502)、连接部(503)和带直槽口架(504),所述电动推杆(202)固接在基板(2)上,电动推杆(202)的活动端上转动连接导杆(203),限导部(402)固接在传动杆(4)的左端,滑槽(403)设置在限导部(402)的左端,限导条(502)设置在推搅板(5)的右端,推搅板(5)通过限导条(502)滑动连接在滑槽(403)内实现安装在传动杆(4)的左端,连接部(503)固接在推搅板(5)的上端,带直槽口架(504)固接在连接部(503)的右端,导杆(203)插滑在带直槽口架(504)内。

6.根据权利要求5所述的循环搅拌混凝土搅拌机,其特征在于:该循环搅拌混凝土搅拌机还包括增稳部(104)和配合槽(501),所述增稳部(104)固接在加工箱(1)内部的下端,配合槽(501)设置在推搅板(5)的下端,推搅板(5)处于最低位置时通过配合槽(501)滑动连接在增稳部(104)上。

7.根据权利要求6所述的循环搅拌混凝土搅拌机,其特征在于:该循环搅拌混凝土搅拌机还包括收缩面(102),所述加工箱(1)内部的左镜像对称设有两个收缩面(102),两个收缩面(102)的间距向左递减。

8.根据权利要求7所述的循环搅拌混凝土搅拌机,其特征在于:所述推搅板(5)前后的宽度小于加工箱(1)内部前后的宽度。

9.根据权利要求8所述的循环搅拌混凝土搅拌机,其特征在于:所述出料管(103)设置在加工箱(1)的左端且位于两个收缩面(102)之间。

10.根据权利要求7所述的循环搅拌混凝土搅拌机,其特征在于:所述搅拌叶(706)位于两个收缩面(102)之间,搅拌叶(706)的形状为L型,搅拌叶(706)周向均匀设有三个,三个搅拌叶(706)由内至外设置。