欢迎来到知嘟嘟! 联系电话:13336804447 卖家免费入驻,海量在线求购! 卖家免费入驻,海量在线求购!
知嘟嘟
我要发布
联系电话:13336804447
知嘟嘟经纪人
收藏
专利号: 2020100993255
申请人: 陈美君
专利类型:发明专利
专利状态:已下证
专利领域: 手动切割工具;切割;切断
更新日期:2023-10-12
缴费截止日期: 暂无
价格&联系人
年费信息
委托购买

摘要:

权利要求书:

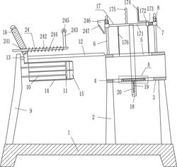
1.一种西瓜快速切块机,包括有底座(1)、支腿(2)、圆筒(3)和支板(9),底座(1)顶部右侧固接有两个支腿(2),两个支腿(2)顶端之间固接有圆筒(3),支板(9)安装于底座(1)顶部左侧,其特征是,还包括有导向部件、切块机构和切割装置(17),圆筒(3)底部左右两侧都开有可使西瓜皮掉落的出料口(4),圆筒(3)顶部中间开有起导向作用的开口(5),圆筒上设有导向部件,导向部件上设有切割装置(17),切割装置(17)用于对西瓜两端进行切除,导向部件用于对切割装置(17)上下运动进行导向,切割装置(17)位于圆筒(3)上方与开口(5)配合,支板(9)上设有切块机构,所述切块机构用于对西瓜进行切块。

2.如权利要求1所述的一种西瓜快速切块机,其特征是,所述导向部件包括有竖杆(6)、第一导套(7)和第一弹簧(8),圆筒(3)外顶部左右两侧都固接有竖杆(6),竖杆(6)上滑动式的设有第一导套(7),第一导套(7)顶部与竖杆(6)上部之间绕接有第一弹簧(8),左右两侧第一导套(7)之间与切割装置(17)连接。

3.如权利要求2所述的一种西瓜快速切块机,其特征是,包括有横杆(10)和推块(11),支板(9)右侧面上部均匀间隔的安装有与切块机构配合的横杆(10),横杆(10)右端固接有可将残留西瓜块推出的推块(11)。

4.如权利要求3所述的一种西瓜快速切块机,其特征是,所述切块机构包括有第一导杆(12)、第二导套(13)、筒体(14)、刀片(15)和握杆(16),支板(9)右侧面上部固接有第一导杆(12),第一导杆(12)上滑动式的设有第二导套(13),第二导套(13)顶部固接有握杆(16),第二导套(13)底部固接有筒体(14),筒体(14)与圆筒(3)配合,筒体(14)内右部均匀间隔的安装有至少四个可将西瓜切块的刀片(15)。

5.如权利要求4所述的一种西瓜快速切块机,其特征是,切割装置(17)包括有固定杆(171)、活动套(172)、第二弹簧(173)、L型拉板(174)、把手(175)和切刀(176),左右两侧第一导套(7)内侧面中部之间固接有固定杆(171),固定杆(171)右部滑动式的设有活动套(172),活动套(172)顶部固接有L型拉板(174),活动套(172)右侧面与右侧第一导套(7)左侧面之间连接有第二弹簧(173),第二弹簧(173)套在固定杆(171)上,活动套(172)底部中间与固定杆(171)底部左侧都固接有可将西瓜两端切除的切刀(176),切刀(176)底端位于开口(5)内,把手(175)安装于固定杆(171)顶部左侧,把手(175)与L型拉板(174)配合。

6.如权利要求5所述的一种西瓜快速切块机,其特征是,还包括有L型板(18)、活动杆(19)、第三弹簧(20)和压板(23),固定杆(171)后侧面中部固接有L型板(18),L型板(18)位于圆筒(3)后侧,圆筒(3)外底部中间开有起导向作用的圆孔(21),圆筒(3)内底部中间开有凹槽(22),凹槽(22)与圆孔(21)内连通,圆孔(21)内设有与L型板(18)配合的活动杆(19),活动杆(19)顶端固接有可将西瓜压住的压板(23),压板(23)位于凹槽(22)内,活动杆(19)下部与圆筒(3)外底部之间绕接有第三弹簧(20)。

7.如权利要求6所述的一种西瓜快速切块机,其特征是,还包括有可使压板(23)将西瓜压住的驱动机构(24),驱动机构(24)包括有第二导杆(242)、支杆(243)、第四弹簧(244)、接触轮(245)和楔形块(246),左侧第一导套(7)左侧面固接有楔形块(246),楔形块(246)的斜面开有起导向作用的导向槽(247),握杆(16)下部横向开有导孔(241),导孔(241)内设有第二导杆(242),第二导杆(242)右部与握杆(16)右侧面下部之间绕接有第四弹簧(244),支杆(243)安装于第二导杆(242)顶部右侧,支杆(243)顶端转动式的设有与导向槽(247)配合的接触轮(245)。

我要求购
我不想找了,帮我找吧
您有专利需要变现?
我要出售
智能匹配需求,快速出售