欢迎来到知嘟嘟! 联系电话:13095918853 卖家免费入驻,海量在线求购! 卖家免费入驻,海量在线求购!
知嘟嘟
我要发布
联系电话:13095918853
知嘟嘟经纪人
收藏
专利号: 202010091359X
申请人: 山东建筑大学
专利类型:发明专利
专利状态:已下证
专利领域: 测量;测试
更新日期:2025-10-18
缴费截止日期: 暂无
价格&联系人
年费信息
委托购买

摘要:

权利要求书:

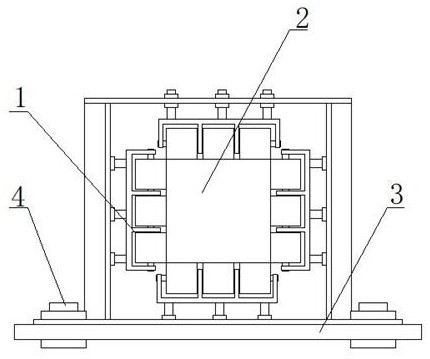
1.一种MTS液压伺服作动器用的防扭装置,包括一个固定在地基上的底座,其特征在于:还包括一个U形支撑架,U形支撑架由两个侧向板和一个顶板焊接构成,两个侧向板远离顶板的一端均焊接固定在底座上,U形支撑架和底座配合围绕形成矩形通道,矩形通道的四周侧壁上均安装有轮压装置,轮压装置由组合板、滚轮和滚轴组成,滚轮通过滚轴呈阵列式的转动安装在组合板上,滚轮其中一侧凸出于组合板外形成支撑MTS液压伺服作动器加载头的支撑面,四个轮压装置的支撑面配合夹紧MTS液压伺服作动器加载头以限制其转动,轮压装置在垂直其对应支撑面方向上还设置有若干调节连接件,调节连接件的其中一端固定在组合板上,调节连接件的另一端安装在矩形通道的侧壁上,调节连接件由螺栓杆和两个螺母组成,螺栓杆的其中一端固定在组合板上挖设的螺纹槽内,螺栓杆的另一端贯穿矩形通道侧壁上开设的通孔,两个螺母分别位于矩形通道侧壁两侧,通过两个螺母拧设在螺栓杆上将调节连接件固定在矩形通道侧壁上,调整调节连接件上两个螺母的位置改变轮压装置支撑面与矩形通道侧壁的间距以适应不同规格的MTS液压伺服作动器加载头。

2.根据权利要求1所述的一种MTS液压伺服作动器用的防扭装置,其特征在于:所述的侧向板远离矩形通道一侧的外壁上固定有若干等间距分布的竖向加强筋板和若干等间距分布的横向加强筋板,竖向加强筋板、横向加强筋板和侧向板为一体结构。

3.根据权利要求1所述的一种MTS液压伺服作动器用的防扭装置,其特征在于:所述的底座上开设有地锚孔,通过在地锚孔内穿设地锚螺栓将底座固定在地基上。

4.根据权利要求1所述的一种MTS液压伺服作动器用的防扭装置,其特征在于:所述的轮压装置通过槽形轮压装置安装在矩形通道四周的侧壁上,槽形轮压装置包括基板,基板中间开设有安装槽,轮压装置固定安装在安装槽内且轮压装置上的调节连接件贯穿基板安装在矩形通道的侧壁上,基板上位于安装槽两侧均设置有辅助轮压装置,辅助轮压装置包括辅助滚轮和辅助滚轴,辅助滚轮通过辅助滚轴转动安装在垂直基板凸起的肋板上,辅助滚轮和滚轮配合形成支撑MTS液压伺服作动器加载头的支撑面。

5.根据权利要求4所述的一种MTS液压伺服作动器用的防扭装置,其特征在于:所述的两个侧向板和顶板上均安装有用于加固辅助轮压装置的辅助调节连接件,辅助调节连接件包括L型连接板和Z型加劲板,L型连接板固定在矩形通道对应位置的侧壁上,Z型加劲板的其中一端通过固定螺栓固定在L型连接板,Z型加劲板的另一端通过螺栓固定在基板上。

6.L型连接板上沿调节连接件长度方向设置有若干间隔设置的固定螺栓安装孔,通过固定螺栓穿设在不同的固定螺栓安装孔内以适应调节连接件调整后将L型连接板和Z型加劲板固定在一起。

我要求购
我不想找了,帮我找吧
您有专利需要变现?
我要出售
智能匹配需求,快速出售