欢迎来到知嘟嘟! 联系电话:13336804447 卖家免费入驻,海量在线求购! 卖家免费入驻,海量在线求购!
知嘟嘟
我要发布
联系电话:13336804447
知嘟嘟经纪人
收藏
专利号: 2019224984161
申请人: 上海奉业包装机械有限公司
专利类型:实用新型
专利状态:已下证
专利领域: 输送;包装;贮存;搬运薄的或细丝状材料
更新日期:2025-03-24
缴费截止日期: 暂无
价格&联系人
年费信息
委托购买

摘要:

权利要求书:

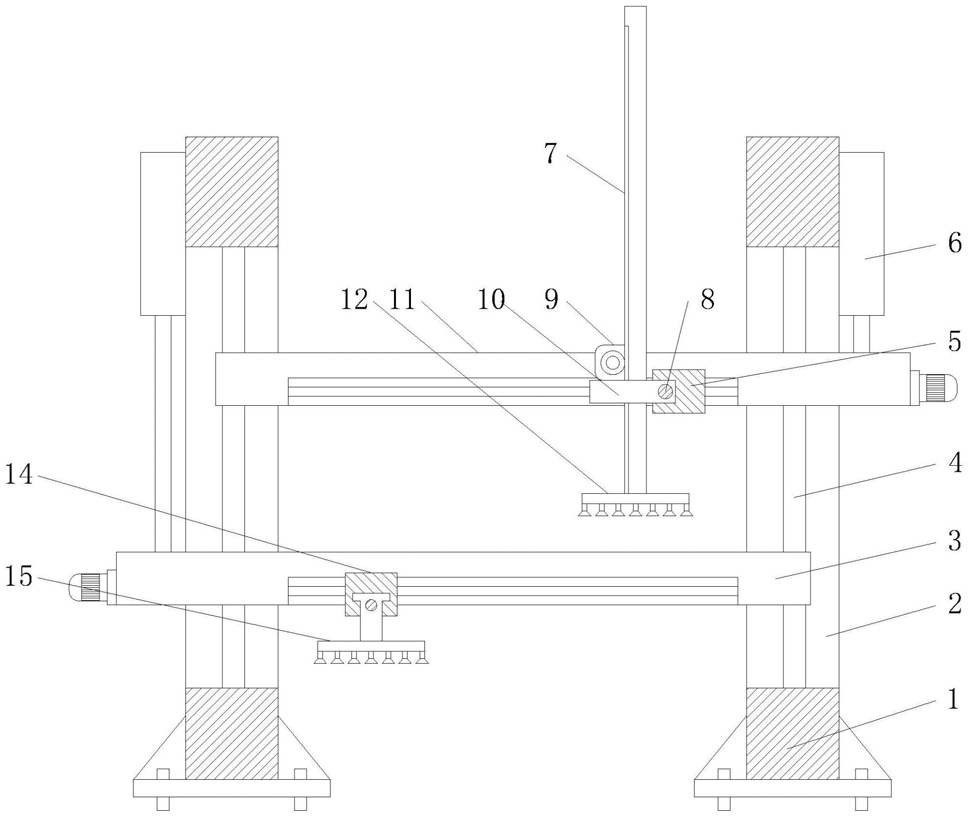
1.一种坐标码垛机,包括两个立柱(1),其特征在于:两个所述立柱(1)上均开设有滑槽(2),两个所述滑槽(2)的内壁共同滑动连接有第一横坐标杆(3)和第二横坐标杆(11),且第二横坐标杆(11)位于第一横坐标杆(3)的上方,两个所述立柱(1)的侧壁均固定连接有电动推杆(6),两个所述电动推杆(6)的伸缩端分别与第一横坐标杆(3)和第二横坐标杆(11)的一端顶部固定连接,所述第一横坐标杆(3)和第二横坐标杆(11)上分别通过驱动机构滑动连接有第一纵坐标杆(14)和第二纵坐标杆(5),所述第一纵坐标杆(14)的底部通过驱动机构滑动连接有第一夹具(15),所述第二纵坐标杆(5)的侧壁通过驱动机构滑动连接有安装板(10),所述安装板(10)上滑动套接有竖直方向设置的齿条(7),所述齿条(7)的底部固定连接有第二夹具(12),所述安装板(10)上还固定连接有第一伺服电机(9),所述第一伺服电机(9)的输出轴上固定套接有齿轮,所述齿轮与齿条(7)啮合。

2.根据权利要求1所述的一种坐标码垛机,其特征在于:多个所述驱动机构均包括第二伺服电机(16)和丝杆(8),所述第二伺服电机(16)的输出端与丝杆(8)固定连接,多个所述第二伺服电机(16)分别与第一横坐标杆(3)、第二横坐标杆(11)、第一纵坐标杆(14)和第二纵坐标杆(5)的一端固定连接,多个所述丝杆(8)分别位于第一横坐标杆(3)、第二横坐标杆(11)、第一纵坐标杆(14)和第二纵坐标杆(5)的内部,且分别与第一纵坐标杆(14)、第二纵坐标杆(5)、第一夹具(15)和安装板(10)螺纹套接。

3.根据权利要求1所述的一种坐标码垛机,其特征在于:两个所述滑槽(2)的内壁均开设有限位槽(4),所述第一横坐标杆(3)和第二横坐标杆(11)的一端分别与两个限位槽(4)的内壁滑动连接。