欢迎来到知嘟嘟! 联系电话:13336804447 卖家免费入驻,海量在线求购! 卖家免费入驻,海量在线求购!
知嘟嘟
我要发布
联系电话:13336804447
知嘟嘟经纪人
收藏
专利号: 2019224722370
申请人: 苏州越洋电气有限公司
专利类型:实用新型
专利状态:已下证
专利领域: 其他类目不包含的电技术
更新日期:2024-07-31
缴费截止日期: 暂无
价格&联系人
年费信息
委托购买

摘要:

权利要求书:

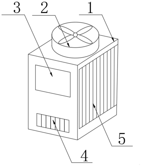
1.一种同步电动机励磁柜,包括柜体(1),其特征在于:所述柜体(1)的顶端通过电线与通风扇(2)电性连接,所述柜体(1)的表面固定安装有控制面板(3),所述柜体(1)表面的底部固定安装有降温窗(4),所述柜体(1)的两侧固定安装有散热窗(5),所述柜体(1)内腔的底部固定安装有动力箱(6),所述动力箱(6)内腔的底部固定安装有电机底座(7),所述电机底座(7)的顶部固定安装有电机(8),所述电机(8)的两侧固定安装有电线(12),所述电线(12)的端部固定连接有散热风扇(9),所述柜体(1)内腔的顶部开设有通风口(10),所述柜体(1)的顶部固定安装有防尘罩(11)。

2.根据权利要求1所述的一种同步电动机励磁柜,其特征在于:所述柜体(1)的表面固定安装有箱门(101),所述箱门(101)的一侧固定安装有铰链(102),所述铰链(102)的一侧固定安装有锁扣(103)。

3.根据权利要求1所述的一种同步电动机励磁柜,其特征在于:所述柜体(1)的侧面固定安装有散热窗(5),所述散热窗(5)的表面固定安装有防尘滤网(51),所述防尘滤网(51)的外侧固定安装有螺丝(52)。

4.根据权利要求1所述的一种同步电动机励磁柜,其特征在于:所述控制面板(3)表面的顶部固定安装有显示屏(31),所述显示屏(31)的底部固定安装有指示灯(32),所述指示灯(32)的底部固定安装有控制键(33)。

5.根据权利要求1所述的一种同步电动机励磁柜,其特征在于:所述通风口(10)的外侧通过电线电性连接有通风扇(2),所述通风扇(2)的外侧固定安装有防尘罩(11)。

6.根据权利要求1所述的一种同步电动机励磁柜,其特征在于:所述降温窗(4)的表面通过螺丝固定安装有防尘滤网。

7.根据权利要求2所述的一种同步电动机励磁柜,其特征在于:所述铰链(102)的数量有两个,两个所述铰链(102)对称分布于箱门(101)表面的一侧。