欢迎来到知嘟嘟! 联系电话:13336804447 卖家免费入驻,海量在线求购! 卖家免费入驻,海量在线求购!
知嘟嘟
我要发布
联系电话:13336804447
知嘟嘟经纪人
收藏
专利号: 2019223940522
申请人: 中山市中豪电气设备有限公司
专利类型:实用新型
专利状态:已下证
专利领域: 发电、变电或配电
更新日期:2024-02-23
缴费截止日期: 暂无
价格&联系人
年费信息
委托购买

摘要:

权利要求书:

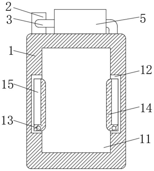
1.一种提高安全性的配电箱,包括箱体(1),其特征在于:所述箱体(1)的上端面一侧固定安装有水泵(2),所述水泵(2)的两侧固定安装有水管(3),所述水管(3)的一端位于箱体(1)内部开设的冷却腔(4)的内部下端,所述水管(3)的另一端固定安装于箱体(1)上端面中部固定安装的散热器(5)的一侧,所述散热器(5)的另一侧连通于冷却腔(4)的上端。

2.根据权利要求1所述的一种提高安全性的配电箱,其特征在于:所述箱体(1)的侧面开设有安装槽(11)。

3.根据权利要求2所述的一种提高安全性的配电箱,其特征在于:所述安装槽(11)的两侧均开设有放置槽(12),所述放置槽(12)的下端侧面固定安装有横杆(13)。

4.根据权利要求3所述的一种提高安全性的配电箱,其特征在于:所述横杆(13)的侧面转动套接有放置板(14),所述放置板(14)的一侧开设有容纳槽(15)。

5.根据权利要求4所述的一种提高安全性的配电箱,其特征在于:所述放置板(14)的侧面上端两侧均固定安装有弹性卡块(16),所述弹性卡块(16)滑动卡接于放置槽(12)侧面上端开设的卡槽(17)的内部。

我要求购
我不想找了,帮我找吧
您有专利需要变现?
我要出售
智能匹配需求,快速出售